40″ X 48″ ALUMINUM UTILITY TRAILER KIT

Owner’s Manual
WARNING:
Read carefully and understand all ASSEMBLY AND OPERATION INSTRUCTIONS before operating. Failure to follow the safety rules and other basic safety precautions may result in serious personal injury.
Item# 49804
40″ X 48″ ALUMINUM UTILITY TRAILER KIT Owner’s Manual
Thank you very much for choosing an Ultra-Tow Product! For future reference, please complete the owner’s record below:
Serial Number/Lot Date Code: _______________ Purchase Date: _______________ Save the receipt, warranty and these instructions. It is important that you read the entire manual to become familiar with this product before you begin using it.
This utility trailer kit is designed for certain applications only. Northern Tool and Equipment cannot be responsible for issues arising from modification or use of this product in an application for which it was not designed. We strongly recommend that this product not be modified and/or used for any application other than that for which it was designed.
For technical questions, please call 1-800-222-5381.
Intended Use
The utility trailer kit, with its 40″ x 48″ bed and 1060lb. payload capacity, is ideal for hauling mulch, dirt, machinery such as pumps, generators, lawn mowers, or snow blowers or other similar-sized cargo. The trailer includes fenders to prevent cargo damage from rocks and debris, and lights make the trailer street legal. Meets all DOT requirements.
Technical Specifications
| Property | Specifications |
| Tires | 4.80-12 Tubeless |
| Wheel | 4 Bolt Demountable |
| Bed Dimensions | 40 in. x 48 in. |
| Ball/Coupler Size | 1-7/8 in. |
| Load Capacity | 1,060 lbs. max |
| GAWR | 1,200 lbs. with 4.80-12 Tires at 60 PSI Cold |
| GVWR | 1,200 lbs. |
| Dimensions, Assembled | 84in.L x 52-1/2in.W x 22in.H |
| Shipping Weight | 134 lbs. |
Important Safety Information
WARNING:
- Read and understand all instructions. Failure to follow all instructions may result in serious injury.
- The warnings, cautions, and instructions in this manual cannot cover all possible conditions
or situations that could occur. Exercise common sense and caution when using this tool. Always be aware of the environment and ensure that the tool is used in a safe and responsible manner. - DO NOT allow persons to operate or assemble this product until they have read this manual and have developed a thorough understanding of how the product works.
- DO NOT modify the product in any way. Unauthorized modification may impair the function and/or safety and could affect the life of the product. There are specific applications for which the product was designed.
- Use the right tool for the job. DO NOT attempt to force a small equipment to do the work of larger industrial equipment. There are certain applications for which this equipment was designed. It will do the job better and more safely at the capacity for which it was intended. DO NOT use this equipment for a purpose for which it was not intended.
- Industrial or commercial applications must follow OSHA requirements.
WARNING: WORK AREA SAFETY
- Inspect the work area before assembly. Keep work area clean, dry, free of clutter, and well lit. Cluttered, wet, or dark work areas can result in injury.
- Do not assemble the trailer where there is a risk of causing a fire or an explosion; e.g., in the
presence of flammable liquids, gases, or dust. Assembly can create sparks, which may ignite the dust or fumes. - Keep children and bystanders away from the work area while assembling the trailer. Do not allow children to play on the trailer.
- Be aware of all power lines, electrical circuits, water pipes, and other mechanical hazards in your assembly area. Some of these hazards may be below the work surface hidden from your view and may cause personal harm or property damage if unintentionally contacted.
PERSONAL SAFETY
- Stay alert; watch what you are doing, and use common sense when assembling and towing the trailer. Do not assemble or tow with the trailer while you are tired or under the influence of drugs, alcohol, or medication. A moment of inattention may result in serious personal injury.
- Do not wear loose clothing, dangling objects, or jewelry during assembly. Loose clothes, jewelry, or long hair can be caught between parts.
- During assembly, use ANSI-approved safety goggles or safety glasses with side shields. Use a dust mask in dusty work conditions. Also use non-skid safety shoes, gloves, and hearing protection when appropriate.
- Do not overreach. Keep proper footing and balance at all times.
Specific Operation Warnings
WARNING:
- Before each use, always examine the trailer for proper tire condition and air pressure,
damaged Tail Lights, damaged Side Running Lights, loose bolts and nuts, structural cracks, bends and any other condition that may affect its safe operation. Do not use the Trailer even if minor damage appears. - Before each use, always attach the Safety Chains of the trailer to the towing vehicle. Make sure the Safety Chains are attached to the towing vehicle with the equal length at each side. Do not allow the Safety Chains to drag on the ground.
- Always check to make sure the payload being transported properly and safely secured in the trailer. Load the Trailer evenly from side to side with 60% of the load forward of the Axle.
- Make sure the towing vehicle is capable of towing this trailer and its payload. Make sure the hitch on the towing vehicle is capable of towing the Trailer and its payload. The towing capacity of the hitch is typically stamped on the hitch drawbar.
- Make sure the hitch coupler and the vehicle’s Ball Hitch (not included) are of equal mating size (2in.) and are rated equal to or greater than the weight of the trailer and its payload.
- Do not exceed 45 miles per hour when towing the trailer. Excess speed is a major cause of vehicle-trailer accidents.
- The Tail Light Bulbs supplied with this trailer are for a 12 Volt DC electrical system only. Do not attempt to power the Light Bulbs with any other type or voltage electrical current.
- Whenever possible, park the trailers on a flat, level, paved surface and chock both tries to keep the trailer from accidently moving.
- Before attempting to fold up the trailer, make sure it is on a flat, level, solid surface and chock both tires.
- DO NOT exceed the 1715 pound weight capacity. · DO NOT allow anyone to ride in the towed vehicle or on the trailer. · The coupler must be properly secured to the hitch ball. After assembly and attachment, pull up and down on the hitch coupler to make sure the hitch ball is snug in the hitch coupler. If the coupler is not secured properly, it could come loose while the trailer is in motion, causing property damage, serious personal injury or even death.
- Make wide turns when towing a loaded trailer, avoiding both sharp turns and U-turns. Turning too sharply can cause damage to the trailer and/or the tow vehicle.
Assembly Instructions
Warning:
- Beams have sharp edges. Wear work gloves to prevent cuts on hands and fingers.
- Wear ANSI Z87.1 compliant safety goggles.
Read the following instructions step-by-step for easy assembly according to the complete parts and hardware list. Also be sure to read the licensing notice at the end.
NOTE:
- The trailer parts are called out by standing at the rear of the trailer looking forward toward the coupler (left & right).
- Do not fully tighten any nuts and bolts until the entire trailer is assembled. Installing the
plywood deck (not included) is the last step after tightening all the nuts and bolts.
1. Open the boxes and check the contents of the two boxes to ensure that all parts are present:
Box 1
1 hardware kit
2 leaf springs
2 wheels
2 hubs
2 fenders
1 coupler
2 fender brackets
1 safety chain
Box 2
1 tow bar
2 side rails
3 cross members
1 axle
STEP 1 Parts Needed:
Part No. 23, 24, 25, 2, 1,
Description
| Part No. | Description | Qty. | |
| 23 | M10x25 Bolts | 12 | Set A |
| 24 | 10 Flat Washers | 12 | |
| 25 | M10 Nylon Nuts | 12 | |
| 2 | Cross Members | 3 | |
| 1 | Side Rails | 2 |
2. Lay out the three cross members (2) and the side rails (1) as shown below. NOTE: The center holes on the cross members should be facing up and the `front’ cross member is reversed (flanges toward the rear).There are 2 small holes with one regular hole on the wall of side rail must be toward the front.
3. Attach the side rails with the cross members using M10*25 bolts, ¨10 flat washers and M10 nylon nuts. Do not fully tighten the nuts yet.

STEP 2 Parts Needed:
| Part No. | Description | Qty. | |
| 23 | M10x25 Bolts | 12 | Set A |
| 24 | 10 Flat Washers | 12 | |
| 25 | M10 Nylon Nuts | 12 | |
| 3 | Towbar | 1 | |
| 4 | Front Spring Hangers, Shorter | 2 | |
| 5 | Rear Spring Slide Plates, Longer | 2 |
4. Attach the towbar (3) to the front and middle cross members using M10*25 bolts, ¨10 flat washers and M10 nylon nuts, noting the bolt direction shown in the figure below.
5. Attach the front and rear spring hangers (4, 5), noting that the shorter hangers (4) belong toward the front and the longer hangers (5) in the back, using M10*25 bolts, ¨10 flat washers and M10 nylon nuts.

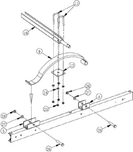
STEP 3 Parts Needed:
| Part No. | Description | Qty. | |
| 9 | Slipper Springs | 2 | |
| 26 | M14x80 Bolts | 4 | Set B |
| 27 | 14 Flat Washers | 4 | |
| 28 | M14 Nylon Nuts | 4 | |
| 10 | Axle | 1 | |
| 12 | M10 U-Bolts | 4 | |
| 11 | Spring Plates | 2 | Set C |
| 24 | 10 Flat Washers | 8 | |
| 25 | M10 Nylon Nuts | 8 |
6. Put the slipper springs (9) on the spring hangers making sure the spring eyes are forward (see figure below). Secure the springs with M14*80 bolts, ¨14 flat washers and M14nylon nuts (bolt set B), noting the bolt direction shown in the figure below.
7. Place the axle (10) on top of the slipper springs. Place the M10 U-bolts down over the axel
and on either side of the slipper springs then through the holes in the spring plates and fasten with¨10 flat washers and M10 nylon nuts from bolt set C.

STEP 4 Parts Needed:
| Part No. | Description | Qty. |
| 13 | Hub Assembly | 2 |
| 14 | Tire/Wheel Assembly | 2 |
| 15 | Bearings | 4 |
| 16 | 3/4” Flat Washers | 2 |
| 17 | Castle Nuts | 2 |
| 18 | Dust Caps | 2 |
| 19 | Cotter Pins | 2 |
| 29 | M12x1.25 Lug Nuts | 8 |
| 34 | Grease Fittings | 2 |
8. Remove the dust caps (18) and take out the cotter pin. 9. Carefully slide the hub assemblies (13) onto the axle ends followed by the 3/4″ flat washers
(16) then put on the castle nuts (17) as shown below. Tighten the nuts snuggly then back them out slightly so the hubs can turn freely. 10. Insert the cotter pins and bend them so they stay in place. 11. Fill the dust caps (18) 1/4″ full of automotive grease and push them firmly on the hubs. 12. Place the tire/wheel assemblies (14) on the hubs making sure the air valves are on the
outside of the tires. Apply four lug nuts (29) per tire and tighten them to 90 ft-lbs.
Double-check that the axle is perpendicular to the side rails.

STEP 5 Parts Needed:
| Part No. | Description | Qty. | Part No. | Description | Qty. | |
| 20 | Coupler | 1 | 8L | Left Tail Light | 1 | |
| 21 | Safety Chain | 1 | 8R | Right Tail Light | 1 | |
| 30 | M10x85 Bolts | Set D | 2 | 7 | License Plate bracket | 1 |
| 23 | M10x25 Bolts | 8 | 22 | Side Running Lights | 2 | |
| 24 | 10 Flat Washers | 10 | 31 | Self-Tapping Screw | 4 | |
| 25 | M10 Nylon Nuts | 10 | 32 | M6 Padded Nuts | 4 | |
| 6L | Left Tail Light Bracket | 1 | 33 | Fenders | 2 | |
| 6R | Right Tail Light Bracket | 1 | ||||
13. With assistance, turn trailer assembly over, right-side-up.
14. Bolt the coupler (20) to the tow bar with M10*90 hex bolts, ¨ 10flat washers and M10 nylon
nuts then attach the safety chain to the coupler with bolt M10*90 by putting the bolt through the center link of the chain (21), then lock with ¨ 10flat washers and M10 nylon nuts. NOTE: Make sure the safety chain is the same length on each side.
15. Remove the left tail light (8L) from the light bracket (6L) then attach the bracket to the left side rail with M10*25 bolts, ¨ 10flat washers and M10 nuts as shown below. Install the left tail light and the license plate bracket (7) (with clear lens facing down) with the M6 nuts (32)
on the light.
16. Remove the right tail light (8R) from the light bracket (6R) then attach the bracket to the right side rail with M10*25 bolts, ¨ 10flat washers andM10 nuts as in the previous step. Install the right tail light with M6 nuts (32) on the light.
17. Remove the lenses of the side running lights (22), feed the wire through the hole in the
center of the light and the center hole in the frame and attach the lights to the frame with
self-tapping screws (31). Replace the lenses on the lights. 18. Attach the fenders (33) to the side rails using M10*25 bolts, ¨ 10flat washers andM10 nuts.

STEP 6 Assembly Check
- Double-check the assembly to be sure all the steps were followed and all the parts are used.
Check that the frame, axle and wheels are square then fully tighten all bolts and nuts. - Do not remove the VIN sticker from the tow bar.
STEP 7 Wiring the Trailer
19. Install the 4-wire vehicle connector in the trunk area of the tow vehicle.
20. Position the connector plug near the hitch ball of the vehicle and arrange the wires as
shown in the diagram below.
21. Connect the white wire to the frame or body of the vehicle;
22. Attach the white ground wire at the plug end of the wiring harness to the small hole in the
tow bar with a self-tapping screw.
23. Leave about 18″ of wire beyond the coupler and arrange the wires on the inside of tow bar
and the front cross-member as shown in the diagram below. Push on the wire clips to hold the wires in place on the tow bar (see wire clip figure A and the `A’ locator symbols in the diagram).
24. From the tow bar/front cross-member point, split the yellow/brown and green/brown wires and arrange the yellow/brown wire along the left side and the green/brown wire along the right side. Push on the wire clips to hold the wires in place on the front cross-member (see the `A’ locator symbols on the cross-member in the diagram). Connect the wires to the lights in the following steps by stripping wires and taping connections.
25. Connect the wire leads from the side running lights to the brown wire on each side with the wire connectors. See connector figures D and E in the diagram. Use pliers to squeeze the connector closed.
26. Cut the yellow/brown and green/brown wires to appropriate lengths to go down the side rails to the tail lights and strip the wire ends by 3/4″.Push on the wire clips to hold the wires in place along the side rails (see the `A’ locator symbols on the side rails in the diagram).
27. Connect the tail lights according to figures B and C in the diagram and the following color code.
Left Side Yellow-yellow wire Brown- brown wire White- tighten with tail light bolt
Right Side Green-green wire Brown- brown wire White- tighten with tail light bolt

TRAILER LICENSING NOTICE: Some states may consider that this trailer kit is and specially constructed or a homemade vehicle for registration, licensing and/or titling purposes. The M.C.O. (Manufacturer’s Certificate of Origin) supplied with your trailer must be filled out and signed by the dealer transferring ownership to you. When licensing your trailer, you will need the signed M.C.O., a purchase invoice, cash register receipt, or bill of sale showing the purchase and retail sales tax or use tax collection by the retailer. Take these to your local Department of Motor Vehicles and upon payment of the appropriate State fees, you will be issued a title, registration and license plate (if required). Some states will require inspection of the assembled and finished trailer kit before issuing a title registration/license. If you require additional information or guidance on licensing or titling, please consult your State Department of Motor Vehicles.
Before Each Use Check for loose, damaged, or cracked parts on the trailer before each use. Carefully check that the trailer will operate properly and perform its intended function, including the tire condition and pressure (see Operating Instructions below). Replace damaged or worn parts immediately. Never use the trailer even if minor damage is present.
Operating Instructions
Plan your towing, and use the correct trailer for the job. Tools do a better and safer job when used in the manner for which they are designed.
TOW VEHICLE
- Make sure the tow vehicle is capable of towing the load.
- Excess speed is the second highest cause of car-trailer accidents. Recommended maximum
speed for all passenger cars towing trailers is 45 MPH.
HITCH, BALL, COUPLER
- Check that the hitch on the tow vehicle is capable of towing the trailer. The capability of the
hitch is normally stamped on the hitch bar and the capacity of the ball is stamped on the ball. - Make sure the coupler and the ball the same size (1-7/8 inch) and are rated equal to or
greater than the load. Only attach the proper size ball to the coupler for towing.
SAFETY CHAINS
- Always use safety chains.
- Check that the safety chains are attached to the tow vehicle with the same length on each side.
- Always cross the chains under the coupler and connect the safety chains to the tow vehicle frame.
- Do not allow the chains to drag on the ground.
LOADING
- Never overload the trailer. Maximum load is 1060 lbs.
- Trailer load size should not exceed trailer’s bed board size (40′ x 48′). · Load the trailer evenly from side to side with 60% of the load forward of the axle (see picture at right). It is important that the trailer coupler press down on the vehicle hitch, but not beyond the trailer capacity of 1060 lbs.
- Reduce the weight in the car trunk and rear seat areas by the amount of the hitch force from the trailer.
- It is unsafe and also against the law to carry passengers in any trailer.
LIGHTING
- Check lighting before each use and every 100 miles to be sure the stop, tail, and turn signals are working properly.
REPLACE ANY BROKEN LENSES, EFLECTORS, OR BULBS.
- Check the wires for good connections and possible fraying or wearing of insulation.
- Lights supplied with this trailer are for 12-volt DC systems only. Do not attempt to power the bulbs with any other type of voltage.
TIRES
- Check tires for wear, damage and proper inflation before each use and every 100 miles.
- Tire pressure should be kept at 60 PSI.
- Check and tighten the lug nuts. Torque to 85-90 ft.-lbs.
- Re-torque the lug nuts after the first 25, 50 and 100 miles and before each tow thereafter.
OPERATION
- Tighten the trigger lock on the coupler and hook the safety chains securely (see Safety
Chains above and Coupler Operation below).After assembly and attachment, pull up and down on the hitch coupler to make sure the hitch ball is snug in the hitch coupler. If the coupler is not secured properly, it could come loose while the trailer is in motion, causing property damage, serious personal injury or even death. - Know how to properly control your tow vehicle-trailer combination on the highway under all conditions. Remember the loaded weight of the trailer will increase your braking and stopping distances appreciably.
- DO NOT allow anyone to ride on the trailer.
- Make wide turns when towing a loaded trailer, avoiding both sharp turns and U-turns. Turning too sharply can cause damage to the trailer and/or the tow vehicle.
- CAUTION: Care must be taken when backing up the trailer; only back up the trailer on a straight path. The trailer could jackknife if allowed to turn off the straight path while backing up and possibly cause severe damage to the trailer and the tow vehicle.
- When towing a trailer over long distances, stop and check the tightness of all connections, lights, and running gear every 100 miles.
- Carry emergency flares, and a fire extinguisher if required for operation in your state.
- It is recommended to carry extra bulbs and fuses if you are towing the trailer at night or over any great distance. · Whenever possible, park the trailer on a flat, level, paved surface and chock both tries to keep the trailer from unexpectedly moving.
COUPLER OPERATION
- Temporarily remove the “R” pin and safety pin. Then, pull up on the trigger and lift up on the handle.
NOTE: To reduce friction between the hitch ball and coupler, apply a layer of heavy weight grease over the hitch ball. - With assistance, place the trailer coupler over the vehicle’s hitch ball and pull back on the trigger and push down on the handle until the trigger locks in the slot.
- Pull up and down on the coupler to make sure the hitch ball fits snuggly in the coupler. There should be no play between the hitch ball and coupler.
IMPORTANT: If there is play, tighten the adjustment nut (shown below, right) until no play is present after unlocking the handle, the nut retaining plate (holding the adjusting nut in place) needs to be pressed back while the nut is tightened. After the nut is tightened, the retaining plate needs to be fit in place against the flats of the nut to prevent it from moving. This adjustment should be done by two people. If the adjustment nut is too tight, the handle will not lock. After an adjustment of the nut, repeat steps 2 and 3 to properly attach the hitch and coupler. - Replace the safety pin and the “R” pin.

After Each Use Check for damaged or cracked parts on the trailer after each use, including the tire condition and pressure. This way replacement parts can be purchased and replaced before the next use. Wash off the trailer to prevent dirt and road grime from hardening on the components.
Maintenance
Maintain your trailer. It is recommended that the general condition of any tool be examined before it is used. Keep your tool in good repair by adopting a program of conscientious repair and maintenance including the following points:
- Use only identical replacement parts on the trailer. Parts that may be suitable for a different
trailer may create a risk of injury when used with this trailer. - Check and maintain the trailer, coupler, ball and hitch before each use and every 200 miles.
- To prevent bearing damage, disassemble and repack the wheel bearings with a good grade
of wheel bearing grease every 2000-3000 miles or yearly. If you do not know how to repack wheel bearing, take your trailer to a qualified service technician. - When servicing the trailer, check that the tire pressure is 60 PSI when the tires are cold. Refill the tire with air as needed. Store the trailer when it is not in use. Inspect the trailer for good working condition prior to storage and again before re-use.
Parts Diagram & parts list

| Part No. | Description | Q’ty | Part No. | Description | Q’ty |
| 1 | Side Rails | 2 | 18 | Dust Caps | 2 |
| 2 | Cross Members | 3 | 19 | Cotter Pins | 2 |
| 3 | Tow bar | 1 | 20 | Coupler | 1 |
| 4 | Front Spring Hangers Shorter | 2 | 21 | Safety Chain | 1 |
| 5 | Rear Spring Slide Plates Longer | 2 | 22 | Side Running Lights | 2 |
| 6L | Left Tail Light Bracket | 1 | 23 | M10x25Bolts | 32 |
| 6R | Right Tail Light Bracket | 1 | 24 | 10 Flat Washer | 42 |
| 7 | License Plate Brake | 1 | 25 | M10 Nylon Nuts | 42 |
| 8L | Left Tail Light | 1 | 26 | M14x80 Bolts | 4 |
| 8R | Right Tail Light | 1 | 27 | 14 Flat Washer | 4 |
| 9 | Slipper Springs | 2 | 28 | M14 Nylon Nuts | 4 |
| 10 | Axle | 1 | 29 | M12x1.25Lug Nuts | 8 |
| 11 | Spring Plates | 2 | 30 | M10x90 Bolts | 2 |
| 12 | M10 U-Bolts | 4 | 31 | M4x12Self Tapping Screw | 4 |
| 13 | Hub Assembly | 2 | 32 | M6 Padded Nuts | 4 |
| 14 | Tire/Wheel Assembly | 2 | 33 | Fenders | 2 |
| 15 | Bearings | 4 | 34 | Grease Fitting | 2 |
| 16 | 3/4″ Flat Washers | 2 | 35 | Wire | 1 |
| 17 | Castle Nuts | 2 |
Replacement Parts
- For replacement parts and technical questions, please call Customer Service at
1-800-222-5381. - Not all product components are available for replacement. The illustrations provided are a
convenient reference to the location and position of parts in the assembly sequence. - When ordering parts, the following will be required: Model Number, Serial Number/Lot Date Code, and Description.
- The distributor reserves the rights to make design changes and or improvements to product
lines and manuals without notice.
Limited Warranty
Northern Tool and Equipment Company, Inc. (“We” or ‘”Us”) warrants to the original purchaser only (“You” or “Your”) that the Ultra Tow product purchased will be free from material defects in both materials and workmanship, normal wear and tear excepted, for a period of one year from date of purchase. The foregoing warranty is valid only if the installation and use of the product is strictly in accordance with product instructions. There are no other warranties, express or implied, including the warranty of merchantability or fitness for a particular purpose. If the product does not comply with this limited warranty, Your sole and exclusive remedy is that We will, at our sole option and within a commercially reasonable time, either replace the product or product component without charge to You or refund the purchase price (less shipping). This limited warranty is not transferable.
Limitations on the Warranty
This limited warranty does not cover: (a) normal wear and tear; (b) damage through abuse, neglect, misuse, or as a result of any accident or in any other manner; (c) damage from misapplication, overloading, or improper installation; (d) improper maintenance and repair; and (e) product alteration in any manner by anyone other than Us, with the sole exception of alterations made pursuant to product instructions and in a workmanlike manner.
Obligations of Purchaser
You must retain Your product purchase receipt to verify date of purchase and that You are the original purchaser. To make a warranty claim, contact Us at 1-800-222-5381, identify the product by make and model number, and follow the claim instructions that will be provided. The product and the purchase receipt must be provided to Us in order to process Your warranty claim. Any returned product that is replaced or refunded by Us becomes our property. You will be responsible for return shipping costs or costs related to Your return visit to a retail store.
Remedy Limits
Product replacement or a refund of the purchase price is Your sole remedy under this limited warranty or any other warranty related to the product. We shall not be liable for: service or labor charges or damage to Your property incurred in removing or replacing the product; any damages, including, without limitation, damages to tangible personal property or personal injury, related to Your improper use, installation, or maintenance of the product or product component; or any indirect, incidental or consequential damages of any kind for any reason.
Assumption of Risk
You acknowledge and agree that any use of the product for any purpose other than the specified use(s) stated in the product instructions is at Your own risk.
Governing Law This limited warranty gives You specific legal rights, and You also may have other rights which vary from state to state. Some states do not allow limitations or exclusions on implied warranties or incidental or consequential damages, so the above limitations may not apply to You. This limited warranty is governed by the laws of the State of Minnesota, without regard to rules pertaining to conflicts of law. The state courts located in Dakota County, Minnesota shall have exclusive jurisdiction for any disputes relating to this warranty.
Distributed by Northern Tool + Equipment Co., Inc.
Burnsville, MN 55306 NorthernTool.com Made in China

















