HAULMASTER 57732-UPC 1000 lb. Swing Away Trailer Jack Owner’s
WARNING SYMBOLS AND DEFINITIONS
IMPORTANT SAFETY INFORMATION
Read all safety warnings and instructions.
Failure to follow the warnings and instructions may result in serious injury. Save all warnings and instructions for future reference.
Basic Safety Information
Keep work area clean and well lit. Cluttered or dark areas invite accidents.
Personal safety
- Stay alert, watch what you are doing and use common sense when operating a tool. Do not use a tool while you are tired or under the influence of drugs, alcohol or medication. A moment of inattention while operating tools may result in serious personal injury.
- Use personal protective equipment. Always wear eye protection. Safety equipment such
as non-skid safety shoes or a hard hat used for appropriate conditions will reduce personal injuries.
Service
Have your tool serviced by a qualified repair person using only identical replacement parts. This will ensure that the safety of the tool is maintained.
Specific Safety Warnings
- Do not exceed rated capacity.
- Lock Trailer Jack in vertical position before applying load.
- Use on flat, level, hard surface capable of supporting load.
- Wear ANSI-approved safety goggles during use.
- Prevent trailer wheels from moving using wheel chocks while raising or lowering.
- Before towing, fully raise trailer jack and secure properly in its horizontal position.
- Keep out from under jack and tongue when applying and releasing load, or moving trailer.
- Inspect before use. Do not use if parts are loose or damaged.
- Use in accordance with the Department of Transportation (DOT) regulations.
- Maintain labels and nameplates on the tool. These carry important safety information. If unreadable or missing, contact Harbor Freight Tools for a replacement.
- Do not use blocks for additional ground clearance.
- Do not use on round tongue trailer.
- Apply force to jack vertically only. Side forces will compromise the jack. Lower trailer tongue height as far as possible before rolling trailer on jack. Roll slowly on flat, level, hard surfaces only.
- Do not climb aboard any vehicle supported by jack.
- This product is not a toy. Keep it out of reach of children.
- Use caution when using the Trailer Jack to move a trailer without a vehicle. Losing control of the trailer due to uneven surfaces can lead to property damage or serious personal injury.
- Do not disconnect the boat trailer and use this Trailer Jack to roll the boat down the boat ramp.
- Follow all state regulations for boat safety and towing when using Trailer Jack, including using safety chains securely attached to the towing vehicle when the trailer is hooked to the vehicle.
- Not for aircraft purposes.
- Trailer Jack must always be in the folded up position (horizontal to ground) when towing the trailer.
- The warnings, precautions, and instructions discussed in this instruction manual cannot cover all possible conditions and situations that may occur. It must be understood by the operator that common sense and caution are factors which cannot be built into this product, but must be supplied by the operator.\
SAVE THESE INSTRUCTIONS.
Specifications
Installation Instructions
Read the ENTIRE IMPORTANT SAFETY INFORMATION section at the beginning of this manual including all text under subheadings therein before set up or use of this product.
Note: For additional information regarding the parts listed in the following pages, refer to Parts List and Assembly
Components
Mounting
WARNING: The trailer tongue must be square or rectangular in profile for this Jack to mount properly. A cylindrical tongue will allow the Jack to rotate off to the side and the trailer may suddenly fall, potentially causing serious personal injury or property damage. Do not drill holes or otherwise damage the trailer tongue when installing this Jack, as failure of the trailer tongue may result. Install the Jack with the Trailer mounted
on the towing vehicle hitch.
- Measure the trailer tongue for the best location to mount the Jack. Consider the following:
- The Jack will fit a 3″-5″ high tongue. Position the Mounting Plate horizontally for a 3″ to 4″
tall location or vertically for a 4″ to 5″ location. - Allow room on both sides of the mounting location for the Jack to swing up to its horizontal position.
- Check that the Jack will not interfere with the Vehicle or trailer when turning or passing over speed bumps, boat ramps, etc.
- To prevent overloading the jack, attach it as near to the coupler as is practical.
Note: To prevent Jack from leaning, make sure Jack is properly installed according to tongue size.
- The Jack will fit a 3″-5″ high tongue. Position the Mounting Plate horizontally for a 3″ to 4″
- The Mounting Hardware includes four mounting bolts, washers, spring washers, and nuts to attach the Jack. Position the Rotating Plates so that the mounting bolts are as close as possible to the top and bottom edge of the trailer tongue. Use the configuration that best fits the trailer tongue.
Note: Insert the Bolts from the Rotating Plate side, so that the Nuts and Bolt ends do not interfere when rotating the Jack. - Test the operation of the Trailer Jack. Rotate the Crank clockwise to raise the Trailer Jack and counterclockwise to lower it. Pull the Swivel Handle and rotate the Trailer Jack so it’s in line with the trailer tongue, then rotate it down so the wheels are on the ground. Make sure that the Jack is able to lock into both of its positions.
- Make any adjustments to the Trailer Jack location as necessary, then tighten the Mounting Hardware firmly to 20-25 ft. lb. Use a torque wrench to confirm tightness.
Operation Instructions
Read the ENTIRE IMPORTANT SAFETY INFORMATION section at the beginning of this manual including all text under subheadings therein before set up or use of this product.
Dismounting The Trailer from The Towing Vehicle
- Before dismounting, chock the trailer wheels to prevent the trailer from rolling.
- With the trailer on the hitch, pull and release the Swivel Handle, allowing the Jack to swing downwards. Keep fingers away from the Swivel Plate area, and feet away from the Wheels as the Trailer Jack swings downward.
- Assure that the spring loaded Swivel Handle pin locks the Jack into the lowered position.
- Rotate the Crank clockwise to raise the Jack, lowering the Wheels to the ground. Continue to crank just enough for the Trailer Jack to take the weight of the trailer. This will make it easier to disengage the trailer hitch.
- Disengage the electrical connections, the trailer hitch, any safety chains or other connections, between the vehicle and the trailer.
- You may need to extend the Jack further to clear the trailer hitch. When the vehicle is completely clear, and it is safe to do so, drive the vehicle away from the trailer.
Caution: Have a spotter watch this operation to be sure the trailer is clear of the vehicle, and does not roll away.
Using the Trailer Jack to Mount The Trailer to the Towing Vehicle
Note: If the trailer tongue is too heavy, do not attempt to lift it; seek assistance.
- If the trailer tongue is resting on the ground:
- Pull the Swivel Handle allowing the Trailer Jack to swing downward. Keep fingers and hands clear of Jack as it swings downward.
- Lift the trailer tongue, while the Jack rotates into the lowered position.
- Assure that the Swivel Handle pin is in place, locking the Jack into the lowered position.
- Rotate the Crank clockwise to raise the trailer to the level of the towing vehicle’s hitch.
- With the assistance of a spotter, back the vehicle to the trailer, or roll the trailer to the vehicle.
- Mount the trailer onto the towing vehicle’s hitch.
- Turn the Crank counterclockwise to lower the Jack slightly, transferring the trailer weight onto the towing vehicle.
- Pull out the Swivel Handle, and rotate the Jack into its horizontal position. Assure that the Swivel Handle pin is in place, locking the Jack into the raised horizontal position before moving the trailer.
- Attach the safety chain (sold separately).

Inspection, Testing, and Maintenance
Procedures not specifically explained in this manual must be performed only by a qualified technician.
WARNING
TO PREVENT SERIOUS INJURY:
Remove Jack from trailer before performing any inspection, maintenance, or cleaning procedures.
TO PREVENT SERIOUS INJURY FROM TOOL FAILURE:
Do not use damaged equipment. If abnormal noise or vibration occurs, have the problem corrected before further use. Cleaning, Maintenance, and Lubrication
- BEFORE EACH USE, inspect the general condition of the tool. Check for:
- loose hardware,
- misalignment or binding of moving parts,
- cracked or broken parts, and
- any other condition that may affect its safe operation.
- AFTER USE, wipe external surfaces of the tool with clean cloth.
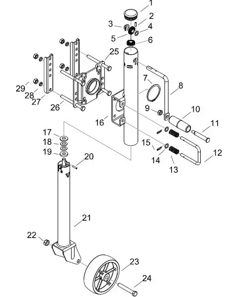
Parts List and Assembly Diagram – 57732 1000 lb. Jack

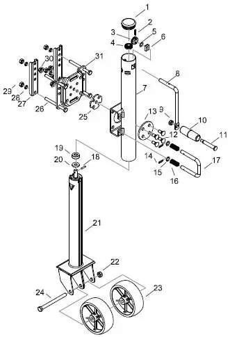
Parts List and Assembly Diagram – 58205 1500 lb. Jack

PLEASE READ THE FOLLOWING CAREFULLY
THE MANUFACTURER AND/OR DISTRIBUTOR HAS PROVIDED THE PARTS LIST AND ASSEMBLY DIAGRAM IN THIS MANUAL AS A REFERENCE TOOL ONLY. NEITHER THE MANUFACTURER OR DISTRIBUTOR MAKES ANY REPRESENTATION OR WARRANTY OF ANY KIND TO THE BUYER THAT HE OR SHE IS QUALIFIED TO MAKE ANY REPAIRS TO THE PRODUCT, OR THAT HE OR SHE IS QUALIFIED TO REPLACE ANY PARTS OF THE PRODUCT. IN FACT, THE MANUFACTURER AND/OR DISTRIBUTOR EXPRESSLY STATES THAT ALL REPAIRS AND PARTS REPLACEMENTS SHOULD BE UNDERTAKEN BY CERTIFIED AND LICENSED TECHNICIANS, AND NOT BY THE BUYER. THE BUYER ASSUMES ALL RISK AND LIABILITY ARISING OUT OF HIS OR HER REPAIRS TO THE ORIGINAL PRODUCT OR REPLACEMENT PARTS THERETO, OR ARISING OUT OF HIS OR HER INSTALLATION OF REPLACEMENT PARTS THERETO.
Record Product’s Serial Number Here:
Note: If product has no serial number, record month and year of purchase instead.
Note: Some parts are listed and shown for illustration purposes only, and are not available individually
as replacement parts. Parts may not be interchangeable. Specify UPC number when ordering:
- 1500 lb. (58205):
- 193175434180
- 1000 lb. (57732):
- 193175431011
Limited 90 Day Warranty
Harbor Freight Tools Co. makes every effort to assure that its products meet high quality and durability standards, and warrants to the original purchaser that this product is free from defects in materials and workmanship for the period of 90 days from the date of purchase. This warranty does not apply to damage due directly or indirectly, to misuse, abuse, negligence or accidents, repairs or alterations outside our facilities, criminal activity, improper installation, normal wear and tear, or to lack of maintenance. We shall in no event be liable for death, injuries to persons or property, or for incidental, contingent, special or consequential damages arising from the use of our product. Some states do not allow the exclusion or limitation of incidental or consequential damages, so the above limitation of exclusion may not apply to you. THIS WARRANTY IS EXPRESSLY IN LIEU OF ALL OTHER WARRANTIES, EXPRESS OR IMPLIED, INCLUDING THE WARRANTIES OF MERCHANTABILITY AND FITNESS. To take advantage of this warranty, the product or part must be returned to us with transportation charges prepaid. Proof of purchase date and an explanation of the complaint must accompany the merchandise. If our inspection verifies the defect, we will either repair or replace the product at our election or we may elect to refund the purchase price if we cannot readily and quickly provide you with a replacement. We will return repaired products at our expense, but if we determine there is no defect, or that the defect resulted from causes not within the scope of our warranty, then you must bear the cost of returning the product. This warranty gives you specific legal rights and you may also have other rights which vary from state to state.
26677 Agoura Road
Calabasas, CA 91302
For technical questions, please call 1-888-866-5797.
Save This Manual Keep this manual for the safety warnings and precautions, assembly, operating, inspection, maintenance and cleaning procedures. Write the product’s serial number in the back of the manual near the assembly diagram (or month and year of purchase if product has no number). Keep this manual and the receipt in a safe and dry place for future reference.





















