Capacity Weight Distributing Hitch System
Owner’s Manual

Apacity Weight Distributing Hitch System
Owner’s Manual & Safety Instructions
Save This Manual Keep this manual for the safety warnings and precautions, assembly, operating, inspection, maintenance and cleaning procedures. Write the product’s serial number in the back of the manual near the assembly diagram (or month and year of purchase if product has no number). Keep this manual and the receipt in a safe and dry place for future reference.
Visit our website at: http://www.harborfreight.com
Email our technical support at: [email protected]
When unpacking, make sure that the product is intact and undamaged. If any parts are missing or broken, please call 1-888-866-5797 as soon as possible.
©Copyright 2022 by Harbor Freight Tools ®. All rights reserved. No portion of this manual or any artwork contained herein may be reproduced in any shape or form without the express written consent of Harbor Freight Tools. Diagrams within this manual may not be drawn proportionally. Due to continuing improvements, actual product may differ slightly from the product described herein.Tools required for assembly and service may not be included.
WARNING
Read this material before using this product. Failure to do so can result in serious injury.
SAVE THIS MANUAL
WARNING SYMBOLS AND DEFINITIONS
| This is the safety alert symbol. It is used to alert you to potential personal injury hazards. Obey all safety messages that follow this symbol to avoid possible injury or death. | |
| Indicates a hazardous situation which, if not avoided, will result in death or serious injury. | |
| Indicates a hazardous situation which, if not avoided, could result in death or serious injury. | |
| Indicates a hazardous situation which, if not avoided, could result in minor or moderate injury. | |
| NOTICE CAUTION | Addresses practices not related to personal injury. |
IMPORTANT SAFETY INFORMATION
WARNING
Read all safety warnings and instructions.
Failure to follow the warnings and instructions may result in serious injury.
Save all warnings and instructions for future reference.
The warnings, precautions, and instructions discussed in this instruction manual cannot cover all possible conditions and situations that may occur. It must be understood by the operator that common sense and caution are factors which cannot be built into this product, but must be supplied by the operator.
Installation/Attachment Precautions
- Assemble only according to these instructions. Improper assembly can create hazards. Carefully measure and follow all steps and adjustment instructions.
- Raise the front of the trailer WHENEVER tension will be applied or released from the Connection Brackets (3).
- Adjust both chains to equal length.
- When applying or releasing tension from the Brackets, use the Handle (5) supplied and handle carefully.
- The Spring Bars (4) MUST be removed if the trailer is not attached. Check local regulations to determine if other components can be left in place or must also be temporarily removed.
- Wear ANSI-approved safety goggles and heavy-duty work gloves during assembly.
- Keep assembly area clean and well lit.
- Keep bystanders out of the area during assembly
- Do not assemble when tired or when under the influence of drugs or medication.
- Install in accord with DOT regulations.
Operation Precautions
- Adjust Chains (7) to equal length, secure the Spring Clips (18) and adjust according to this manual before use.
- This product is not a toy. Do not allow children to play with or near this item.
- Use as intended only.
- Inspect before every use; do not use if parts are loose or damaged.
- Do not exceed rated capacities of Hitch – see Specifications chart.
- Maintain product labels and nameplates. These carry important safety information. If unreadable or missing, contact Harbor Freight Tools for a replacement.
- Carefully load trailer according to trailer supplier’s instructions, whether a weight distributing hitch is used or not.
- Use in accord with DOT regulations.
Service Precautions
- Have Hitch serviced by a qualified repair person using only identical replacement parts. This will ensure that the safety of the hitch is maintained.
- Do not use damaged equipment. If abnormal noise or vibration occurs, have the problem corrected before further use.
SAVE THESE INSTRUCTIONS.
Functional Description
Specifications
| Entire System Capacity* | 1,000 lb. Tongue Weight 10,000 lb. Gross Trailer Weight |
| Hitch Capacity* without Spring Bars | 500 lb. Tongue Weight 5,000 lb. Gross Trailer Weight |
| Shank Size | 2″ Square |
| Class | III & IV |
| * Limit capacities listed above by the capacity of the towing vehicle and any other attachment hardware used. | |
Note: For greater stability, a Sway Control Kit (Item 96462, sold separately) can be used along with this Hitch.
Components

For technical questions, please call 1-888-866-5797.
Installation Instructions
Read the ENTIRE IMPORTANT SAFETY INFORMATION section at the beginning of this manual including all text under subheadings therein before set up or use of this product.
Note: For additional information regarding the parts listed in the following pages, refer to Parts List and Assembly Diagram on page 10.
Spring Bar Installation
- Apply some axle grease to the round end of one Spring Bar (4).
- Pry one of the Retaining Pin Springs (2a) back, pulling the Bar Retaining Pin (2b) outwards.

- Hold the Spring back while installing the Spring Bar into the socket on the Weight Distribution Head (2).
- Release the Spring, and adjust the Spring Bar until the spring snaps back into place.
- Pull on the Spring Bar to make sure it is properly attached to the Weight Distribution Head.
- Repeat for the other Retaining Pin Spring and the other Spring Bar.

- Remove the Lock Nuts (10) and Washers (9) from the U-Bolts (8). Place a U-Bolt around the bottom link of each Chain (7). Insert the threaded ends of each U-Bolt into the holes at the end of each Spring Bar, as shown. Secure with Washers and Lock Nuts.
Hitch Ball Installation

- Install a properly sized and properly rated hitch ball into the hole at the top of the Weight Distribution Head (2).
- Secure in place using the washer(s) and nut(s) provided with the hitch ball.
Installation Instructions (continued)
Weight Distribution Head Installation
- Determine the required ball height:
a. Divide tongue weight by 200 for tow vehicles with overload springs, divide it by 100 for vehicles without overload springs and multiply the result to calculate tow vehicle ‘squat’:
b. Position trailer parallel to the ground on a flat, level surface and measure the distance from the ground to the top of the ball cup and write it here:
c. Add the distance found in step 1a to the distance from step 1b to get the required ball height:
______ ” tow vehicle ‘squat’ (step 1a)
+ ______ ” coupler height (step 1b)
= ______ ” required ball height - Insert Square Shank (1) into tow vehicle receiver. Secure it in place with the Lock Pin (17) and the Spring Clip (18).

- Determine the attachment point of the Weight Distribution Head (2) to the Square Shank according to the needed connection height calculated in step 1c. The Square Shank can be turned upside-down if needed.
Each hole is 1-1/4″ of adjustment.
Insert one of the 3/4″ Bolts (16) through the lower hole to hold the Weight Distribution Head in place for now. Thread a 3/4″ Nut (12) onto the Bolt, but do not tighten it yet.
- Adjust the angle of the Spring Bars (4) using the Spacing Rivet (14) and from 0 to 7 Spacing Washers (13) until the Spring Bars tilt downward slightly (10-13°). Loosen the Angle Set Bolt (2c) before adding/removing Spacing Washers and tighten afterwards.
- After the angle is set properly, slide a Toothed Washer (15) onto the other 3/4″ Bolt (16) and insert through the upper hole in the Weight Distribution Head. Place the other Toothed Washer over the Bolt end, thread a 3/4″ Nut (12) onto the Bolt and tighten securely. Refer to Figure G:.
- Tighten both 3/4″ Nuts to 260 ft. lb. of torque using a torque wrench (sold separately).

Connection Bracket Installation
- Thread a 1/2″ Bolt (6) into each Connection Bracket (3) a turn or two. Place the Connection Brackets on top of the trailer tongue with the Bolts facing inwards. Refer to Figure H:.
- Swing the Spring Bars down under the brackets, and pull the Chains straight up with no twist. Position each Connection Bracket directly above its chain.
- Tighten the 1/2″ Bolts until they contact the trailer and then 1/4 turn more. Do not overtighten.

After Installation
- Proceed to Operation Instructions for final setup and trailer attachment.
- If trailer is not to be attached at this time, the Spring Bars (4) MUST be removed:
Hold onto the Spring Bar while prying the Retaining
Pin Spring (2a) back, pulling the Bar Retaining
Pin (2b) outwards.
The Spring Bar should drop out of the Weight Distribution Head (2).
Check local regulations to determine if other components can be left in place or must also be temporarily removed.
Operation Instructions
Attachment
- If Spring Bars were removed, reinstall them following steps 1 through 6 in Spring Bar Installation on page 5.
- While trailer is not connected, measure the distance from front and rear bumpers of towing vehicle to ground.
Write here:
_______ front to ground
_______ rear to ground - Lower trailer coupler onto hitch ball and secure the trailer’s ball coupler in place.
- Raise the front of trailer and back of the towing vehicle 3″. This will make mounting easier and safer.
- Swing the hooks on the Connection Brackets (3) down.
- Connect Chains:
a. Connect the Chains (7) to the hooks on the Connection Brackets.
b. Slide Handle (5) over pin on Bracket and rotate up completely to secure Chain.
c. Insert Spring Clip (18) through Bracket to lock Chain in place. Refer to Figure I.
d. Repeat for other Bracket and Chain. Both Chains must be of equal length.
- Lower the front of the trailer.
- Re-measure height of front and back of towing vehicle. Both should be lower than the amounts written in step 2 by an equal distance or up to 1″ lower in back. The Chain lengths need to be adjusted (by releasing the Brackets and adjusting each Chain one link at a time) until that measurement is achieved. Verify that the Chains are adjusted to same length.
CAUTION! The Connection Brackets will be under tension; use the Handle supplied and handle carefully to prevent injury.
Raise the front of the trailer WHENEVER tension will be applied or released from the Brackets.
After Use
- Note the number of chain links used to make reconnection to the same trailer and load easier.
- Raise the front of trailer and back of the towing vehicle 3″. This will make disconnection easier and safer.
CAUTION! The Connection Brackets will be under tension; use the Handle supplied and handle carefully to prevent injury. - Slide Handle over pin on Bracket and CAREFULLY rotate down completely to release Chain. Repeat for other side.
- Disconnect trailer from hitch ball.
- The Spring Bars (4) MUST be removed if the trailer is not attached:
Hold onto the Spring Bar while prying the Retaining Pin Spring (2a) back, pulling the Bar Retaining
Pin (2b) outwards.
The Spring Bar should drop out of the Weight
Distribution Head (2).
Check local regulations to determine if other components can be left in place or must also be temporarily removed.
User-Maintenance Instructions
Procedures not specifically explained in this manual must be performed only by a qualified technician.
WARNING
TO PREVENT SERIOUS INJURY FROM ACCIDENTAL OPERATION:
Disconnect hitch as explained under After Use on page 8 before performing any inspection, maintenance, or cleaning procedures.
TO PREVENT SERIOUS INJURY FROM HITCH FAILURE:
Do not use damaged equipment. If abnormal noise or vibration occurs, have the problem corrected before further use.
Cleaning, Maintenance, and Lubrication
- BEFORE EACH USE, inspect the general condition of the tool. Check for:
• loose hardware
• misalignment or binding of moving parts
• cracked or broken parts
• any other condition that may affect its safe operation - AFTER USE, wipe external surfaces of the tool with clean cloth.
- Inject axle grease into the grease fittings on the Weight Distribution Head monthly if the Spring Bars are left installed.
- Before installing the Spring Bars, clean and apply axle grease to the rounded end.
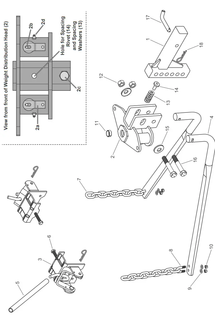
Parts List and Diagram
PLEASE READ THE FOLLOWING CAREFULLY
THE MANUFACTURER AND/OR DISTRIBUTOR HAS PROVIDED THE PARTS LIST AND ASSEMBLY DIAGRAM IN THIS MANUAL AS A REFERENCE TOOL ONLY. NEITHER THE MANUFACTURER OR DISTRIBUTOR MAKES ANY REPRESENTATION OR WARRANTY OF ANY KIND TO THE BUYER THAT HE OR SHE IS QUALIFIED TO MAKE ANY REPAIRS TO THE PRODUCT, OR THAT HE OR SHE IS QUALIFIED TO REPLACE ANY PARTS OF THE PRODUCT. IN FACT, THE MANUFACTURER AND/OR DISTRIBUTOR EXPRESSLY STATES THAT ALL REPAIRS AND PARTS REPLACEMENTS SHOULD BE UNDERTAKEN BY CERTIFIED AND LICENSED TECHNICIANS, AND NOT BY THE BUYER. THE BUYER ASSUMES ALL RISK AND LIABILITY ARISING OUT OF HIS OR HER REPAIRS TO THE ORIGINAL PRODUCT OR REPLACEMENT PARTS THERETO, OR ARISING OUT OF HIS OR HER INSTALLATION OF REPLACEMENT PARTS THERETO.
Parts List
| Part | Description | Qty |
| 1 | Square Shank | 1 |
| 2 | Weight Distribution Head | 1 |
| 2a | Retaining Pin Spring | 2 |
| 2b | Bar Retaining Pin | 2 |
| 2c | Angle Set Bolt M16 x 40 | 1 |
| 2d | Grease Fitting | 2 |
| 3 | Connection Bracket | 2 |
| 4 | Spring Bar (1000 lb. rating) | 2 |
| 5 | Handle | 1 |
| 6 | Bolt M12 x 100 | 2 |
| 7 | Chain (9 links) | 2 |
| Part | Description | Qty |
| 8 | U-Bolt M10 | 2 |
| 9 | Washer 010 | 4 |
| 10 | Lock Nut M10 | 4 |
| 11 | Bushing | 1 |
| 12 | Nut M20 | 2 |
| 13 | Spacing Washer 014 | 7 |
| 14 | Spacing Rivet | 1 |
| 15 | Toothed Washer | 2 |
| 16 | Bolt M20 x 120 | 2 |
| 17 | Lock Pin 016 | 1 |
| 18 | Spring Clip | 3 |
Record Product’s Serial Number Here:
Note: If product has no serial number, record month and year of purchase instead.
Note: Some parts are listed and shown for illustration purposes only, and are not available individually as replacement parts. Specify UPC 193175469557 when ordering parts.
Assembly Diagram
Limited 90 Day Warranty
Harbor Freight Tools Co. makes every effort to assure that its products meet high quality and durability standards, and warrants to the original purchaser that this product is free from defects in materials and workmanship for the period of 90 days from the date of purchase. This warranty does not apply to damage due directly or indirectly, to misuse, abuse, negligence or accidents, repairs or alterations outside our facilities, criminal activity, improper installation, normal wear and tear, or to lack of maintenance. We shall in no event be liable for death, injuries to persons or property, or for incidental, contingent, special or consequential damages arising from the use of our product. Some states do not allow the exclusion or limitation of incidental or consequential damages, so the above limitation of exclusion may not apply to you. THIS WARRANTY IS EXPRESSLY IN LIEU OF ALL OTHER WARRANTIES, EXPRESS OR IMPLIED, INCLUDING THE WARRANTIES OF MERCHANTABILITY AND FITNESS.
To take advantage of this warranty, the product or part must be returned to us with transportation charges prepaid. Proof of purchase date and an explanation of the complaint must accompany the merchandise.
If our inspection verifies the defect, we will either repair or replace the product at our election or we may elect to refund the purchase price if we cannot readily and quickly provide you with a replacement. We will return repaired products at our expense, but if we determine there is no defect, or that the defect resulted from causes not within the scope of our warranty, then you must bear the cost of returning the product.
This warranty gives you specific legal rights and you may also have other rights which vary from state to state.
26677 Agoura Road
Calabasas, CA 91302
1-888-866-5797


b. Position trailer parallel to the ground on a flat, level surface and measure the distance from the ground to the top of the ball cup and write it here:






















