HAULMASTER ALUMCARGOCARRIER 92655 500 Lb. Capacity Aluminum Cargo Carrier
Visit our website at: http://www.harborfreight.com
Email our technical support at: [email protected]
When unpacking, make sure that the product is intact and undamaged. If any parts are missing or broken, please call 1-888-866-5797 as soon as possible.Copyright© 2021 by Harbor Freight Tools®. All rights reserved. No portion of this manual or any artwork contained herein may be reproduced in any shape or form without the express written consent of Harbor Freight Tools. Diagrams within this manual may not be drawn proportionally. Due to continuing improvements, actual product may differ slightly from the product described herein. Tools required for assembly and service may not be included.
Warning
Read this material before using this product. Failure to do so can result in serious injury. SAVE THIS MANUAL.
Specifications
| Load Capacity | 500 lb. |
| Vehicle Hitch Receiver Size | 2″ (Vehicle hitch requires a Class III or better tow rating.) |
| Inside Platform | 47-1/2″ L x 20-1/2″ W x 6″ H |
| Overall Dimensions | 49-1/4″ L x 33-5/8″ W x 9-1/4″ H |
Important Safety Information
Specific Safety Rules
- Follow DOT guidelines for installation and use.
- Do not exceed 500 lb. capacity, evenly distributed. Be aware of dynamic loading! The sudden load movement may briefly create excess load causing product failure.
- Install sufficiently far away from the hot exhaust to prevent heat damage to carrier or cargo.
- Secure load before moving.
- Turn vehicle’s ignition OFF, set parking brake, and chock wheels before installing, loading, or unloading.
- Use as intended only.
- Inspect before use; do not use
if parts lose or damaged. - Wear ANSI-approved safety goggles and heavy-duty work gloves during installation, loading, and unloading.
- Maintain labels and nameplates on the Carrier. These carry important safety information. If unreadable or missing, contact Harbor Freight Tools for a replacement.
- Always secure the Carrier as close to your vehicle as possible, minimizing the distance of the Carrier and its load from your vehicle.
- Keep Carrier clean and dry.
- This product is not a toy. Keep it out of reach of children.
Load heaviest items toward the center of the Carrier. Be aware of openings and use larger containers that will not fall through gaps in the Carrier’s framework. - Only use Carrier with a properly installed Class III or better 2 inch
hitch receiver capable of supporting the Carrier and its load. - The warnings cautions, and instructions discussed in this instruction manual cannot cover all possible conditions and situations that may occur. It must be understood by the operator that common sense and caution are factors that cannot be built into this product but must be supplied by the operator.
General safety
- Make sure the area in which the Carrier is assembled is clean and well-lit. Cluttered or dark areas invite accidents.
- Keep children and bystanders away while assembling the Carrier.
- Stay alert, watch what you are doing, and use common sense when using the Carrier. Do not use the Carrier while you are tired or under the influence of drugs, alcohol or medication. A moment of inattention while using the Carrier may result in serious personal injury.
Carrier use and care
- Use the correct Carrier for your application. The correct Carrier will do the job better and safer at the rate for which it was designed.
- Store the Carrier out of reach of children and do not allow people unfamiliar with the Carrier or these instructions to use the Carrier. Use of carrier by untrained people may not be safe.
- Maintain the Carrier. Check for misalignment or binding of moving parts, breakage of parts and any other condition that may affect the Carrier’s operation. If damaged, have the Carrier repaired before use. Many accidents are caused by poorly maintained equipment.
- Use this Carrier in accordance with these instructions and in the manner intended for this particular type of product, taking into account the area conditions and the task to be performed. Use of this Carrier for operations different from those intended could result in a hazardous situation.
- To prevent fire and heat damage to carrier and cargo, DO NOT install near vehicle exhaust. Carrier may not be compatible with vehicles with rear-facing exhaust.
Service
Have this Carrier serviced by a qualified repair person using only identical replacement parts. This will ensure that the safety of the Carrier is maintained.
Assembly
Read the ENTIRE IMPORTANT SAFETY INFORMATION section at the beginning of this manual including all text under subheadings therein before set up or use of this product.

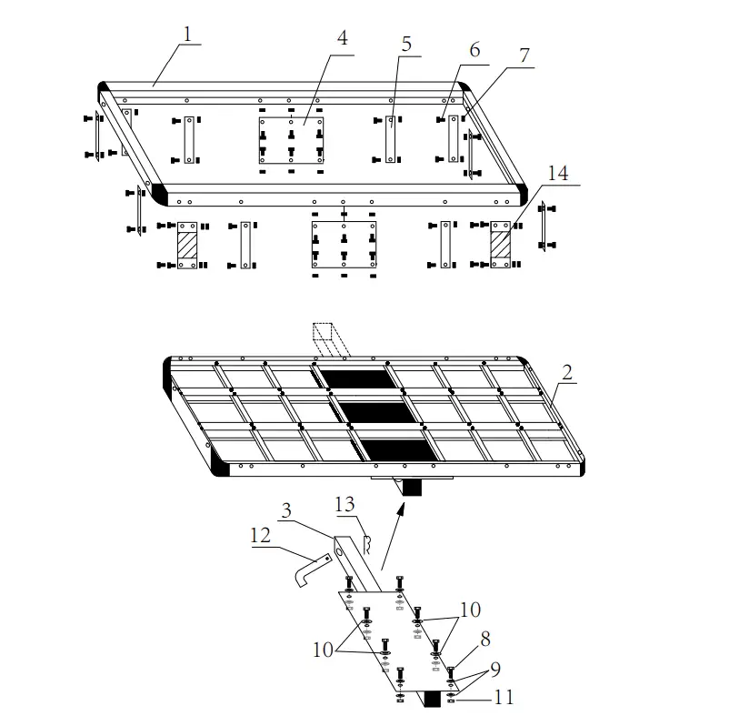
Note: For additional information regarding the parts listed in the following pages, refer to Parts List and Assembly Diagram on page 7.
Note: Only finger tighten bolts until Carrier is fully assembled.
- Align the Top Rail (1) with the Frame (2). Use the Bolts (6) and Nuts (7) to fasten the top ends of the Reflectors (14) to the Top Rail and the bottom ends of the Reflector to the Frame.
- NOTE: Before fastening, make sure the two Reflectors (14) are on the outside rear corners of the Cargo Carrier.
Note: See Assembly Diagram for Steps 2 – 5. - Use the Bolts (6) and Nuts (7) to attach the Small Supports (5) to the Top Rail and the Frame.
- Use the Bolts (6) and Nuts (7) to attach the Large Supports (4) to the Top Rail and Frame.
- Use the Bolts (8), Washers (9,10) and Nuts (11) to attach the Steel Tube (3) to the Frame.
- Tighten all connections securely.
For technical questions, please call 1-888-866-5797.
Functions
Operation Instructions
Read the ENTIRE IMPORTANT SAFETY INFORMATION section at the beginning of this document including all text under subheadings therein before set up or use of this product.
TO PREVENT SERIOUS INJURY: Make sure the vehicle is turned off and in gear or park, with the emergency brake engaged and the wheels blocked. Make sure the Carrier is secured onto the vehicle. Make sure the Carrier is clean and dry before loading.
WARNING! Do not exceed this Carrier’s maximum weight capacity of 500 pounds.
- With assistance, lift the Carrier and insert the Steel Tube (3) into the towing vehicle’s 2″ x 2″hitch receiver (not included).
- Slide the Hitch Pin (12) through the pin holes and fasten in place by inserting the R Pin (13).
WARNING! Make sure that the Pin is completely inserted and the R-Pin is securely attached. - With assistance, place items to be loaded onto the Carrier. Center load on Carrier. Secure the load in place using appropriate tie-downs, ropes, flags, etc. (not included).
For technical questions, please call 1-888-866-5797.
Maintenance and Servicing
Procedures not specifically explained in this manual must be performed only by a qualified technician.
TO PREVENT SERIOUS INJURY: Remove load from the Carrier before performing any maintenance or service. Do not use damaged equipment. If the Carrier is damaged have the problem corrected before further use.
Cleaning, Maintenance, and Lubrication
- BEFORE EACH USE, inspect the general condition of the Carrier. Check for:
- loose hardware,
- misalignment or binding of parts,
- cracked or broken parts, and
- any other condition that may affect its safe operation.
- Clean the Carrier after each use. Make sure dirt, oil, grease, and debris are not on the Carrier.
PLEASE READ THE FOLLOWING CAREFULLY
THE MANUFACTURER AND/OR DISTRIBUTOR HAS PROVIDED THE PARTS LIST IN THIS DOCUMENT AS A REFERENCE TOOL ONLY. NEITHER THE MANUFACTURER OR DISTRIBUTOR MAKES ANY REPRESENTATION OR WARRANTY OF ANY KIND TO THE BUYER THAT HE
OR SHE IS QUALIFIED TO MAKE ANY REPAIRS TO THE PRODUCT, OR THAT HE OR SHE IS QUALIFIED TO REPLACE ANY PARTS OF THE PRODUCT. IN FACT, THE MANUFACTURER AND/OR DISTRIBUTOR EXPRESSLY STATES THAT ALL REPAIRS AND PARTS REPLACEMENTS SHOULD BE UNDERTAKEN BY CERTIFIED AND LICENSED TECHNICIANS, AND NOT BY
THE BUYER. THE BUYER ASSUMES ALL RISK AND LIABILITY ARISING OUT OF HIS OR
HER REPAIRS TO THE ORIGINAL PRODUCT OR REPLACEMENT PARTS THERETO, OR ARISING OUT OF HIS OR HER INSTALLATION OF REPLACEMENT PARTS THERETO.
Parts List and Assembly Diagram
| Part | Description | Qty |
| 1 | Top Rail | 1 |
| 2 | Frame | 1 |
| 3 | Steel Tube | 1 |
| 4 | Large Support | 2 |
| 5 | Small Support | 10 |
| 6 | Bolt M5 x 12 | 40 |
| 7 | Nut M5 | 40 |
| Part | Description | Qty |
| 8 | Bolt M8 x 50 | 8 |
| 9 | Washer M8 Small | 12 |
| 10 | Washer M8 Large | 4 |
| 11 | Lock Nut M8 | 8 |
| 12 | Hitch Pin | 1 |
| 13 | R-Pin | 1 |
| 14 | Reflector | 2 |
Record Serial Number Here:
Note: If product has no serial number, record month and year of purchase instead.
Note: Some parts are listed for illustration purposes only, and are not available individually as replacement parts. Specify UPC 193175459770 when ordering parts.
Limited 90 Day Warranty
Harbor Freight Tools Co. makes every effort to assure that its products meet high quality and durability standards, and warrants to the original purchaser that this product is free from defects in materials and workmanship for the period of 90 days from the date of purchase. This warranty does not apply to damage due directly or indirectly, to misuse, abuse, negligence or accidents, repairs or alterations outside our facilities, criminal activity, improper installation, normal wear and tear, or to lack of maintenance. We shall in no event be liable for death, injuries to persons or property, or for incidental, contingent, special or consequential damages arising from the use of our product. Some states do not allow the exclusion or limitation of incidental or consequential damages, so the above limitation of exclusion may not apply to you. THIS WARRANTY IS EXPRESSLY IN LIEU OF ALL OTHER WARRANTIES, EXPRESS OR IMPLIED, INCLUDING THE WARRANTIES OF MERCHANTABILITY AND FITNESS.
To take advantage of this warranty, the product or part must be returned to us with transportation charges prepaid. Proof of purchase date and an explanation of the complaint must accompany the merchandise. If our inspection verifies the defect, we will either repair or replace
the product at our election or we may elect to refund the purchase price if we cannot readily and quickly provide you with a replacement. We will return repaired products at our expense, but if we determine there is no defect, or that the defect resulted from causes not within the scope of our warranty, then you must bear the cost of returning the product. This warranty gives you specific legal rights and you may also have other rights which vary from state to state.
- 26677 Agoura Road
- Calabasas, CA 91302
- 1-888-866-5797






















