TowingMaster 10201129 1500lbs Powerdrill-Driving Swivel Jack

WARNING:
- Read, Understand, Follow and Save These Instructions.
- Failure to follow all warnings and instructions may result in product failure, property damage, serious personal injury.
- The warnings, cautions, and instructions discussed in this instruction manual cannot cover all possible conditions or situations that could occur.
- It must be understood by the operator that common sense and caution are factors which cannot be built into this product, but must be supplied by the operator
INTENDED USE
- This 1500lbs Marine Swivel jack is designed as dual use, use the manual crank or your power drill raise and lower your boat or power sport or equipment trailer. The swivel trailer jack allows the user to move level and hitch the trailer with ease. It swivels to a horizontal position during transportation.
| TECHNICAL SPECIFICATIONS | |
| Property | Specification |
| Item Number | 10201129 |
| Loading Capacity (lbs.) | 1,500 |
| Clearance: Bracket to Jack Top (in.) | 11.5 |
| Length of Travel (in.) | 12 |
| Length Retracted (in.) | 13.8 (Measured from ground to center of mounting point) |
| Length Extended (in.) | 25.8 (Measured from ground to center of mounting point) |
| Jack Tube Size (in.) | 2.25 |
| Ground Support | Omni-directional wheel |
| Mount Type | Swivel mounting plate |
| Construction | Aluminum |
Tools and Components Required
- Two Plates (included)
- Four M10 Lock nut (included)
- Four M10 x 100 Hex bolts (included)
- 5/8” Wrench (owner supplied, not included)
- 5/8” Torque Wrench (owner supplied, not included)
- Power Drill (owner supplied, not included)
- 3/4’’ socket head (owner supplied, not included)
SAVE THESE INSTRUCTIONS FOR IMPORTANT SAFETY CONSIDERATIONS JACK USES AND CARE
INSTALLATION INSTRUCTIONS
- Before installation, compare the lift capacity of the jack with your trailer to ensure safe operation of the jack.
- Install the handle (#9) to the crank handle (#8).
- Park the trailer on a level surface, block the tires of the trailer and support trailer tongue.
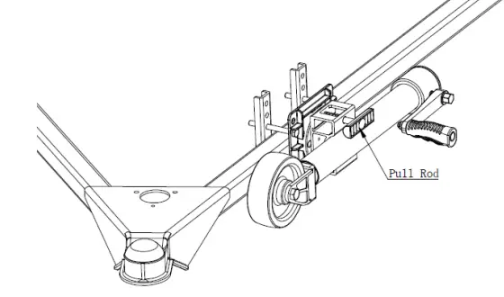
- This marine trailer jack has been designed to attach to the side of a straight tongue trailer.
- Place the jack against the tongue and position the mounting bracket (#13) on the opposite side of the tongue.
- Align the holes in the mounting bracket (#13) with holes in the plate (#10).
- Insert the 4 bolts (#12) through the mounting bracket (#13) and plate (#10). Push bolts through the top and bottom bolt holes on the right side.
- Slide a mounting plate over both bolt ends on the right side. Secure with locknuts (#11),
- Repeat with a mounting plate on the left side.
- Adjust the jack’s position if necessary. The mounting bracket should be square with the trailer tongue.
Tighten each nut evenly to secure the jack in place - When the jack is not in use, adjust the jack to a horizontal state in order to prevent the jack from touching the ground when the trailer is moving. Pull out the pull rod (#14) to swivel and lock the jack into a horizontal position.
- When in use, the jack must be in a vertical state. Pull out the pull rod (#14) to swivel and lock the jack into a vertical position.


OPERATION
Option 1: Manual Operation
- Attach the Drive Handle to the driveshaft located at the side of the unit.
- Turning the handle clockwise will extend the jack.
- Turning the handle counterclockwise will retract the jack.

Option 2: Drill Adapter
- The Drill Adapter can be used with any standard power drill, and 3/4’’ socket head consumer drill. Corded drills and impact drills are not recommended.
- Slot the Drill Adapter in your Drill chuck and secure tightly to avoid the adapter slipping. Align and insert the Drill Adapter to the driveshaft.
- NOTE: If you are using a power drill, be sure your battery pack is fully charged before use. Follow your drill/driver manufacturer’s recommendation.
- When using an electric drill, it will have high initial torque if the drill trigger is pulled rather than squeezed. For proper use, hold the drill firmly and begin to squeeze the trigger slowly, increasing the power up to an appropriate speed.
- Electric drill before the rocker from the drive shaft, and fixed by hand do not let the rocker sleeve contact the drive shaft, avoid electric drill rocker followed to hurt people.

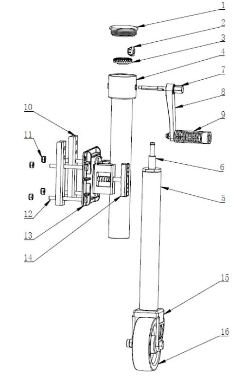
EXPLODED VIEW 

PARTS LIST
| Parts No. | Description | Qty |
| 1 | Override Protection Cover | 1 |
| 2 | Pinion | 1 |
| 3 | Main Gear Drive | 1 |
| 4 | Outer tube | 1 |
| 5 | Inner tube | 1 |
| 6 | ACME Screw | 1 |
| 7 | Shaft | 1 |
| 8 | Crank handle | 1 |
| 9 | Handle | 1 |
| 10 | Plate | 2 |
| 11 | M10 Lock nut | 4 |
| 12 | M10 x 100 Hex bolts | 4 |
| 13 | Mounting Bracket | 1 |
| 14 | Pull Rod | 1 |
| 15 16 | Wheel Bracket Wheel | 1 1 |
Limited 1year Warranty
- We make every effort to assure that this product meets high quality and durability standards and warrants to the original purchaser that this product is free from defects in materials and workmanship for the period of one year from the date of purchase, provided that installation and use of the product is in accordance with product instructions.
- This warranty does not apply to damage due directly or indirectly, to misuse, abuse, negligence or accidents, repairs or alterations outside our facilities, criminal activity, improper installation, normal wear, and tear, or to lack of maintenance.
- We shall in no event be liable for death, injuries to persons or property, or for incidental, contingent, special, or consequential damages arising from the use of our product. Some states do not allow the exclusion or limitation of incidental or consequential damages, so the above limitation or exclusion may not apply to you.
- THIS WARRANTY IS EXPRESSLY IN LIEU OF ALL OTHER WARRANTIES, EXPRESS OR IMPLIED, INCLUDING THE WARRANTIES OF MERCHANTABILITY AND FITNESS























