AMERICAN LIFTING 6000 Lbs/2,700 kg 48 Inch Farm Jack

This is the safety alert symbol. It is used to alert you to potential personal injury hazards. Obey all safety messages that follow this symbol to avoid possible injury or death.
WARNING: Cancer and Reproductive Harm.
SAFETY AND GENERAL INFORMATION
Save these instructions. . For your safety read, understand, and follow the information provided with and on this farm jack before using. The owner and operator of this equipment shall have an understanding of the farm jack and safe operating procedures before attempting to use. The owner and operator shall be aware that use of this product may require special skills and knowledge. Instructions and safety information shall be conveyed in the operator’s native language before use of this farm jack is authorized. If any doubt exists as to the safe and proper use of this farm jack, remove from service immediately.
Inspect before each use
Do not use if broken, bent, cracked, or damaged parts (including labels) are noted. Any farm jack that appears damaged in any way, operates abnormally or is missing parts, shall be removed from service immediately. If you suspect that the farm jack was subjected to a shock load (a load dropped suddenly, unexpectedly upon it), immediately discontinue use until the stand has been checked by a factory-authorized service center (contact distributor or manufacturer for list of Authorized Service Centers). It is recommended that an annual inspection be done by qualified personnel. Labels and owner’s manuals are available from the manufacturer.
PRODUCT DESCRIPTION
The American Lifting Mechanical Farm jack is made for a wide variety of uses. Manufactured from steel and cast iron components this unit can be used to lift, pull, and even winch loads to the desired position. With the adjustable top-clamp clevis the user can position the unit in their desired position. The product comes with a wide base to help with lifting on soft surfaces.
SPECIFICATIONS
| Model | Capacity | Min Height | Max Height |
| AR5048 | 6,000 Lbs 2,700 Kg | 4.92″ | 41.34″ |
OPERATION
To raise load
- Following all safety precautions, place the foot of the jack beneath the load. Lift the Reversing Latch (20) to its “UP” position and ensure it is locked in place, with the indentation in the Latch, firmly engaged in the notch on the Reversing Switch (18)-refer to fig. 1. Jack up the nose until it comes into contact with the load at the desired point of lift. Pause at this stage and check to ensure there are no obstacles to a clean lift.
- Pull down firmly and evenly on the handle and observe the load rising. As the handle is pulled down, you will hear the climbing pin (15) click into place as it locates in a hole in the steel bar (3). Actuate handle up and down until desired lift height is achieved.
NOTICE: Do not use extensions on the handle. Always keep a firm hold on the handle.
WARNING
- Be sure base of jack is on firm and level ground.
- Be sure jack will not slip after load is applied.
- Be sure lifting arm is fully under load is applied.
- Be sure the load is stabilized before lifting so that it will not shift when lifting or lowering.
- Do not work under load after lifting unless you have a proper safety device supporting the load.
- Do not push load off the jack; lower it carefully.
- Do not use handle extensions.
- Do not carry jack by handle.
To lower load
IMPORTANT:
The jack must be loaded with a minimum 50kg (110lbs) to lower step by step, otherwise the lifting nose will drop.
Taking all necessary precautions, take the load with the jack, (i.e. jack the load up slightly), and ensuring the handle is in the fully upright position, trip the reversing latch (20), so that it is in the fully down position, i.e. the indention on the latch becomes disengaged from the notch on the reversing switch (see fig. 2). Keeping a firm grip on the handle, pump it as you would for raising a load.
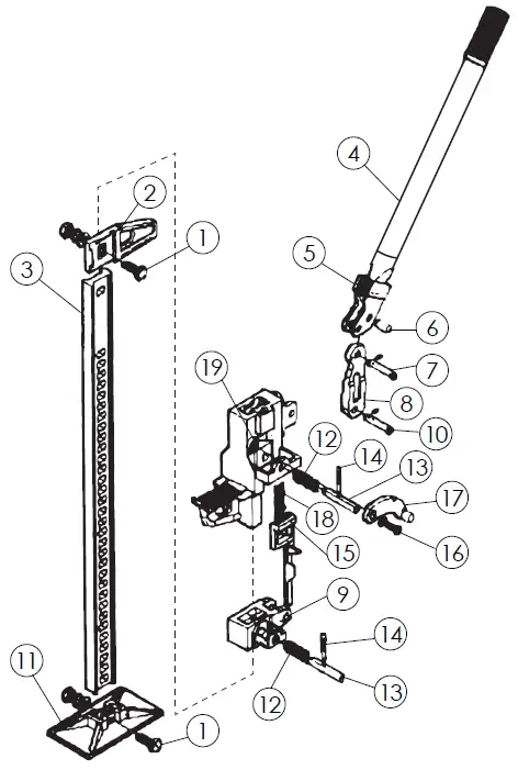
REPLACEMENT PARTS
Individual replacement parts are not available for this product. The drawing and table below are for reference only. For product labels and owner’s manual, call or write: American Lifting Customer Support, 10939 N. Pomona Ave. Kansas City, MO 64153, U.S.A. Tel: (816) 891-6390 Fax: (816) 891-6599.
| No. | Description | Qty. |
| 1 | Top clamp-clevis bolt | 1 |
| 2 | Top clamp-clevis | 1 |
| 3 | Steel standard (Bar) | 1 |
| 4 | Steel Handle w/ Cotter Pin | 1 |
| 5 | Handle Socket | 1 |
| 6 | Pin | 1 |
| 7 | Hex bolt | 1 |
| 8 | Connecting rod | 1 |
| 9 | Small runner | 1 |
| 10 | Screw bolt | 1 |
| 11 | Base | 1 |
| 12 | Climbing pin spring (2 required) | 2 |
| 13 | Climbing pin (2 required) | 2 |
| 14 | Cross pin (2 required) | 2 |
| 15 | Reversing switch cam bar and spring | 1 |
| 16 | Cap screw w/ washer | 1 |
| 17 | Reversing latch | 1 |
| 18 | Reversing switch spring | 1 |
| 19 | Large runner | 1 |

ONE-YEAR LIMITED WARRANTY
For a period of one (1) year from the date of purchase, SFA Companies will repair or replace, at its option, without charge, any of its products, which fails due to a defect in material or workmanship under normal usage. This limited warranty is a consumer’s exclusive remedy. Performance of any obligation under this warranty may be obtained by returning the warranted product, freight prepaid, to SFA Companies Warranty Service Department, 10939 N. Pomona Ave., Kansas City, MO 64153.
Except where such limitations and exclusions are specifically prohibited by applicable law, (1) THE CONSUMER’S SOLE AND EXCLUSIVE REMEDY SHALL BE THE REPAIR OR REPLACEMENT OF DEFECTIVE PRODUCTS AS DESCRIBED ABOVE. (2) SFA Companies SHALL NOT BE LIABLE FOR ANY CONSEQUENTIAL OR INCIDENTAL DAMAGE OR LOSS WHATSOEVER. (3) ANY IMPLIED WARRANTIES, INCLUDING WITHOUT LIMITATION THE IMPLIED WARRANTIES OF MERCHANTABILITY AND FITNESS FOR A PARTICULAR PURPOSE, SHALL BE LIMITED TO TWO YEARS, OTHERWISE, THE REPAIR, REPLACEMENT OR REFUND AS PROVIDED UNDER THIS EXPRESS LIMITED WARRANTY IS THE EXCLUSIVE REMEDY OF THE CONSUMER, AND IS PROVIDED IN LIEU OF ALL OTHER WARRANTIES, EXPRESS OR IMPLIED. (4) ANY MODIFICATION, ALTERATION, ABUSE, UNAUTHORIZED SERVICE OR ORNAMENTAL DESIGN VOIDS THIS WARRANTY AND IS NOT COVERED BY THIS WARRANTY.
Some states do not allow limitations on how long an implied warranty lasts, so the above limitation may not apply to you. Some states do not allow the exclusion or limitation of incidental or consequential damages, so the above limitation or exclusion may not apply to you. This warranty gives you specific legal rights, and you may also have other rights, which vary from state to state.
SFA Companies
10939 N. Pomona Ave. Kansas City, MO 64153
816-891-6390
















