SDC CB Series Communicating Bathroom Switch Instruction Manual
SPECIFICATIONS
- Contact Type: SPDT (FORM C)
- Contact Rating: 2AMPS @ 24VDC (RESISTIVE)
- Lamp Rating: 0.04A @ 28VDC
MODELS
- CB401-A
- CB402-A
- CB401-B
- CB402-B
WIRING


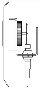
ASSEMBLY DETAIL


Use cam shown below. Or equivalent: Ilco 863G-00-10 Standard Cam SDC key cylinders come standard with cam shown below.
STANDARD FEATURES
- Compatible with 1″ to 1-3/8″ standard and interchangeable mortise key cylinders (Not Included).
- Key cylinder recessed for tamper resistance.
- Tamper resistant spanner screws
SPECIFICATION
- Contact Rating: 2Amps @ 30VDC (Resistive/Inductive)
- Connections: 7″, 22 gauge wire Leads
KEY SWITCH ASSEMBLY PROCEDURE
- Insert the Key cylinder through the front of the faceplate. Make sure the key cylinder is oriented correctly and the tailpiece is in the upright position.
- While holding the key cylinder in place, slide the switch mounting bracket onto the back of the cylinder. Align the triangular tabs from the mounting bracket with the corresponding notches on the barrel of the key cylinder.
- Secure the key cylinder to the bracket by using the supplied locknut to fasten down the cylinder to the bracket and tighten firmly.
- Test application by inserting the key and ensure that the cam is making contact the center of the switch plunger. The switch height should be adjusted so that the cam doesn’t apply excessive downward pressure to the switch.


Customer Support
Any suggestions or comments to this instruction or product are welcome. Please contact us through our website or email [email protected]
SECURITY DOOR CONTROLS
WWW.SDCSECURITY.COM
[t] 800.413.8783
805.494.0622
E-mail: [email protected]
801 Avenida Acaso, Camarillo, CA 93012
PO Box 3670, Camarillo, CA 93011



















