QRP125 Heat-recovery ventilation unit
Instructions

QRP125 Heat Recovery Ventilation Unit
Read this manual carefully before using the product and keep it in a safe place for reference as necessary. This product was constructed up to standard and in compliance with regulations relating to electrical equipment and must be installed by technically qualified personnel. The manufacturer assumes no responsibility for damage to persons or property resulting from failure to observe the instructions contained in this manual.
PRECAUTIONS
WARNING
The installation and service of the unit and complete ventilation system must be performed by an authorized installer and in accordance with local rules and regulations.
Transport and storage
- Do not leave the device exposed to atmospheric agents (rain, sun, snow, etc.).
- Duct connections/duct ends must be covered during storage and installation.
Installation
- After removing the product from its packaging, verify its conditions. Do not leave packaging within the reach of children or people with disabilities.
- Beware of sharp edges. Use protective gloves.
- If the environment in which the product is installed also houses a fuel-operating device (water heater, methane stove etc., that is not a “sealed chamber” type), it is essential to ensure adequate air intake, to ensure good combustion and proper equipment operation.
Use
- The device should not be used for applications other than those specified in this manual.
- This appliance can be used by children aged 8 years and above and persons with reduced physical, sensory or mental capabilities or lack of experience and knowledge if they have been given supervision or instruction concerning the use of the appliance in a safe way and understand the hazards involved. Children shall not play with the appliance. Cleaning and user maintenance shall not be made by children without supervision.
- Do not touch the appliance with wet or damp hands/feet.
- The device is designed for clean air only, i.e. without grease, soot, chemical or corrosive agents, or flammable or explosive mixtures.
- Do not use the product in the presence of inflammable vapors, such as alcohol, insecticides, gasoline, etc.
- The system should operate continuously, and only be stopped for maintenance/service.
- Do not obstruct ducts or grilles to ensure optimum air passage.
- Do not immerse the device or its parts in water or other liquids.
- Operating temperature: 0°C up to +40°C.
Service
- Beware of sharp edges. Use protective gloves.
- Use original spare parts only for repairs.
PRODUCT INFORMATION
General
This is the Installation, Use, and Maintenance Manual of the heat recovery ventilation units, model QRP125. This manual consists of basic information and recommendations concerning installation, commissioning, use, and service operations to ensure a proper fail-free operation of the unit.
The key to the proper, safe, and smooth operation of the unit is to read this manual thoroughly, use the unit according to the given guidelines and follow all safety requirements.
The QRP125 is supplied with 2 condensation elbows and 2 plugs for water drainage.
Dimensions and Weight

Duct connections

| A | Intake air from outside |
| B | Exhaust air to outside |
| C | Supply air to inside |
| D | Extract air from inside |
| E | Winter condensation drainage |
| F | Summer condensation drainage |
Space required
Make sure that enough space is left around the unit to allow easy maintenance (access to filters, terminal box, and inspection panel removal).
Rating label

TRANSPORT AND STORAGE
WARNING
Make sure that specific warnings and cautions in Chapter 2 “Precautions” are carefully read, understood, and applied!
The appliance is delivered in one carton box.
The appliance should be stored and transported in such a way that it is protected against physical damage that can harm spigots, casing, etc…
It should be covered so that dust, rain, and snow cannot enter and damage the unit and its components.
INSTALLATION
WARNING
Make sure that specific warnings and cautions in Chapter 2 “Precautions” are carefully read, understood and applied! This section describes how to install the unit correctly. The unit must be installed according to these instructions.
Unpacking
Verify that the unit (and eventual accessories) delivered is according to order before starting the installation. Any discrepancies from the ordered equipment must be reported to the supplier.
Where/how to install
- All QR units are meant for indoor installation in a heated space.
- The unit must always be mounted horizontally.
- Mount the unit on flat surface (ceiling).
- It’s important that the unit is completely leveled before it is put into operation.
- Place the unit preferably in a separate room (e.g. storage, laundry room or similar).
- When choosing the location it should be kept in mind that the unit requires maintenance regularly and that the inspection door should be easily accessible.
- Leave free space for opening the removable panel and for removal of the main components (§3.4).
- The outdoor air intake of the building should if possible be put in the northern or eastern side of the building and away from other exhaust outlets like kitchen fan exhausts or laundry room outlets.
- The unit casing is provided with 2 drainage holes to be used for condensation drainage. Make sure that the not-used hole is tightly closed with the supplied plugs to provide water and air tightness.
Ceiling installation
The unit must be installed in the following position.
It is important that the unit is completely flat in order for the condensation drainage to work properly.


5. Prepare the surface where the unit is to be mounted. Make sure that the surface is flat, and leveled and that it supports the weight of the unit. Perform the installation in accordance with local rules and regulations.
5.b Use appropriate plugs and rods or screws (not supplied) to fix the unit to the ceiling. It is recommended to fit the unit with anti-vibration mounts (not supplied).
5.c Assure that the unit is completely flat once mounted to the ceiling, for the condensation drainage to function properly.
5.d Connect the condensation elbow(s) to the drainage hole(s) on the access panel: in case close and seal the non-used hole with the supplied plugs (2 plugs for each hole). Make sure of water and air tightness of all connections. The condensation pipe connection must be done in a way that makes easy to remove the access panel for the service operation. It is recommended to use a U-bend (or similar) in the condensation drainage pipe.
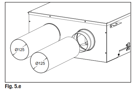
5.e Connect the unit to the duct system. Make sure that all necessary accessories are used to create a functional ventilation solution.
COMMISSIONING
Pressure drop and efficiency
Figure 6. a represents the pressure drop curve of the passive module
Figure 6. b represents the efficiency curve of the heat exchanger pack (thermal efficiency according to EN308)
Table 6. c shows the efficiency of the heat exchanger pack and the condensation amount produced in different climatic conditions, to help the decision of the system designer or installer to connect one or both condensate drains. High condensation production is a direct consequence of high efficiency and humidity.



Table. 6.c Thermal efficiency of the heat exchanger and average production of condensation water.
6.2 Before Starting the System
When the installation is finished, check that:
- Filters are mounted correctly.
- The unit is installed in accordance with the instructions.
- The unit is correctly wired.
- Eventual outdoor and exhaust air dampers and silencers are installed and the duct system is correctly connected to the unit.
- All ducts are sufficiently insulated and installed according to local rules and regulations.
- Outdoor air intake is positioned at a sufficient distance to pollution sources (kitchen ventilator exhaust, central vacuum system exhaust or similar).
- The unit is correctly set and commissioned.
MAINTENANCE AND SERVICE
WARNING
Make sure that specific warnings and cautions in Chapter 2 “Precautions” are carefully read, understood and applied!
Maintenance can be carried out by the user.
Service must be performed only by an authorized installer and in accordance with local rules and regulations. Questions regarding installation, use, maintenance, and service of the unit should be answered by your installer or place of purchase!
Components list

- FILTER G4, EXTRACT AIR
- FILTER G4, INTAKE AIR HEAT EXCHANGER
- CONDENSATION DRAINS
- CONDENSATION TRAY
Description of Components
Filters
The 2 filters are of filter quality G4 for both the supply air and extract air filter.
The filters need to be cleaned regularly (and replaced when polluted) during maintenance. New sets of filters can be acquired from your installer or wholesaler. Heat exchanger
The unit is equipped with a highly efficient, counter-flow plate heat exchanger. Supply air temperature is therefore normally maintained without adding additional heat. The heat exchanger is removable for cleaning and maintenance during service.
Condensation drainage
Depending on the relative humidity in the extract air, condensation may occur on the cold surfaces of the heat exchanger, on one side in the winter time, and on the other side in summer time (Table 6. c). The condensate water is led out through a drainage pipe.
Maintenance
- Keep the unit surface free from dust.
- Once every 3 months, it is recommended to perform filter maintenance. The actual need to perform this operation may vary depending on indoor and outdoor ambient conditions.
- Clean the filters with a vacuum cleaner (Fig. 7.b-c-d).
- Replace the filters every year.

Service
WARNING
Make sure that the mains supply to the unit is disconnected before performing any installation, service, maintenance or electrical work!
- Keep the unit surface free from dust.
- Once every 3 months, it is recommended to perform filter maintenance. The actual need to perform this operation may vary depending on indoor and outdoor ambient conditions.
- Clean the filters with a vacuum cleaner (Fig. 7.e-f-g).
- Replace the filters every year.

Clean the heat exchanger every year with a vacuum cleaner. This may differ per situation depending on internal and external environmental conditions and on the frequency of filter leaning. To remove the heat exchanger unlock the specific bracket by turning the yellow screw (Fig. 7.h-i-j-k-l).

Troubleshooting
Reduced airflow
- Check the setting of the fan speed in the terminal box or on the remote controls.
- Check filters. Change of filters required?
- Check diffusers. Re-setting or cleaning of grilles and diffusers required?
- Check fans and heat exchange block. Cleaning required?
- Check if air intake and exhaust have been clogged
Excessive air noise: Check grilles and diffusers. Re-setting or cleaning of grilles and diffusers required?
Gurgling noise
- Drain connections have not been installed correctly.
- The drain connection below the unit has a too-low water level, fill it up with water.
Unpleasant smell
- Drain connections have not been installed correctly.
- The drain connection below the unit has a too low water level, fill it up with water.
- Check filters. Change of filters required?
- Check ducting system and grilles and diffusers. Cleaning required?
Water leakage near the unit:
- Drain connections have not been installed correctly. Checking necessary?
- Drain connections are dirty. Is cleaning necessary?
DISPOSAL AND RECYCLING
Information on disposal of units at the end of life. This product complies with EU Directive 2002/96/EC. The symbol of the crossed-out dustbin indicates that this product must be collected separately from other waste at the end of its life. The user must, therefore, dispose of the product in question at suitable electronic and electro-technical waste disposal collection centers, or else send the product back to the retailer when purchasing a new, equivalent type device. Separate collection of decommissioned equipment for recycling, treatment, and environmentally compatible disposal helps to prevent negative effects on the environment and on health and promotes the recycling of the materials that make up the equipment. Improper disposal of the product by the user may result in administrative sanctions as provided by law.
Montichiari (Bs) Sede legale/Registered office
C.F. e P.IVA/VAT 03369930981 – REA BS-528635
Tel: +39 030 674681 – Fax: +39 030 6872149 – www.aerauliqa.com – [email protected]
Aerauliqa Srl reserves the right to modify/make improvements to products and/or this instruction manual at any time and without prior notice.



















