TORO CCR 3650 GTS Snowthrower

Introduction
Read this information carefully to learn how to operate and maintain your product properly and to avoid injury and product damage. You are responsible for operating the product properly and safely.
You may contact Toro directly at www.Toro.com for product and accessory information, help finding a dealer, or to register your product.
Whenever you need service, genuine Toro parts, or additional information, contact an Authorized Service Dealer or Toro Customer Service and have the model and serial numbers of your product ready. Figure 1 identifies the location of the model and serial numbers on the product. Write the numbers in the space provided.

Figure 1
- Model and serial number location
This manual identifies potential hazards and has safety messages identified by the safety alert symbol (Figure 2), which signals a hazard that may cause serious injury or death if you do not follow the recommended precautions.

Figure 2
- Safety alert symbol
This manual uses 2 other words to highlight information. Important calls attention to special mechanical information and Note emphasizes general information worthy of special attention.
This spark ignition system complies with Canadian ICES-002
The enclosed Engine Owner’s Manual is supplied for information regarding the US Environmental Protection Agency (EPA) and the California Emission Control Regulation of emission systems, maintenance, and warranty. Replacements may be ordered through the engine manufacturer.
Safety
This snowthrower meets or exceeds the B71.3 specifications of the American National Standards Instituteineffectatthetimeofproduction.
Read and understand the contents of this manual before theengineiseverstarted.
This is the safety alert symbol. It is used to alert you to potential personal injury hazards. Obey all safety messages that follow this symbol to avoid possible injury or death.
Improperly using or maintaining this snowthrower could result in injury or death. To reduce this potential, comply with the following safety instructions.
The following instructions have been adapted from the ANSI/OPEI standard B71.3-2005 and the ISO 8437:1989 standard.
This snowthrower is capable of amputating hands and feet and throwing objects. Failure to observe the following safety instructions could result in serious injury.
Training
- Read, understand and follow all instructions on the machine and in the manual(s) before operating this unit. Be thoroughly familiar with the controls and the proper use of the equipment. Know how to stop the unit and disengage the controls quickly.
- Never allow children to operate the equipment. Never allow adults to operate the equipment without proper instruction.
- Keep the area of operation clear of all persons, particularly small children.
- Exercise caution to avoid slipping or falling.
Preparation
- Thoroughly inspect the area where the equipment is to be used and remove all doormats, sleds, boards, wires, and other foreign objects.
- Release the control bar to disengage the rotor blades before starting the engine.
- Do not operate the equipment without wearing adequate winter garments. Avoid loose fitting clothing that can get caught in moving parts. Wear footwear that will improve footing on slippery surfaces.
- Handle fuel with care; it is highly flammable.
- Use an approved fuel container.
- Never add fuel to a running engine or hot engine.
- Fill fuel tank outdoors with extreme care. Never fill fuel tank indoors.
- Never fill containers inside a vehicle or on a truck or trailer bed with a plastic liner. Always place containers on the ground, away from your vehicle, before filling.
- When practical, remove gas-powered equipment from the truck or trailer and refuel it on the ground. If this is not possible, then refuel such equipment on a trailer with a portable container, rather than from a gasoline dispenser nozzle.
- Keep the nozzle in contact with the rim of the fuel tank or container opening at all times, until refueling is complete. Do not use a nozzle lock-open device.
- Replace gasoline cap securely and wipe up spilled fuel.
- If fuel is spilled on clothing, change clothing immediately.
- Use extension cords and receptacles as specified by Toro for all units with electric starting motors.
- Do not attempt to clear snow from a gravel or crushed rock surface. This product is intended for use only on paved surfaces.
- Never attempt to make any adjustments while the engine is running (except when specifically recommended by Toro).
- Always wear safety glasses or eye shields during operation or while performing an adjustment or repair to protect eyes from foreign objects that may be thrown from the machine.
Operation
- Do not put hands or feet near or under rotating parts. Keep clear of the discharge opening at all times.
- Exercise extreme caution when crossing gravel drives, walks, or roads. Stay alert for hidden hazards or traffic.
- After striking a foreign object, stop the engine, disconnect the wire from the spark plug, thoroughly inspect the snowthrower for any damage, and repair the damage before restarting and operating the snowthrower.
- If the unit should start to vibrate abnormally, stop the engine and check immediately for the cause. Vibration is generally a warning of trouble.
- Stop the engine whenever you leave the operating position, before unclogging the collector/impeller housing or discharge chute, and when making any repairs, adjustments, or inspections.
- When cleaning, repairing or inspecting the snowthrower, stop the engine and make certain the rotor blades and all moving parts have stopped.
- Do not run the engine indoors, except when starting the engine and for transporting the snowthrower in or out of the building. Open the outside doors; exhaust fumes are dangerous.
- Exercise extreme caution when operating on slopes.
- Never operate the snowthrower without proper guards, and other safety protective devices in place and working.
- Never direct the discharge toward people or areas where property damage can occur. Keep children and others away.
- Donotoverloadthe machine capacity by attempt in to clear snow at too fast a rate.
- Look behind and use care when backing up with the snowthrower.
- Never operate the snowthrower without good visibility or light. Always be sure of your footing, and keep a firm hold on the handles. Walk; never run.
Clearing a Clogged Discharge Chute
Hand contact with the rotor blades is a common cause of injury associated with snowthrowers. Never use your hand to clean out the discharge chute.
To clear the chute:
- Shut the engine off!
- Wait10 seconds to be sure the rotor blades have stopped rotating.
- Always use a clean-out tool, not your hands.
Maintenance and Storage
- Check all fasteners at frequent intervals for proper tightness to be sure the equipment is in safe working condition.
- Never store the machine with fuel in the fuel tank inside a building where ignition sources are present such as hot water heaters, space heaters, or clothes dryers. Allow the engine to cool before storing in any enclosure.
- Always refer to this operator’s manual for important details if the snowthrower is to be stored for an extended period.
- Maintain or replace safety and instruction labels, as necessary.
- Run the machine a few minutes after throwing snow to prevent freeze-up of the rotor blades.
- Toro Snowthrower Safety
The following list contains safety information specificto Toro products or other safety information that you must know. - Rotating rotor blades can injure fingers or hands. Stay behind the handles and away from the discharge opening while operating the snowthrower. Keep your face, hands, feet, and any other part of your body or clothing away from moving or rotating parts.
- Before adjusting, cleaning, repairing, and inspecting the snowthrower, and before unclogging the discharge chute, stoptheengine, remove the key, and wait for all moving parts to stop.
- Use a stick, not your hands, to remove obstructions from the discharge chute.
- Before leaving the operating position, stop the engine, remove the key, and wait for all moving parts to stop.
- Do not wear loose-fitting clothing that could get caught in moving parts.
- If a shield, safety device, or decal is damaged, illegible, or lost, repair or replace it before beginning operation. Also, tighten any loose fasteners.
- Do not smoke while handling gasoline.
- Do not use the snowthrower on a roof.
- Do not touch the engine while it is running or soon after it has stopped because the engine may be hot enough to cause a burn.
- Perform only those maintenance instructions described in this manual. Before performing any maintenance, service, or adjustment, stop the engine, remove the key, and disconnect the wire from the spark plug. If major repairs are ever needed, contact an Authorized Service Dealer.
- Do not change the governor settings on the engine.
- When storing the snowthrower for more than 30 days, drain the fuel from the fuel tank to prevent a potential hazard. Store fuel in an approved fuel container. Remove the key from the ignition switch before storing the snowthrower.
- Purchase only genuine Toro replacement parts and accessories.
Safety and Instructional Decals
Important: Safety and instruction decals are located near areas of potential danger. Replace damaged decals.


Setup
Loose Parts
Use the chart below to verify that all parts have been shipped.
| Step | Description | Qty. | Use |
| 1. | Handle bolt Curved washer Knob | 1 1 1 | Install the handle. |
| 2. | Discharge chute | 1 | |
| Phillips head screws Washers | 3 3 | Install the discharge chute. | |
| Locknuts | 3 | ||
| 3. | Chute crank and mounting plate | 1 | |
| Bolts | 2 | Install the chute crank. | |
| Locknuts | 2 |
Installing the Handle
- Cut the plastic tie that secures the control cable to the handle.
Note: Hold the cable taut to ensure that it stays connected at the bottom. - Position the upper handle as shown (Figure 3).

Figure 3 - Loosely install the handle bolts, curved washers, and knobs (Figure 4).
Figure 4 - Hook the end of the control cable spring into the bottom hole of the control bar (Figure 5).
Figure 5 - Fully insert the handle bolts (Figure 6).
Important: Ensure that you do not pinch the control cable (Figure 6).
Figure 6 - Tighten the knobs until they are snug.
- Adjust the control cable. Refer to Adjusting the Control Cable.
Installing the Discharge Chute
Install the discharge chute as shown (Figure 7).
Figure 7
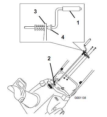
Installing the Chute Crank
- Insert the end of the chute crank through the hole in the shroud and align the mounting bracket with the holes in the lower handle (Figure 8).
Figure 8- Chute crank
- Hole in the shroud
- Mounting bracket
- Plastic bushing

- Slowly rotate the crank until the end of the chute crank fits into the hidden gear opening and the discharge chute turnsthecrank.
Note: Ensure that the plastic bushing is fully inserted into the hole in the mounting bracket (Figure 8). - Secure the mounting bracket to the handle with 2 bolts and 2 locknuts.
Product Overview

Figure 9
- Discharge chute
- Chute crank
- Control bar
- Handle
- Control panel
- Knob
- Handle bolt (2)
- Rotor blades
- Fuel tank cap

Figure 10
- Key switch
- Primer
- Recoil start
- Choke lever
Operation
Note: Determine the left and right sides of the machine from the normal operating position.
Gasoline is extremely flammable and explosive. A fire or explosion from gasoline can burn you and others.
- To prevent a static charge from igniting the gasoline, place the container and/or snowthrower on the ground before filling, not in a vehicle or on an object.
- Fill the tank outdoors when the engine is cold. Wipe up spills.
Mixing the Gasoline and Oil
This snowthrower uses a 50:1 gasoline-to-oil mixture. Use Toro 50:1 2-Cycle Oil (Fuel Stabilizer Added) or an equivalent high-grade, NMMA TCW-certified two-cycle oil.
Important: To prevent engine damage, do not use automotive oil (such as SAE 30 or 10W30) or fuel mixed at the wrong gasoline-to-oil ratio.
- Pour a half US gallon (1.9 liters) of fresh, unleaded gasoline into an approved fuel container.
- Add two-cycle oil to the gasoline according to the chart below (Figure 11):

Figure 11
- Install the cap on the fuel container.
- Shake the container to mix the gasoline and oil thoroughly.
- Slowly remove the cap and add the remaining amount of gasoline.
Note: Do not mix gasoline and oil in the fuel tank. Oil at room temperature mixes easier and more thoroughly than cold oil. Oil below 32°F (0°C) requires additional mixing
Filling the Fuel Tank
Fill the fuel tank with a fresh mixture of gasoline and oil mixed at the proper ratio (Figure 12).

Figure 12
Starting the Engine
- Turn the ignition key clockwise to the On position (Figure 13).

Figure 13 - Move the choke lever to the right (Figure 14).
Figure 14 - Firmly push in the primer 2 times with your thumb, holding the primer in for a second before releasing it each time (Figure 15).
Figure 15 - Pull the recoil starter (Figure 16).
Figure 16 - With the engine running, move the choke lever to the left slowly.
Stopping the Engine
To stop the engine, turn the ignition key counterclockwise to the Off position (Figure 17).

Figure 17
Starting the Rotor Blades
To start the rotor blades, hold the control bar against the handle (Figure 18).
Figure 18
Stopping the Rotor Blades
To stop the rotor blades, release the control bar (Figure 19).

Figure 19
Adjusting the Discharge Chute
To adjust the discharge chute, rotate the chute crank and move the chute deflector handle as shown (Figure 20).
Figure 20

- Chute handle
- Chute deflector handle
Preventing Freeze-up after Use
- Let the engine run for a few minutes to prevent moving parts from freezing. Stop the engine, wait for all moving parts to stop, and remove ice and snow from the snowthrower.
- With the engine off, pull the recoil starter handle several times and push the electric start button once (if applicable) to prevent the recoil and electric starters from freezing up.
Operating Tips
The rotor blades can throw stones, toys, and other foreign objects and cause serious personal injury to the operator or to bystanders.
- Keep the area to be cleared free of all objects that the rotor blades could pick up and throw.
- Keep all children and pets away from the area of operation.
- Remove the snow as soon as possible after it falls.
To self-propel, raise the handle and tilt the snowthrower slightly forward, lifting the wheels off the ground. The more you tilt the handle forward, the faster the snowthrower self-propels. - If the snowthrower does not propel itself forward on slippery surfaces or in heavy snow, push forward on the handle, but allow the snowthrower to work at its own pace.
- Overlap each swath to ensure complete snow removal.
- Discharge the snow downwind whenever possible.
- In snowy and cold conditions, some controls and moving parts may freeze. Do not use excessive force when trying to operate frozen controls. If you have difficulty operating any control or part, start the engine and let it run for a few minutes.
Maintenance
Note: Determine the left and right sides of the machine from the normal operating position.
Recommended Maintenance Schedule(s)
| Maintenance Service Interval | Maintenance Procedure |
| After the first operating hour | • Check the control cable both initially and after the first hour of operation; adjust it if necessary. • Check for loose fasteners and tighten them if necessary. |
|
Yearly | • Check the control cable and adjust it if necessary. • Check for loose fasteners and tighten them if necessary. • Have an Authorized Service Dealer inspect the spark plug and replace it if necessary. • Inspect the rotor blades and have an Authorized Service Dealer replace the rotor blades and scraper if necessary. • Have an Authorized Service Dealer inspect the drive belt and replace it if necessary. |
| Yearly or before storage | • Prepare the snowthrower for storage. |
Adjusting the Control Cable
Checking the Cable
Important: Check the control cable for proper adjustment initially, after the first operating hour, and then annually thereafter.
- Move the control bar back toward the handle to remove the slack in the cable.
- Ensure that a 1/16 to 1/8 inch (2 to 3 mm) gap exists between the control bar and the handle (Figure 21).

Figure 21
- 1/16 to 1/8 inch (2 to 3 mm) gap
Note: To adjust the cable, refer to Adjusting the Cable below.
Important: The control cable must contain some slack when you disengage the control bar for the rotor blades to stop properly.
Adjusting the Cable
- Unhook the end of the control cable spring from the control bar (Figure 22).

Figure 22 - Move the Z-fitting to a higher or lower hole in the adjuster link as needed to obtain the 1/16 to 1/8 inch (2 to 3 mm) gap between the control bar and the handle (Figure 23).
Figure 23 - Z-fitting
- Adjuster link
Note: Moving the Z-fitting higher decreases the gap between the control bar and the handle; moving it lower increases the gap.
- Replace the spring cover and hook the end of the control cable spring into the bottom hole of the control bar.
- Check the adjustment; refer to Checking the Cable.
Note: After extended use, the drive belt may wear and lose its proper belt tension. If the drive belt slips (continuously squeals) under a heavy load, increase the belt tension by inserting the spring end into the top hole of the control bar. The belt may slip (squeal) in wet conditions; to dry out the drive system, start the rotor and run it without a load for 30 seconds.
Inspecting the Rotor Blades

Before each season, inspect the rotor blades for wear. When a rotor blade edge has worn down to the wear indicator hole, have an Authorized Service Dealer replace the rotor blades and the scraper (Figure 24)

Figure 24
- Wear indicator hole
Storage
Storing the Snowthrower
- Gasoline fumes are highly flammable, explosive, and dangerous if inhaled. If you store the product in an area with an open flame, the gasoline fumes may ignite and cause an explosion.
- Do not store the snowthrower in a house (living area), basement, or any other area where ignition sources may be present, such as hot water and space heaters, clothes dryers, furnaces, and other like appliances.
Important: Do not use the chute handle to lift the snowthrower. This can damage the chute handle.
- Add a fuel stabilizer/conditioner to the fuel in the fuel tank as directed.
Note: If you use Toro 50:1 2-Cycle Oil (Fuel Stabilizer Added), you do not need to add a fuel stabilizer/conditioner. - Run the engine for 5 minutes to distribute the conditioned fuel through the fuel system.
- Stop the engine and allow it to cool.
- Use a hand pump to pump the fuel from the fuel tank into an approved fuel container, or run the engine until it stops.
- Start the engine and run it until it stops.
- Choke or prime the engine, start it a third time, and run the engine until it will not start.
- Slowly pull the recoil starter until you feel resistance due to compression pressure, then stop.
- Release the starter tension gradually by allowing the rope to go back slowly to prevent the engine from reversing due to compression pressure.
- Dispose of unused fuel properly. Recycle it according to local codes, or use it in your automobile.
Note: Do not store stabilized fuel for more than 90 days. - Tighten all loose screws, bolts, and locknuts. Repair or replace any damaged parts.
- Clean the snowthrower thoroughly.
- Cover the snowthrower and store itinaclean, dry place out of the reach of children. Allow the engine to cool before storing it in any enclosure.
Folding the Handle
- Loosen the knobs and pull out the handle bolts.
- Fold the upper handle forward (Figure 25).

Figure 25


Figure 4
Figure 5


Figure 14
Figure 15
Figure 16
Figure 23















