Power Clear® 518 Snowthrower
Model No. 38472—Serial No. 404621000 and Up
Model No. 38473—Serial No. 404621000 and Up
Form No. 3432-459 Rev B
Operator’s Manual
Introduction
This machine is intended to be used by residential homeowners. It is designed primarily for removing snow from paved surfaces, such as driveways and sidewalks, and other surfaces for traffic on residential or commercial properties. It is not designed for removing materials other than snow, nor is it designed for clearing gravel surfaces. Using this product for purposes other than its intended use could prove dangerous to you and bystanders.
Read this information carefully to learn how to operate and maintain your product properly and to avoid injury and product damage. You are responsible for operating the product properly and safely.
Visit www.Toro.com for product safety and operation training materials, accessory information, help finding a dealer, or to register your product.
Whenever you need service, genuine Toro parts, or additional information, contact an Authorized Service Dealer or Toro Customer Service and have the model and serial numbers of your product ready. Figure 1 identifies the location of the model and serial numbers on the product. Write the numbers in the space provided.
Important: With your mobile device, you can scan the QR code on the serial number decal (if equipped) to access warranty, parts, and other product information.

Model No._____________
Serial No.______________
This manual identifies potential hazards and has safety messages identified by the safety-alert symbol (Figure 2), which signals a hazard that may cause serious injury or death if you do not follow therecommended precautions.
![]()
This manual uses 2 words to highlight information.
Important calls attention to special mechanical information and Note emphasizes general information worthy of special attention.
Important: If you are using this machine above 1500 m (5,000 ft) for a continuous period, ensure that the High Altitude Kit has been installed so that the engine meets CARB/EPA emission regulations. The High Altitude Kit increases engine performance while preventing spark-plug fouling, hard starting, and increased emissions.
Once you have installed the kit, attach the high-altitude label next to the serial decal on the machine. Contact any Authorized Toro Service Dealer to obtain the proper High Altitude Kit and high-altitude label for your machine. To locate a dealer convenient to you, access our website at www.Toro.com or contact our Toro Customer Care Department at the number(s) listed in your Emission Control Warranty Statement. Remove the kit from the engine and restore the engine to its original factory configuration when running the engine under 1500 m (5,000 ft). Do not operate an engine that has been converted for high-altitude use at lower altitudes; otherwise, you could overheat and damage the engine.
If you are unsure whether or not your machine has been converted for high-altitude use, look for the following label (Figure 3).

WARNING
CALIFORNIA Proposition 65 Warning
The engine exhaust from this product contains chemicals known to the State of California to cause cancer, birth defects, or other reproductive harm.
Use of this product may cause exposure to chemicals known to the State of California to cause cancer, birth defects, or other reproductive harm.
Safety
This machine has been designed in accordance with ANSI/OPEI B71.3 specifications.
General Safety
This product is capable of amputating hands and feet and of throwing objects. Always follow all safety instructions to avoid serious personal injury.
- Read and understand the contents of this Operator’s Manual before you start the engine.
Ensure that everyone using this product knows how to use it, knows how to shut off the engine quickly, and understands the warnings. - Shut off the engine whenever you leave the operating position for any reason.
- Do not put your hands or feet near moving parts on the machine.
- Do not operate the machine without all guards and other safety protective devices in place and working.
- Keep clear of any discharge opening. Keep bystanders, especially small children, out of the operating area.
- Never allow children to operate the machine.
Safety and Instructional Decals
Safety decals and instructions are easily visible to the operator and are located near any area of potential danger. Replace any decal that is damaged or missing.

- Cutting/dismemberment hazard, impeller; cutting/dismemberment hazard, auger—do not place your hand in the chute; remove the key and read the Operator’s Manual before performing maintenance.

| 1. Primer 2. Push the primer 2 times to prime the engine. 3. Push in the key to switch the engine on. | 4. Pull the key to switch the engine switch off. 5. Remove the key to lock the machine. 6. Read the Operator’s Manual before checking the engine-oil level. |
WARNING: Cancer and Reproductive Harm – www.P65Warnings.ca.gov. For more information, please visit www.ttcoCAProp65.com
133-8061

- Warning—read the Operator’s Manual.
- Cutting/dismemberment hazard, impeller—shut off the engine and wait for the auger to stop before leaving the machine.
- Thrown object hazard—keep bystanders away.
- Explosion hazard—do not tip machine forward or backward.
- To engage the auger, squeeze the control bar.
- To disengage the auger, release the control bar.
Setup
1 Installing the Handle
No Parts Required
Procedure

2 Installing the Discharge Chute
No Parts Required
Procedure

3 Installing the Recoil-Start Handle
No Parts Required
Procedure

4 Adding Oil to the Engine
No Parts Required
Procedure

5 Adjusting the Control Cable
No Parts Required
Procedure
Refer to Checking and Adjusting the Control Cable (page 15).
Product Overview

| 1. Control bar 2. Recoil-start handle 3. Spring cover 4. Fuel-tank cap 5. Chute handle | 6. Chute-deflector trigger 7. Chute deflector 8. Discharge chute 9. Rotor blades |
| 1. Spark plug 2. Oil-fill cap 3. Oil-drain plug 4. Choke lever | 5. Primer 6. Key 7. Electric-start button (electric-start model only) 8. Plug-in for electric start (electric-start model only) |
Specifications
| Model | Weight | Length | Width | Height |
| 38472 | 24.5 kg (54 Ib) | 94 cm (37 inches) | 48 cm (19 inches) | 114 cm (45 inches) |
| 38473 | 26.3 kg (58 Ib) |
Attachments/Accessories
A selection of Toro approved attachments and accessories is available for use with the machine to enhance and expand its capabilities. Contact your Authorized Service Dealer or authorized Toro distributor or go to www.Toro.com for a list of all approved attachments and accessories.
To ensure optimum performance and continued safety certification of the machine, use only genuine Toro replacement parts and accessories. Replacement parts and accessories made by other manufacturers could be dangerous, and such use could void the product warranty.
Operation
Note: Determine the left and right sides of the machine from the normal operating position.
Before Operation
Before Operation Safety
General Safety
- For electric-start models only: Use extension cords and receptacles as specified in the manual.
Inspect the electrical cord before plugging it into a power source. If the cord is damaged, replace it. Unplug the power cord whenever you are not starting the machine. - Wear appropriate clothing, including eye protection; long pants; substantial, slip-resistant footwear; and hearing protection. Tie back long hair, secure loose clothing, and do not wear loose jewelry.
- Thoroughly inspect the area where you will use the machine, and remove all doormats, sleds, boards, wires, and other foreign objects.
- If a shield, safety device, or decal is damaged, illegible, or missing, repair or replace it before beginning operation. Also, tighten any loose fasteners.
Fuel Safety
Fuel is extremely flammable and explosive. A fire or explosion from fuel can burn you and others.
- To prevent a static charge from igniting the fuel, place the container and/or machine on the ground before filling, not in a vehicle or on an object.
- Fill the fuel tank outdoors when the engine is cold.
Replace the fuel cap securely and wipe up spills. - Do not handle fuel when smoking or around an open flame or sparks.
- Store fuel in an approved fuel container, out of the reach of children.
- When fuel is in the tank, tip the machine only as directed in the instructions.
- If you spill fuel on your clothing, change your clothing immediately.
Filling the Fuel Tank
- For best results, use only clean, fresh (less than 30 days old), unleaded gasoline with an octane rating of 87 or higher ((R+M)/2 rating method).
- Oxygenated fuel with up to 10% ethanol or 15% MTBE by volume is acceptable.
- Do not use ethanol blends of gasoline (such as E15 or E85) with more than 10% ethanol by volume. Performance problems and/or engine damage may result which may not be covered under warranty.
- Do not use gasoline containing methanol.
- Do not store fuel either in the fuel tank or fuel containers over the winter unless you use a fuel stabilizer.
- Do not add oil to gasoline.
Do not fill above the bottom of the fuel tank neck (Figure 10).

Important: For best results, purchase only the quantity of fuel that you expect to use in 30 days.
Otherwise, you may use fuel stabilizer/conditioner in the machine at all times to keep the fuel fresh longer when used as directed by the fuel-stabilizer manufacturer.
Checking the Engine-Oil Level
Service Interval: Before each use or daily

During Operation
During Operation Safety
General Safety
- Shut off the engine before unclogging the machine and always use a stick or the snow-cleanout tool (if provided).
- Stay behind the handles and away from the discharge opening while operating the machine.
Keep your face, hands, feet, and any other part of your body or clothing away from moving or rotating parts. - Never direct the discharge toward people or areas where property damage can occur.
- Use your full attention while operating the machine. Do not engage in any activity that causes distractions; otherwise, injury or property damage may occur.
- Exercise caution to avoid slipping or falling, especially when operating the machine in reverse.
- Always be sure of your footing, and keep a firm hold on the handles. Walk; never run.
- Exercise extreme caution when operating the machine on a slope.
- Do not operate the machine without good visibility or light.
- Look behind and use care when backing up the machine.
- When not actively clearing snow, disengage power to the auger.
- Exercise extreme caution when operating the machine on walks or roads. Stay alert for hidden hazards or traffic.
- Never attempt to make any adjustments while the engine is running, except as directed in the instructions.
- After striking a foreign object, shut off the engine, remove the key, and inspect the machine for damage. Repair any damage before starting the machine.
- If the machine starts to vibrate abnormally, shut off the engine and check immediately for the cause.
- Do not run the engine indoors; exhaust fumes are dangerous.
- Do not overload the machine capacity by attempting to clear snow at too fast a rate.
- Shut off the engine whenever you leave the operating position, before clearing or unclogging the collector, rotor, or discharge chute, and when making any repairs, adjustments, or inspections.
Starting the Engine
Electric-Start Model
Note: Remove your glove when you push in the primer so that air cannot escape from the primer hole.
Important: Do not use the primer or the choke if the engine has been running and is hot. Excessive priming may flood the engine and prevent it from starting.
To use the electric starter (electric-start models only), connect a power cord to the electric-start plug-in first and then to a ground fault circuit interrupter (GFCI) power outlet. Use only a UL-listed, 16-gauge power cord recommended for outdoor use that is not longer than 15 m (50 ft).
WARNING
The electrical cord can become damaged, causing a shock or fire.
Thoroughly inspect the electrical cord before plugging it into a power source. If the cord is damaged, do not use it. Replace or repair the damaged cord immediately. Contact an Authorized Service Dealer for assistance.
Important: Run the electric starter no more than 10 times at intervals of 5 seconds on, then 5 seconds off. Running the electric starter extensively can overheat and damage it. If the engine does not start after this series of attempts, wait at least 40 minutes to allow the starter to cool before attempting to start it again. If the engine does not start after the second series of attempts, take the machine to an Authorized Service Dealer for service.
If the recoil starter does not operate properly, it may be frozen. Thaw out the starter before attempting to start the machine.
CAUTION
If you leave the machine plugged into a power source, someone can inadvertently start the machine and injure people or damage property (electric-start models only).
Unplug the power cord whenever you are not starting the machine.

Standard Model
Note: Remove your glove when you push in the primer so that air cannot escape from the primer hole.
Important: Do not use the primer or the choke if the engine has been running and is hot. Excessive priming may flood the engine and prevent it from starting.

Engaging the Rotor Blades
To engage the rotor blades, hold the control bar against the handle (Figure 14).

Disengaging the Rotor Blades
To disengage the rotor blades, release the control bar (Figure 15).

Shutting Off the Engine
To shut off the engine, pull the ignition key outward until it clicks into the OFF position (Figure 16) or move the choke lever fully to the right (B of Figure 13).

- Ignition key
Adjusting the Discharge Chute and Chute Deflector
To adjust the discharge chute, move the chute handle as shown in Figure 17.

- Chute handle
To raise or lower the angle of the chute deflector, press the trigger on the chute deflector and move the chute deflector up or down (Figure 18). Release the trigger to lock the chute deflector in place.

- Trigger
- Chute deflector
Clearing a Clogged Discharge Chute
To clear the chute:
- Shut off the engine.
- Wait 10 seconds to ensure that the rotor blades have stopped rotating.
- Always use a clean-out tool; never use your hands.
Self-Propelling the Snowthrower
Lift the machine handle until the wheels are just off the ground and the scraper and rotor blades touch the ground. The machine propels forward (Figure 19).

- Wheels off the ground
- Scraper and rotor blades in contract with the ground
Note: By slightly varying lifting force on the handle, you can control the forward speed of the machine. In heavy snow, push forward on the handle, if necessary, but let the machine work at its own pace. Do not lift the handle any more than necessary, because the scraper lifts off the ground and snow escapes behind the machine.
Operating Tips
WARNING
The rotor blades can throw stones, toys, and other foreign objects and cause serious personal injury to you or bystanders.
- Keep the area to be cleared free of all objects that the rotor blades could pick up and throw.
- Keep all children and pets away from the area of operation.
- Remove the snow as soon as possible after it falls.
- Overlap each swath to ensure complete snow removal.
- Discharge the snow downwind whenever possible.
- If the machine does not propel itself forward on slippery surfaces or in heavy snow, push forward on the handle, but allow the machine to work at its own pace.
- The machine may leave rubber marks on new brushed or light-colored concrete. Test on an inconspicuous location before use. These marks are not permanent.
After Operation
After Operation Safety
General Safety
- Never store the machine with fuel in the fuel tank inside a building where ignition sources are present, such as hot water heaters, space heaters, or clothes dryers. Allow the engine to cool before storing the machine in any enclosure.
- When storing the machine for more than 30 days, refer to Storage (page 20) for important information.
- Run the machine a few minutes after throwing snow to prevent freeze-up of the collector and rotor.
Preventing Freeze-up after Use
- Let the engine run for a few minutes to prevent moving parts from freezing. Shut off the engine, wait for all moving parts to stop, and remove ice and snow from the machine.
- Clean off any snow and ice from the base of the chute.
- Rotate the discharge chute left and right to free it from any ice buildup.
- With the key removed, pull the recoil-start handle several times or connect the electrical cord to a power source and the machine and push the electric-start button once to prevent the recoil starter and/or the electric starter from freezing up (electric-start models only).
- In snowy and cold conditions, some controls and moving parts may freeze. Do not use excessive force when trying to operate frozen controls. If you have difficulty operating any control or part, start the engine and let it run for a few minutes.
Maintenance
Recommended Maintenance Schedule(s)
| Maintenance Service Interval | Maintenance Procedure |
| After the first hour | • Check the control cable and adjust it if necessary. • Check for loose fasteners and tighten them if necessary. |
| After the first 2 hours | • Change the engine oil. |
| Before each use or daily | • Check the engine-oil level and add oil if necessary. |
| Yearly | • Check the control cable and adjust it if necessary. • Inspect the rotor blades and have an Authorized Service Dealer replace the rotor blades and scraper if necessary. • Change the engine oil. • Service the spark plug and replace it if necessary. • Check for loose fasteners and tighten them if necessary. • Have an Authorized Service Dealer inspect the drive belt and replace it if necessary. |
| Yearly or before storage | • Prepare the machine for storage. |
Maintenance Safety
Read the following safety precautions before performing any maintenance on the machine:
- Before servicing, adjusting, or cleaning the machine, shut off the engine and remove the key. If major repairs are ever needed, contact an Authorized Service Dealer.
- Always wear eye protection while performing an adjustment or repair to protect your eyes from foreign objects that the machine may throw.
- Check all fasteners at frequent intervals for proper tightness to ensure that the machine is in safe working condition.
- Do not change the governor settings on the engine. Purchase only genuine Toro replacement parts and accessories.
Maintenance Safety
Read the following safety precautions before performing any maintenance on the machine:
- Shut off the engine, remove the key, and wait for all movement to stop before you leave the operator’s position. Allow the machine to cool before adjusting, servicing, cleaning, or storing it.
- Always wear eye protection while performing an adjustment or repair to protect your eyes from foreign objects that the machine may throw.
- Check all fasteners at frequent intervals for proper tightness to ensure that the machine is in safe working condition.
- Do not change the governor settings on the engine.
Purchase only genuine Toro replacement parts and accessories.
Checking and Adjusting the Control Cable
Checking the Control Cable
Service Interval: After the first hour—Check the control cable and adjust it if necessary.
Yearly—Check the control cable and adjust it if necessary.
Important: You must check and may need to adjust the control cable before you operate the machine for the first time.
Move the control bar back toward the handle to remove the slack in the control cable (Figure 20).

- Control bar
- 2 to 3 mm (1/16 to 1/8 inch)
Note: Ensure that a gap of 2 to 3 mm (1/16 to 1/8 inch) exists between the control bar and the handle (Figure 20).
Important: The control cable must contain some slack when you disengage the control bar for the rotor blades to stop properly.
Adjusting the Control Cable
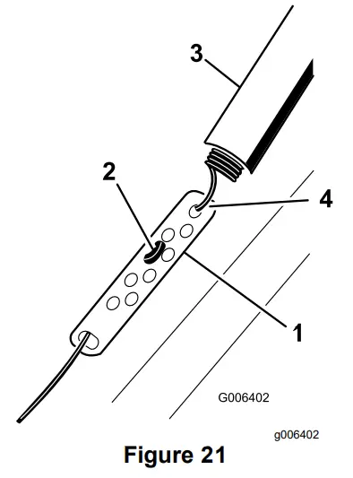
- Slide up the spring cover and unhook the spring from the adjuster link (Figure 21).
1. Adjuster link
2. Z-fitting
3. Spring cover
4. Unhook the spring here.
Note: You can pull up the adjuster link and cable to make unhooking the spring easier. - Move the Z-fitting to a higher or lower hole on the adjuster link as needed to obtain the 2 to 3 mm (1/16 to 1/8 inch) gap between the control bar and the handle (Figure 21).
Note: Moving the Z-fitting higher decreases the gap between the control bar and the handle; moving it lower increases the gap. - Hook the spring to the adjuster link and slide the spring cover over the adjuster link.
- Check the adjustment; refer to Checking the Control Cable (page 15).
Note: The belt may slip (squeal) in wet conditions; to dry out the drive system, start the rotor and run it without a load for 30 seconds.
Inspecting the Rotor Blades
Service Interval: Yearly—Inspect the rotor blades and have an Authorized Service
Dealer replace the rotor blades and scraper if necessary.
Before each session, inspect the rotor blades for wear. When a rotor-blade edge has worn down to the wear-indicator hole, have an Authorized Service
Dealer replace the rotor blades and the scraper (Figure 22).

- The wear-indicator hole is intact; you do not need to replace the rotor blades.
- The wear-indicator hole is exposed; replace the rotor blades and scraper.
Changing the Engine Oil
Service Interval: After the first 2 hours
Yearly
If possible, run the engine for a few minutes before changing the oil to warm it. Warm oil flows better and carries more contaminants.
Engine Oil Specifications
Engine Oil Specifications (cont’d.)
| Engine oil capacity | 0.35 L (12 fl oz)* |
| Oil viscosity | Refer to Figure 24. |
| API service classification | SJ or higher |
*There is residual oil in the crankcase after you drain the oil. Do not pour the entire capacity of oil into the crankcase. Fill the crankcase with oil as directed in the following steps.
- Ensure that the fuel tank is not overfilled (refer to Figure 7) and that the fuel cap is securely in place.
- Move the machine to a level surface.
- Place an oil-drain pan under the oil-drain plug (Figure 9), remove the oil-drain plug, and tip the machine backward (handle down) halfway to the ground to drain the used oil into the oil-drain pan.
Important: Do not tip the machine all the way back to the ground, or fuel may leak out of the machine. - After draining the used oil, return the machine to the operating position.
- Install the oil-drain plug and tighten it securely.
- Clean around the oil fill/dipstick (Figure 9).
- Unscrew the dipstick and remove it.
- Carefully pour about 3/4 of the engine capacity of oil into the oil-fill tube.
Note: To determine the proper oil level on the dipstick, refer to Figure 23.
1. The oil level is at its maximum.
2. The oil level is too high—remove oil from the crankcase.
3. The oil level is too low—add oil to the crankcase.
Note: You may tip the machine forward (handle up) a little to make adding oil easier. Remember to return the machine to the operating position before checking the oil level.
Important: Do not tip the machine all the way forward onto its nose, or fuel may leak out of the machine.
Use Figure 24 to select the best oil viscosity for the outdoor temperature range expected:
- Wait 3 minutes for the oil to settle in the engine.
- Wipe the dipstick clean with a clean cloth.
- With the machine in the operating position, insert the dipstick into the oil-fill tube, but do not screw it in, then remove the dipstick.
- Read the oil level on the dipstick.
• If the oil level on the dipstick is too low, carefully pour a small amount of oil into the oil-fill tube, wait 3 minutes, and repeat steps 10 through 12 until the oil level on the dipstick is correct.
• If the oil level on the dipstick is too high, drain the excess oil until the oil level on the dipstick is correct.
Important: If the oil level in the engine is too low or too high and you run the engine, you may damage the engine. - Install the dipstick into the oil-fill tube securely.
- Recycle the used oil properly.
Servicing the Spark Plug
Service Interval: Yearly—Service the spark plug and replace it if necessary.
Use a Toro spark plug (Part No. 119-1961).
- Shut off the engine and wait for all moving parts to stop.
- Disconnect the wire from the spark plug (Figure 9).
- Clean around the spark plug.
- Remove the spark plug from the cylinder head.
Important: Replace a cracked, fouled, or dirty spark plug. Do not clean the electrodes because grit entering the cylinder can damage the engine. - Set the gap on the plug to 0.76 mm (0.030 inch) as shown in Figure 25.
1. Center-electrode insulator
2. Side electrode
3. Air gap (not to scale) - Install the spark plug and torque it to 27 to 30 N∙m (20 to 22 ft-lb).
- Connect the wire to the spark plug.
Replacing the Drive Belt
If drive belt becomes worn, oil-soaked, excessively cracked, frayed, or otherwise damaged, replace the belt.
- Remove the 4 bolts that hold the drive-belt cover (Figure 26) in place.
1. Drive-belt cover
Note: The lower front corner of the drive-belt cover is fastened down with a smaller bolt, a washer, and a locknut. - Remove the belt from the rotor pulley.
- Press down on the idler arm and remove the belt from between the tab on the idler-arm brake and the rotor pulley.
Note: The belt guide for the engine pulley is very close to the pulley, and the belt may not fit through the gap. - Twist the belt out in front of the belt guide so that the belt is wedged between the belt guide and the engine pulley.
- Insert a screwdriver into the hole in the belt guide as shown in Figure 27, and flex the belt guide toward the rotor pulley enough to pull the belt through the gap.
1. Belt guide
2. Engine pulley
Note: Do not distort or damage the belt guide. - To install the new drive belt, reverse the steps above.
Important: Ensure that you install the drive belt so that it sits above the 2 tabs on the idler arm and below the idler-arm brake (Figure 28).
1. Rotor pulley
2. Idler-arm brake
3. Drive belt
4. Idler arm5. Idler pulley
6. Engine pulley
7. Tabs on the idler arm - Install the drive-belt cover with the fasteners that you removed in step 1.
Storage
Storage Safety
- Shut off the engine, remove the key, and wait for all movement to stop before you leave the operator’s position. Allow the machine to cool before adjusting, servicing, cleaning, or storing it.
- Fuel fumes are highly flammable, explosive, and dangerous if inhaled. If you store the product in an area with an open flame, the fuel fumes may ignite and cause an explosion.
- Do not store the machine in a house (living area), basement, or any other area where ignition sources may be present, such as hot water and space heaters, clothes dryers, furnaces, and other appliances.
- Do not tip the machine either forward or backward with fuel in the fuel tank; otherwise, fuel may leak out of the machine.
- Do not store the machine with its handle tipped down onto the ground; otherwise, oil may leak into the engine cylinder and onto the ground, and the engine may not start.
Storing the Machine
- On the last refueling of the season, add fuel stabilizer to fresh fuel as directed by the fuel-stabilizer manufacturer.
Important: Do not store fuel longer than that suggested by the fuel-stabilizer manufacturer. - Run the engine for 10 minutes to distribute the conditioned fuel through the fuel system.
- Shut off the engine, allow it to cool, and siphon the fuel tank or run the engine until it shuts off.
- Start the engine and run it until it shuts off.
- Choke or prime the engine, start it a third time, and run the engine until it does not start.
- Drain the fuel from the tank and carburetor by performing the following steps:
A. Loosen the fuel-tank cap.
B. Unscrew, but do not remove, the small screw on the side of the carburetor fuel bowl (Figure 29) until the fuel begins to drain from the carburetor.
Important: Do not remove the carburetor bowl bolt on the bottom of the carburetor.
1. Carburetor bowl bolt—do not remove
2. Small screw on carburetor
C. Wait for a few minutes until the fuel has drained, then install the fuel cap and tighten the small screw on the carburetor.
Note: Use a handheld Phillips screwdriver to tighten the carburetor screw. Overtightening the screw could strip it and cause leaking. - Dispose of unused fuel properly. Recycle it according to local codes, or use it in your automobile.
- While the engine is still warm, change the engine oil. Refer to Changing the Engine Oil (page 16).
- Remove the spark plug.
- Squirt 10 ml (2 tsp) of oil into the spark-plug hole.
- Install the spark plug by hand and then torque it to 27 to 30 N∙m (20 to 22 ft-lb).
- With the key removed, pull the recoil-start handle slowly to distribute the oil on the inside of the cylinder.
- Clean the machine.
- Touch up chipped surfaces with paint available from an Authorized Service Dealer. Sand affected areas before painting, and use a rust preventative to prevent the metal parts from rusting.
- Tighten any loose fasteners. Repair or replace any damaged parts.
- Cover the machine and store it in a clean, dry place out of the reach of children. Allow the engine to cool before storing the machine in any enclosure.
Notes:
California Proposition 65 Warning Information
What is this warning?
You may see a product for sale that has a warning label like the following:
WARNING: Cancer and Reproductive Harm—www.p65Warnings.ca.gov.
What is Prop 65?
Prop 65 applies to any company operating in California, selling products in California, or manufacturing products that may be sold in or brought into California. It mandates that the Governor of California maintain and publish a list of chemicals known to cause cancer, birth defects, and/or other reproductive harm. The list, which is updated annually, includes hundreds of chemicals found in many everyday items. The purpose of Prop 65 is to inform the public about exposure to these chemicals.
Prop 65 does not ban the sale of products containing these chemicals but instead requires warnings on any product, product packaging, or literature with the product. Moreover, a Prop 65 warning does not mean that a product is in violation of any product safety standards or requirements. In fact, the California government has clarified that a Prop 65 warning “is not the same as a regulatory decision that a product is ‘safe’ or ‘unsafe.’” Many of these chemicals have been used in everyday products for years without documented harm. For more information, go to https://oag.ca.gov/prop65/faqs-view-all.
A Prop 65 warning means that a company has either (1) evaluated the exposure and has concluded that it exceeds the “no significant risk level”; or (2) has chosen to provide a warning based on its understanding about the presence of a listed chemical without attempting to evaluate the exposure.
Does this law apply everywhere?
Prop 65 warnings are required under California law only. These warnings are seen throughout California in a wide range of settings, including but not limited to restaurants, grocery stores, hotels, schools, and hospitals, and on a wide variety of products. Additionally, some online and mail order retailers provide Prop 65 warnings on their websites or in catalogs.
How do the California warnings compare to federal limits?
Prop 65 standards are often more stringent than federal and international standards. There are various substances that require a Prop 65 warning at levels that are far lower than federal action limits. For example, the Prop 65 standard for warnings for lead is 0.5 μg/day, which is well below the federal and international standards.
Why don’t all similar products carry the warning?
- Products sold in California require Prop 65 labelling while similar products sold elsewhere do not.
- A company involved in a Prop 65 lawsuit reaching a settlement may be required to use Prop 65 warnings for its products, but other companies making similar products may have no such requirement.
- The enforcement of Prop 65 is inconsistent.
- Companies may elect not to provide warnings because they conclude that they are not required to do so under Prop 65; a lack of warnings for a product does not mean that the product is free of listed chemicals at similar levels.
Why does Toro include this warning?
Toro has chosen to provide consumers with as much information as possible so that they can make informed decisions about the products they buy and use. Toro provides warnings in certain cases based on its knowledge of the presence of one or more listed chemicals without evaluating the level of exposure, as not all the listed chemicals provide exposure limit requirements. While the exposure from Toro products may be negligible or well within the “no significant risk” range, out of an abundance of caution, Toro has elected to provide the Prop 65 warnings. Moreover, if Toro does not provide these warnings, it could be sued by the State of California or by private parties seeking to enforce Prop 65 and subject to substantial penalties.
© 2022—The Toro® Company
8111 Lyndale Avenue South
Bloomington, MN 55420
Register at www.Toro.com.
Original Instructions
Printed in Mexico
All Rights Reserved 

1. Adjuster link
1. The oil level is at its maximum.
1. Center-electrode insulator
1. Drive-belt cover
1. Belt guide
1. Carburetor bowl bolt—do not remove

















