
MODEl #060-4012-4

PARTS INFORMATION
SNOWBLOWER
SERIAl NUMBERR RANGE: All
| To order replacement parts please call: 1-866-523-5218. |
SNOWBLOWER PARTS DIAGRAM

| # | Part Number | Description | Qty. |
| 1 | Figure E | Auger Assembly | 1 |
| 2 | 30133020025000 | Flange Triangle Self-Tapping Screw, M10 × 18, White Zinc | 4 |
| 3 | 23012000105000A | Quick Clip , T=1 mm, Black | 2 |
| 4 | 2301300006A | Wheel Shaft Washer, T=2, 16.2 × 36, White Zinc | 2 |
| 5 | 31013020015000 | Thin Flat Key, B4 × 6 × 32, 45#, Black | 2 |
| 6 | 2301600009B | Wheel Assembly, 15 × 5, Airless,Rubber | 2 |
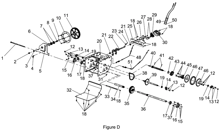
| 7 | Figure D | Drivetrain Assembly | 1 |
| 8 | 23041000020001A | Belt Protection Cover,HDPE, Black | 1 |
| 9 | 23033000485000A | Flange Triangle Self-Tapping Screw, M6 × 16, White Zinc | 2 |
| 10 | 23036000045000 | Auger Belt Gates, 5LXA985E | 1 |
| 11 | 2303600005A | Drive Belt Megadyne HTD 880-5M15 | 1 |
| 12 | 30133020035000 | Flange Triangle Self-Tapping Screw, M8 × 16, White Zinc | 8 |
| 13 | Figure F | Chute Assembly | 1 |
| 14 | 2309900012 | Nylon Cable Tie, 2.5 × 200 | 3 |
| 15 | 23062000780265B | Lower Handle, Black | 1 |
| 16 | 3091309008500 | Half-Round Head Square Neck Bolt, M8 × 50, Blue White Zinc | 4 |
| 17 | 21061000110301A | Curved Washer | 4 |
| 18 | 21061000400301A | Rotating Knob, Black | 4 |
| 19 | 23061000490301A | Cord Clamp, Black | 1 |
| 20 | Figure G | Handle Assembly | 1 |
| 21 | 23089000025000A | Power Outlet Wire | 1 |
| 22 | 23089000035000A | AC Start Line, 1830 mm | 1 |
| 23 | 30323060045000 | Flange Locking Nut, M10, Hexagon, Blue White Zinc | 4 |
| 24 | Figure B | Engine Assembly | 1 |
| 25 | 30313060025000 | Hexagon Nut, M8, Blue White Zinc | 4 |
ENGINE PARTS DIAGRAM

Figure B
| # | Part Number | Description | Qty. |
| 1 | 30913040085000 | Hexagon Bolt, M8 × 35, Blue White Zinc | 1 |
| 2 | 3052301002 | Spring Washer, 8, 65Mn,Black Zinc | 1 |
| 3 | 23032000335000A | Thickened Big Washer, Ø8.2 × Ø30 × 3.7, White Zinc | 1 |
| 4 | 31013010075000 | Flat Key, B7 × 7 × 60, Black | 1 |
| 5 | 2303400006A | Small Belt Pulley, Black | 1 |
| 6 | 2303400005A | Small Synchronous Pulley Side Plate | 1 |
| 7 | 2303400004A | Small Synchronous Pulley | 1 |
| 8 | 30323060035000 | Flange Locking Nut, M8, Hexagon, Blue White Zinc | 1 |
| 9 | 23034000565000A | Shaft Sheath (Thin), Small Tension Pulley, 18 × 6 | 1 |
| 10 | 23034000665000A | Small Tension Pulley , Ø55 × 22.6 | 1 |
| 11 | 2303400003A | Shaft Sheath , Small Tension Pulley | 1 |
| 12 | 23093000205000A | Hexagon Bolt, 30 mm, 5/16″ (24UNF-2A), White Zinc | 1 |
| 13 | 23033000075008B | Belt Lever, Ø6 | 1 |
| 14 | 30512050025000 | Big Washer, Ø8, Blue White Zinc | 1 |
| 15 | 23032001175000A | Small Tensioning Plate, T=3, 108.5 × 46.7 | 1 |
| 16 | 3091309007 | Half-Round Head Square Neck Bolt,M8 x 45,White Zinc | 1 |
| 17 | 23093000175000A | Hexagon Flange Bolt, 20 mm, 5/16″ (24UNF-2A), Black Zinc | 2 |
| 18 | 2309800001A | Small Tension Pulley Spring, Ø1.5 × Ø11.5 × 56.5, White Zinc | 1 |
| 19 | 23034000595000A | Small Tensioning Plate Cushion, 308 × 8 | 1 |
| 20 | 2030100350A | Engine R300S, 301CC | 1 |
| 21 | 2309900016 | Engine Oil | 1 |
ENGINE DETAIl DIAGRAM


ENGINE DETAIl PART lIST
| # | Part Number | Description | Qty. |
| 1 | 12034-Z080110-0091 | Cylinder Head Cover Gasket Subassembly, Blue White Zinc | 1 |
| 2 | 12410-Z310110-01A0 | Cylinder Head Cover Subassembly, Blue White Zinc | 1 |
| 3 | 12004-Z090110-0001 | Cylinder Head Cover Gasket | 1 |
| 4 | 14314-Z010110-0000 | Valve Adjusting Nut | 2 |
| 5 | 14313-Z010110-0000 | Valve Adjusting Bolt | 2 |
| 6 | 12112-Z080110-0000 | Valve Spring Retainer | 2 |
| 7 | 12105-Z080110-0000 | Valve Spring Seat | 1 |
| 8 | 12003-Z080110-0000 | Cylinder Head Bolt, M10 × 80 | 4 |
| 9 | 12140-Z0S0311-0B00 | Cylinder Head Subassembly | 1 |
| 10 | 30010-Z010110-0000 | Spark Plug, F6RTC | 1 |
| 11 | 12131-Z0S0110-0000 | Cylinder Head Gasket | 1 |
| 12 | 12110-Z0S0110-0000 | Valves Set | 1 |
| 13 | 13200-Z730110-0099 | Piston Rings Set | 1 |
| 14 | 13122-Z100110-0000 | Piston Pin Clip | 2 |
| 15 | 13010-Z100120-00A0 | Connecting Rod | 1 |
| 16 | 14081-Z080110-0000 | Valve Lifter | 2 |
| 17 | 17004-Z520111-0001 | Breather Tube, Ø10.4 × Ø15, NBR+CSM | 1 |
| 18 | 14312-Z010110-0000 | Valve Lock Nut | 2 |
| 19 | 14311-Z080110-0000 | Valve Rocker | 2 |
| 20 | 14090-Z080110-0000 | Lifter Stopper Plate Subassembly, Blue White Zinc | 1 |
| 21 | 12103-Z080110-0000 | Valve Spring | 2 |
| 22 | 12101-Z080110-0000 | Seal Guide | 1 |
| 23 | 19304-Z110110-0001 | Cylinder Body Shroud, Blue White Zinc | 1 |
| 24 | 90502-1220-00 | Pin, 12 × 20 | 2 |
| 25 | 12121-Z0S0110-0000 | Exhaust Valve | 1 |
| 26 | 12111-Z0S0110-0000 | Inlet Valve | 1 |
| 27 | 13111-Z0S0110-0000 | Piston | 1 |
| 28 | 13121-Z0S0110-0000 | Piston Pin, Ø20 × 55 | 1 |
| 29 | 14070-Z100110-0000 | Valve Rod | 2 |
| # | Part Number | Description | Qty. |
| 30 | 11007-Z080110-0001 | Drain Plug Bolt, M12 × 1.5 × 18, Blue White Zinc | 2 |
| 31 | 90412-Z080110-00A0 | Washer, Ø12 × Ø21 × 2 | 2 |
| 32 | 11310-Z0S0111-0B00 | Crankcase Subassembly | 1 |
| 33 | 90682-Z520310-0000 | Oil Seal, Ø40 × Ø52 × 9 | 1 |
| 34 | 30300-Z520510-0001 | Starting Motor Assembly | 1 |
| 35 | 90547-6208-00A1 | Bearing, 6208 P5C3 | 1 |
| 36 | 13300-Z0S0110-RB00 | Crankshaft Assembly | 1 |
| 37 | 90548-0207-00 | Bearing, 6207 P6 | 1 |
| 38 | 90502-0812-00 | Pin, 8 × 12 | 2 |
| 39 | 11001-Z100220-0000 | Crankcase Gasket | 1 |
| 40 | 16400-Z100110-0000 | Governor Gear Assembly | 1 |
| 41 | 11411-Z520210-0B00 | Crankcase Cover | 1 |
| 42 | 15030-Z080130-L401 | Engine Oil Plug Subassembly, O-Type | 1 |
| 43 | 90682-Z520210-0000 | Oil Seal, Ø35 × Ø52 × 7 | 1 |
| 44 | 15010-Z520211-L401 | Oil Dipstick Subassembly | 1 |
| 45 | 37060-Z080120-0000 | Engine oil Sensor, W/O Nut | 1 |
| 46 | 14200-Z520210-0009 | Camshaft Assembly | 1 |
| 47 | 90684-Z030120-0001 | Clip | 2 |
| 48 | 37050-Z010210-0001 | Oil Protector, Blue White Zinc | 1 |
| 49 | 28101-Z080110-0001 | Rubber Plug, Black | 1 |
| 50 | 30140-Z520810-0000 | Charging Coil | 1 |
| 51 | 30001-Z090110-0000 | Clamp, Charging Coil | 1 |
| 52 | 13510-Z110110-0000 | Flywheel Subassembly | 1 |
| 53 | 19352-Z100120-00A0 | Impeller | 1 |
| 54 | 90204-Z520110-0001 | Stud, M6 × 92.8 | 1 |
| 55 | 16614-Z520210-0001 | Fuel Tank Shield | 1 |
| 56 | 11011-Z1S0110-0001 | Oil Drain Tube | 1 |
| 57 | 90408-Z010510-0000 | Washer, Ø10 × Ø15.8 × 1.5 | 1 |
| 58 | 11007-Z010110-0001 | Drain Plug Bolt, M10 × 1.25 × 15, Blue White Zinc | 1 |
| 59 | 28002-Z100210-0000 | Starter Pulley, Blue White Zinc | 1 |
| # | Part Number | Description | Qty. |
| 60 | 13501-Z080110-0000 | Flywheel Nut, M16 × 1.5, Blue White Zinc | 1 |
| 61 | 28110-Z110110-HL00 | Shroud | 1 |
| 62 | 28200-Z520210-HL00 | Recoil Starter Assembly | 1 |
| 63 | 30400-Z090210-0001 | Ignition Coil | 1 |
| 64 | 30423-Z520510-00A0 | Ignition Coil Stop Engine Wire | 1 |
| 65 | 90204-Z080320-0301 | Stud, M6/8 × 127 | 2 |
| 66 | 17002-Z100110-0000 | Inlet Gasket | 1 |
| 67 | 16003-Z520110-0001 | Carburetor Insulator Plate | 1 |
| 68 | 16001-Z520110-0000 | Carburetor Gasket | 1 |
| 69 | 16100-Z0S0210-R9A1 | Carburetor Assembly | 1 |
| 70 | 17001-Z520210-0000 | Air Cleaner Gasket | 1 |
| 71 | 16116-Z520210-0001 | Oil Cup | 1 |
| 72 | 35610-Z520510-0001 | Control Panel Subassembly | 1 |
| 73 | 90740-Z010210-0001 | Clamp, Ø7.5, Blue White Zinc | 2 |
| 74 | 90686-Z010110-0001 | Fuel Pipe, Ø4.5 × Ø8.5 × 200 | 1 |
| 75 | 16210-Z330310-0001 | Primer Bulb | 1 |
| 76 | 35540-Z1A0110-0000 | Stop Engine Switch Subassembly | 1 |
| 77 | 90681-Z010610-0000 | Seal Ring | 1 |
| 78 | 16161-Z151710-0000 | Main Jet, Standard | 1 |
| 16161-Z151510-0000 | Main Jet, Altitude 3000-6000 Feet | ||
| 16161-Z151910-0000 | Main Jet, Altitude 6000-8000 Feet | ||
| 79 | 16112-Z080110-0000 | Seal Ring | 1 |
| 80 | 16214-Z550110-0000 | Tube Jacket, Primer Bulb | 1 |
| 81 | 90204-Z100320-0301 | Stud, M8 × 54, Black Zinc | 2 |
| 82 | 18001-Z080310-00A0 | Exhaust Outlet Gasket | 1 |
| 83 | 18100-Z520210-H300 | Muffler Assembly | 1 |
| 84 | 90332-Z1F0110-0100 | Lock Nut, M8, Blue White Zinc | 2 |
| 85 | 18140-Z520511-HL00 | Scald Resistant Cover | 1 |
| 86 | CMP-XSQ-006 | Muffler Assembly Kit | 1 |
| 87 | 16072-Z010110-0001 | Governor Support Bolt, M6 × 21, Blue White Zinc | 1 |
| 88 | 16070-Z100120-0001 | Governor Support Subassembly, Blue White Zinc | 1 |
| 89 | 16062-Z100110-0001 | Governeor Rod, Blue White Zinc | 1 |
| # | Part Number | Description | Qty. |
| 90 | 16012-Z080110-0000 | Throttle Valve Returning Spring | 1 |
| 91 | 90501-Z010110-0001 | Pin, Blue White Zinc | 1 |
| 92 | 90682-Z100210-0001 | Oil Seal, Ø8 × Ø14 × 4 | 1 |
| 93 | 90412-Z080210-0000 | Washer, Ø8.4 × Ø19.5 × 0.8 | 1 |
| 94 | 16061-Z100110-0000 | Governor Arm | 1 |
| 95 | 16063-Z4R0110-0101 | Spring, Governor, Blue White Zinc | 1 |
| 96 | 16520-Z520210-0102 | Throttle Control Assembly | 1 |
| 97 | 16730-Z1S0110-Q201 | Fuel Tank Cover | 1 |
| 98 | 16620-Z520310-HLA0 | Fuel Tank | 1 |
| 99 | 16612HZ520130-0100 | Fuel Tank Mounting Frame | 1 |
| 100 | 16618HZ520111-H300 | Fuel Tank Rear Mounting Frame | 1 |
| 101 | 16680-Z010110-0001 | Fuel Tank Oil Outlet Subassembly | 1 |
| 102 | 16617-Z520120-0001 | Fuel Tank Shield 2 | 1 |
| 103 | CMP-QGT-004 | Cylinder Head Assembly Kit | 1 |
| 104 | 12032-Z080110-0101 | Cylinder Head Cover Bolt, Blue White Zinc | 1 |
| 105 | 90001-0835-01 | Hexagon Flange Bolt, M8 x 35, Blue White Zinc | 2 |
| 106 | 90103-0455-5301 | Screw, M4 × 55, Black Zinc | 2 |
| 107 | 90001-0628-01 | Hexagon Flange Bolt, M6 × 28, Blue White Zinc | 4 |
| 108 | 90001-0610-01 | Hexagon Flange Bolt, M6 × 10, Blue White Zinc | 1 |
| 109 | 90001-0616-0109 | Hexagon Flange Bolt, M6 × 16, Blue White Zinc | 3 |
| 110 | 90001-0612-0101 | Hexagon Flange Bolt, M6 × 12, Blue White Zinc | 14 |
| 111 | 90305-Z010210-0101 | Hexagon Flange Nut, M10, Blue White Zinc | 1 |
| 112 | 90001-0840-0101 | Hexagon Flange Bolt, M8 × 40, Blue White Zinc | 7 |
| 113 | 90007-0612-A102 | Hexagon Flange Bolt, M6 × 12, Blue White Zinc | 6 |
| 114 | 90305-0600-3101 | Hexagon Flange Nut, M6, Blue White Zinc | 1 |
| 115 | 90314-Z130210-0501 | Nut, M6 × 17, Chrome Plated | 3 |
| 116 | 90684-Z080110-0001 | Clip | 1 |
| 117 | 90001-0820-0102 | Hexagon Flange Bolt, M8 × 20, Blue White Zinc | 6 |
| 118 | 90001-0620-0101 | Hexagon Flange Bolt, M6 × 20, Blue White Zinc | 1 |
| 119 | 90408-0600-E1 | Washer | 3 |
| 120 | 90001-0608-01 | Hexagon Flange Bolt, M6 × 8, Blue White Zinc | 3 |
DRIVETRAIN DIAGRAM

DRIVETRAIN PART lIST
| # | Part Number | Description | Qty. |
| 1 | 23033000385000A | Housing Connecting Shaft 2, 10 × 320, Black | 1 |
| 2 | 30313090015000 | Hexagon Locking Nut, M12, White Zinc | 1 |
| 3 | 30512040015000 | Flat Washer, 12, d14 × D24 × t 2.6, Blue White Zinc | 1 |
| 4 | 23038000125000C | Extension Spring, Ø8.5 × 44.9, 65Mn | 1 |
| 5 | 23035000395000A | Friction Disc Bracket, T=2.5, 279 × 220.5, Black | 1 |
| 6 | 30413010015000 | Elastic Circlips, 40, 65Mn,Black | 1 |
| 7 | 30613010075000 | Bearing, 6203RS | 2 |
| 8 | 23033000395000A | Large Synchronous Pulley Shaft, M12 × 44.2, Black | 1 |
| 9 | 30213010015000 | Cross Recessed Countersunk Head Screw, M5 × 12, Blue White Zinc | 6 |
| 10 | 23032000795000A | Large Synchronous Pulley Side Plate, 197 × 8 | 1 |
| 11 | 23034000505000A | Large Synchronous Pulley, 197 × 21 | 1 |
| 12 | 30323060035000 | Flange Locking Nut, M8, Hexagon, Blue White Zinc | 7 |
| 13 | 30133020035000 | Flange Triangle Self-Tapping Screw, M8 × 16, White Zinc | 8 |
| 14 | 23052000205000A | Bearing Support, T=1.5 | 4 |
| 15 | 30313090035000 | Hexagon Locking Nut, M6, Blue White Zinc | 6 |
| 16 | 23052000105000A | Pressing Plate, Bearing, T=1.5 mm | 2 |
| 17 | A26800409101 | Bearing, Ø25.4 × Ø52 × 15 | 2 |
| 18 | 23033000485000A | Flange Triangle Self-Tapping Screw, M6 × 16, White Zinc | 14 |
| 19 | 3061301012 | Bearing, Ø12 × Ø28 × 7 | 4 |
| 20 | 23032001440027B | Housing Assembly | 1 |
| 21 | 23031000210001A | Shift Fork Rod Bushing,PA6+GF30 | 2 |
| 22 | 23032000655000A | Gear Shift Fork Assembly, 267.5 × 134, Black Zinc | 1 |
| 23 | 23093000055000A | R Type Plug Pin, 2 × 26.2 × 7.9, White Zinc | 1 |
| 24 | 30813010025000 | Open Pin, 2 × 20,White Zinc | 1 |
| 25 | 23032000590027A | Housing Fixed Plate, 282 × 85 | 1 |
| 26 | 23041000040001A | Waterproof Sheet, PA6+GF30, Black | 1 |
| 27 | 23032000615000B | Speed Adjustment Cable Support, T=3, 146.4 × 45.5 | 1 |
| # | Part Number | Description | Qty. |
| 28 | A26800307801 | Self-Tapping Locking Screw, Trigonodont, M6 × 12, Blue White Zinc | 2 |
| 29 | 23061000470001A | Shift Fork Steering Unit, PA6+GF30 | 1 |
| 30 | 23041000030001A | Shift Fork Cover, HDPE | 1 |
| 31 | 22698000065000A | B Pin, White Zinc | 1 |
| 32 | 23032000510027A | Big Bottom Plate, 6 × 280 × 188 | 1 |
| 33 | 23063000455000A | Gear Box Locking Lever, 10 × 280, Zinc,Blue White | 1 |
| 34 | 2306200104A | Wheel Shaft Bushing Assembly, 180 × 25 | 1 |
| 35 | 23013000105000A | GT Differential Mechanism | 1 |
| 36 | 2301300007A | Wheel Shaft, 591.4 × 17 | 1 |
| 37 | 30913050015000 | Hexagon Flange Bolt, M6 × 12, Blue White Zinc | 6 |
| 38 | 31119010015000 | Chain, 085-1-32 | 1 |
| 39 | 23065000015000B | Sprocket Shaft Welded Assembly, 323 × 106 | 1 |
| 40 | 23033000365000B | Wheeled Six Party Shaft, 19 × 323, 40Cr, Black | 1 |
| 41 | 30823040015000 | Elastic Column Pin, 3 × 30, Black | 2 |
| 42 | 30423010065000 | Shaft Elastic Circlip , Ø35, Black | 1 |
| 43 | 2303200062A | Shifting Fork Riveting, 101 × 75 × 17 | 1 |
| 44 | A26800600601 | Hexagon Bolt, M8 × 22, Black Zinc | 3 |
| 45 | 23032000965000B | Wheeled Six Party Sleeve, 35 × 42 | 1 |
| 46 | 23032000665000A | Friction Wheel Clamp, T=2, 136.5 × 10.2, White Zinc | 2 |
| 47 | 23036000225000A | Friction Wheel Rubber Ring, 147 × 17.2 | 1 |
| 48 | 23068000315000A | Driving Cable | 1 |
| 49 | 2306800008B | Speed Adjustment Cable | 1 |
| 50 | 2306800033A | Speed Adjustment Cable | 1 |
| 51 | 23068000305000A | Auger Cable | 1 |
AUGER PART DIAGRAM

| # | Part Number | Description | Qty. |
| 1 | 23033000385000A | Housing Connecting Shaft 2, 10 × 320, Black | 1 |
| 2 | 30313090015000 | Hexagon Locking Nut, M12, White Zinc | 1 |
| 3 | 30512040015000 | Flat Washer, 12, d14 × D24 × t 2.6, Blue White Zinc | 1 |
| 4 | 23038000125000C | Extension Spring, Ø8.5 × 44.9, 65Mn | 1 |
| 5 | 23035000395000A | Friction Disc Bracket, T=2.5, 279 × 220.5, Black | 1 |
| 6 | 30413010015000 | Elastic Circlips, 40, 65Mn,Black | 1 |
| 7 | 30613010075000 | Bearing, 6203RS | 2 |
| 8 | 23033000395000A | Large Synchronous Pulley Shaft, M12 × 44.2, Black | 1 |
| 9 | 30213010015000 | Cross Recessed Countersunk Head Screw, M5 × 12, Blue White Zinc | 6 |
| 10 | 23032000795000A | Large Synchronous Pulley Side Plate, 197 × 8 | 1 |
| 11 | 23034000505000A | Large Synchronous Pulley, 197 × 21 | 1 |
| 12 | 30323060035000 | Flange Locking Nut, M8, Hexagon, Blue White Zinc | 7 |
| 13 | 30133020035000 | Flange Triangle Self-Tapping Screw, M8 × 16, White Zinc | 8 |
| 14 | 23052000205000A | Bearing Support, T=1.5 | 4 |
| 15 | 30313090035000 | Hexagon Locking Nut, M6, Blue White Zinc | 6 |
| 16 | 23052000105000A | Pressing Plate, Bearing, T=1.5 mm | 2 |
| 17 | A26800409101 | Bearing, Ø25.4 × Ø52 × 15 | 2 |
| 18 | 23033000485000A | Flange Triangle Self-Tapping Screw, M6 × 16, White Zinc | 14 |
| 19 | 3061301012 | Bearing, Ø12 × Ø28 × 7 | 4 |
| 20 | 23032001440027B | Housing Assembly | 1 |
| 21 | 23031000210001A | Shift Fork Rod Bushing,PA6+GF30 | 2 |
| 22 | 23032000655000A | Gear Shift Fork Assembly, 267.5 × 134, Black Zinc | 1 |
| 23 | 23093000055000A | R Type Plug Pin, 2 × 26.2 × 7.9, White Zinc | 1 |
| 24 | 30813010025000 | Open Pin, 2 × 20,White Zinc | 1 |
| 25 | 23032000590027A | Housing Fixed Plate, 282 × 85 | 1 |
| 26 | 23041000040001A | Waterproof Sheet, PA6+GF30, Black | 1 |
| 27 | 23032000615000B | Speed Adjustment Cable Support, T=3, 146.4 × 45.5 | 1 |
| # | Part Number | Description | Qty. |
| 25 | 2303300002A | Bushing, Ø8 × Ø12 × 7, White Zinc | 1 |
| 26 | 2303800001A | Tension Spring, Big Tension Pulley, White Zinc | 1 |
| 27 | 23052000125000B | Pressing Plate, Bearing, THK=2, Ø95 × 8.5, White Zinc | 1 |
| 28 | 23032000675000A | Bushing, 10.5 × 35 × 1, Large Tension Board, White Zinc | 1 |
| 29 | 23032000635000A | Large Tension Board, 313.3 × 40, White Zinc | 1 |
| 30 | 23034000535000A | Bushing, 35 × 6.1, Large Tension Board | 1 |
| 31 | A26800501201 | Hexagon Locking Nut, M10, Blue White Zinc | 1 |
| 32 | 23035000055000A | Big auger Pulley, 14 × 189.2 × 21.5, Black | 1 |
| 33 | 31013010015000 | Flat Key, C6 × 20, Black | 1 |
| 34 | 23032000335000A | Thickened Big Washer, Ø8.2 × Ø30 × 3.7, White Zinc | 1 |
| 35 | 30913040115000 | Hexagon Bolt, M8 × 25, Blue White Zinc | 1 |
| 36 | 30933010015000 | Small Carriage Bolt, M8 × 40, Blue White Zinc | 1 |
| 37 | 23034000555000A | Sheath , Large Tension Wheel | 1 |
| 38 | 23032000105000C | Large Tension Pulley, Ø66.5 × 36.2, THK=1.5 | 1 |
| 39 | 23034000545000A | Sheath (Thin), Large Tension Wheel ,20 × 6.5 | 1 |
| 40 | 23071000230001A | Discharge Chute Antifriction Mat, PA6+GF30, Black | 1 |
| 41 | 30733010025000 | Self-Plugging Rivet, 4 × 15 | 4 |
| 42 | 30512050025000 | Big Washer, 8, Blue White Zinc | 4 |
| 43 | 3031309010 | Hexagon Locking Nut, M8, White Zinc | 4 |
| 44 | 3052301002 | Spring Washer, 8, Black Zinc | 1 |
CHUTE DIAGRAM

| # | Part Number | Description | Qty. |
| 1 | 23075000210027A | Chute Assembly, 453 × 167 × 137, Cool Gray | 1 |
| 2 | 3073301003 | Self-Plugging Rivet, 4 × 10 | 7 |
| 3 | 23076000105000A | Chute Rubber | 1 |
| 4 | 23092000205000A | Hinge, 85 × 22, T=1.5mm,White Zinc | 1 |
| 5 | 23075000020027A | Discharge Chute Deflector | 1 |
| 6 | 23068000185000A | Pressing Spring, Ø1.5 | 1 |
| 7 | 23073000145000A | Positioning Rod, Ø8, White Zinc | 1 |
| 8 | 23072000105000A | Guy Wire Plate 1, T=3 mm, Black | 1 |
| 9 | 30333020025000 | Cap Nut, M5, Blue White Zinc | 1 |
| 10 | 23075000200265B | Chute Support Arm, 493 × 332 × 43 | 1 |
| 11 | 30913040175000 | Hexagon Bolt, M10 × 40 | 1 |
| 12 | 23071000240001A | Chute Pivot, PA6+GF30 | 1 |
| 13 | 30823040035000 | Elastic Column Pin, 1.5 × 16, Black | 1 |
| 14 | 23072000140265B | Chute Pivot Cover, T=2.5, 181.5 × 136.5 × 118.9, Black | 1 |
| 15 | 23073000165000A | Chute Rotating Cable Support Rod, 208 × 58,White Zinc | 1 |
| 16 | 30512050045000 | Big Washer, Ø10, Blue White Zinc | 2 |
| 17 | 30313090085000 | Hexagon Locking Nut, M10, Blue White Zinc | 2 |
| 18 | 2306800007A | Discharge Chute Deflector Cable | 1 |
| 19 | 23032000755000A | Chute Rotating Cable, 1203 mm | 2 |
HANDlE ASSEMBLY DIAGRAM

HANDlE ASSEMBLY PART LIST
| # | Part Number | Description | Qty. |
| 1 | 30113010265000 | Self-Tapping Screw, ST4.2 × 8, Black Zinc | 11 |
| 2 | 23041000090243A | Right Decorative Ring | 1 |
| 3 | 23041000060027A | Light Panel | 1 |
| 4 | 2308900011A | LED Light Assembly, Right | 1 |
| 5 | 30113010255000 | Self-Tapping Screw, ST4.2 × 16, Black Zinc | 6 |
| 6 | 2304100022A | Badge, Chrome | 1 |
| 7 | 2308900010A | LED Light Assembly, Left | 1 |
| 8 | 23041000080243A | Left Decorative Ring | 1 |
| 9 | 2308100003A | Panel Wiring Harness, 0.75mm2 × 100 | 1 |
| 10 | 2281100002B | Cable Pressing Plate, PA6+GF30 | 2 |
| 11 | 30113010095000 | Self-Tapping Screw, ST4.2 × 12, Black Zinc | 14 |
| 12 | 30313090025000 | Hexagon Locking Nut, M8, White Zinc | 7 |
| 13 | 23065000260265A | Panel Fixed Plate Assembly, 463 × 166 × 210 | 1 |
| 14 | 30913090095000 | Half-Round Head Square Neck Bolt, M8 × 40, Blue White Zinc | 4 |
| 15 | 23062000830265A | Front Adjustment Plate,165 × 35 | 1 |
| 16 | A26800104801 | Self-Tapping Screw, ST5 × 30, Blue White Zinc | 2 |
| 17 | 30512050035000 | Big Washer, 5, Blue White Zinc | 2 |
| 18 | 30113010125000 | Self-Tapping Screw, ST4.8 × 12, Black Zinc | 4 |
| 19 | 23041000070027A | Top Panel | 1 |
| 20 | 20114000605000A | Rocker Switch, 125V, 20A | 1 |
| 21 | 23093000195000B | B Pin, White Zinc | 8 |
| 22 | 30512050025000 | Big Washer, 8, Blue White Zinc | 3 |
| 23 | 23068000135000B | Gear Pressing Spring, Ø14.5 × 33.75, White Zinc | 3 |
| 24 | 23063000525000A | Left Adjustment Lever, T=3 | 1 |
| 25 | 23066000135000A | Handle, 41 × 41 × 63, Black | 3 |
| 26 | 20313000995000A | Hexagon Flange Bolt, M8 × 50, Blue White Zinc | 3 |
| 27 | 23032001045000A | Front Adjustment Lever, T=3 | 1 |
| 28 | 2306200087A | Right Adjustment Lever | 1 |
| 29 | 23062000800265B | Right Upper Handle, 25 × 2.5 | 1 |
| # | Part Number | Description | Qty. |
| 30 | 23062000790265B | Left Upper Handle, 25 × 2.5 | 1 |
| 31 | 30313090055000 | Hexagon Locking Nut, M5, Blue White Zinc | 2 |
| 32 | 23062000820265A | Right Trigger, T=2, 220 × 89.5 × 42.5, Black | 1 |
| 33 | 23063000075000A | Trigger Bolt, M5 × 45, White Zinc | 2 |
| 34 | 30913070135000 | Hexagon Flange Bolt, M6 × 55, Blue White Zinc | 2 |
| 35 | 30423010095000 | Shaft Elastic Circlip, 6, Black | 1 |
| 36 | 23068000295000A | Self-Locking Tension Spring, 1 × 28, White Zinc | 1 |
| 37 | 23061000480301A | Handle Support Unit | 2 |
| 38 | 30313090035000 | Hexagon Locking Nut, M6, Blue White Zinc | 2 |
| 39 | 23065000275000A | Self-Locking Plate Assembly, Right Trigger, 62.5 × 36 × 30, Black | 1 |
| 40 | 23063000515000A | Self-Locking Fixed Pin Shaft, 6 × 33, Black | 1 |
| 41 | 23068000325000A | Self-Locking Cable, 745 mm | 1 |
| 42 | 23069000105015A | Handle, Heated, Ø34.5 × 132 | 2 |
| 43 | 23062000810265A | Left Trigger, T=2, 220 × 89.5 × 42.5, Black | 1 |
| 44 | 23053000055000A | Shear Pin, Ø8 × 42.5, Blue White Zinc | 4 |
| 45 | 2306600002 | Silicon Tube,Ø9 × Ø12 | 2 |
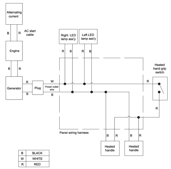
WIRING DIAGRAM



















