2608402CO
SNOW THROWER
OPERATOR MANUAL

SNB404
www.greenworkstools.com
DESCRIPTION
PURPOSE
This machine is used to remove and clear away snow from pavements, gardens, driveways and other ground-level surfaces.
OVERVIEW

| 1. Bail lever 2. Upper handle 3. Middle handle 4. Lower handle 5. Cam lock 6. Battery door | 7. Scraper 8. Impeller 9. Discharge chute 10. Chute deflector 11. Chute-rotation handle |
PACKING LIST
- Snow thrower bare tool
- Chute deflector assembly
- Quick-release lever assembly
- Chute-rotation box assembly
- Upper handle assembly
- Middle handle assembly
- Manual
GENERAL POWER TOOL SAFETY WARNINGS
WARNING
Read all safety warnings and all instructions. Failure to follow the warnings and instructions may result in electric shock, fire and/or serious injury.
Save all warnings and instructions for future reference.
The term “power tool” in the warnings refers to your battery operated (cordless) power tool.
TRAINING
- Do not allow children under the age of 14 to operate this tool. Children who are 14 years of age or older must read and understand the operating instructions and safety rules in this manual and must be trained and supervised by a parent.
- Read the operating and service instruction manual carefully. Be thoroughly familiar with the controls and the proper use of the power tool. Know how to stop the unit and disengage the controls quickly.
- Never allow children to operate the power tool. Never allow adults to operate the power tool without proper instruction.
- Keep the area of operation clear of all persons, particularly small children, and pets.
- Exercise caution to avoid slipping or falling, especially when operating in reverse.
- Do not use on graveled surfaces.
- Dress Properly – Do not wear loose clothing or jewelry. They can be caught in moving parts.
- Wear appropriate boots when operating the snow thrower.
- Operation of the snow thrower in the hand-held position is unsafe, except in accordance with the special instructions for such use provided in the operator’s manual.
PREPARATION
- Thoroughly inspect the area where the power tool is to be used and remove all doormats, sleds, boards, wires, and other foreign objects.
- Do not operate the power tool without wearing adequate winter garments. Wear footwear, which will improve footing on slippery surfaces.
- Adjust the housing height to clear gravel or crushed rock surface.
- Never attempt to make any adjustments while the machine is running (except where specifically recommended by manufacturer).
- Always wear safety glasses or eye shields during operation or while performing an adjustment or repair to protect eyes from foreign objects that may be thrown from the machine.
- Prevent unintentional starting. Ensure the switch is in the off-position before connecting to battery pack, picking up or carrying the appliance. Carrying the appliance with your finger on the switch or energizing appliance that have the switch on invites accidents.
- Disconnect the battery pack from the appliance before making any adjustments, changing accessories, or storing appliance. Such preventive safety measures reduce the risk of starting the appliance accidentally.
- When battery pack is not in use, keep it away from other metal objects,like paper clips, coins, keys, nails, screw or other small metal objects, that can make a connection from one terminal to another. Shorting the battery terminals together may cause burns or a fire.
OPERATION
- Do not put hands or feet near or under rotating parts. Keep clear of the discharge opening at all times.
- Exercise extreme caution when operating on or crossing gravel drives, walks, or roads. Stay alert for hidden hazards or traffic.
- After striking a foreign object, turn the machine off and remove the battery pack, and then inspect it for damage. Repair any damage before restarting and using the machine.
- If the power tool should start to vibrate abnormally, stop the machine and check immediately for the cause. Vibration is generally a warning of trouble.
- Stop the machine whenever you leave the operating position, before unclogging the collector/impeller housing or discharge guide, and when making any repairs, adjustments, or inspections.
- When cleaning, repairing, or inspecting, make certain the collector/impeller and all moving parts have stopped.
- Exercise extreme caution when operating on slopes.
- Never operate the snow thrower without proper guards, keep other safety protective devices in place and working.
- Never direct the discharge toward people or areas where property damage can occur. Keep children and others away.
- Don’t Overreach – Keep proper footing and balance at all times.
- Do not overload the machine capacity by attempting to clear snow at too fast a rate.
- Don’t Force Snow Thrower – It will perform better and safer at the rate for which it was designed.
- Never operate the power tool at high transport speeds on slippery surfaces. Use care when reversing.
- Never direct discharge at bystanders or allow anyone in front of the power tool.
- Disengage power to the collector/impeller when the power tool is transported or not in use.
- Use only attachments and accessories approved by the manufacturer of the snow thrower (such as wheel weights, counterweights, or cabs).
- Never operate the power tool without good visibility or light. Always be sure of your footing, and keep a firm hold on the handles.
- Walk, never run.
- Clearing a Clogged Discharge Chute.
- Hand contact with the rotating impeller inside the discharge chute is the most common cause of injury associated with snow throwers. Never use your hand to clean out the discharge chute. To clear the chute:
1. SHUT THE ENGINE (Motor ) OFF!
2. Wait 10 seconds to be sure the impeller blades have stopped rotating.
3. Always use a clean-out tool, not your hands. - If the snow thrower strikes a foreign object follow these steps:
1. Stop snow thrower. Release the switch.
2. Remove the battery pack.
3. Inspect for damage.
4. Repair any damage before restarting and operating the snow thrower.
MAINTENANCE
- Check shear bolts; engine-mounted bolt, etc., at frequent intervals for proper tightness to be sure the power tool is in safe working condition.
- Always refer to owner’s guide instructions for important details if the power tool is to be stored for an extended period.
- Store Idle Snow throwers Indoors – When not in use, snow throwers should be stored indoors in a dry, lockedup place – out of reach of children.
- Run the power tool a few minutes after throwing snow to prevent freeze-up of the collector/impeller.
- Do not use a battery pack or appliance that is damaged or modified. Damaged or modified batteries may exhibit unpredictable behavior resulting in fire,explosion or risk of injury.
- Do not expose a battery pack or appliance to fire or excessive emperature space. Exposure to fire or temperature above 265°F (130°C) may cause explosion.
- Follow all charging instructions and do not charge the battery pack or appliance outside of the temperature range specified in the instructions. Charging improperly or at temperatures outside of the specified range may damage the battery and increase the risk of fire.
- Have servicing performed by a qualified repair person using only identical replacement parts. This will ensure that the safety of the product is maintained.
- Do not modify or attempt to repair the appliance or the battery pack (as applicable) except as indicated in the instructions for use and care.
- Maintain Snow Thrower with care – follow instructions for changing accessories.
THE RECOMMENDED AMBIENT TEMPERATURE RANGE:
| Item | Temperature |
| Snow Thrower storage temperature range | 1.4 ˚F (-17 ˚C) ~ 113 ˚F (45 ˚C) |
| Snow Thrower operation temperature range | 1.4 ˚F (-17 ˚C) ~ 113 ˚F (45 ˚C) |
| Battery charging temperature range | 39 ˚F (4 °C) ~ 104 ˚F (40 ˚C) |
| Charger operation temperature range | 39 ˚F (4 °C) ~ 104 ˚F (40 ˚C) |
| Battery discharging temperature range | 1.4 ˚F (-17 ˚C) ~ 113 ˚F (45 ˚C) |
| Battery storage temperature range | 32 °F (0 °C) ~ 113 °F (45 °C) |
SYMBOLS ON THE PRODUCT
Some of the following symbols may be used on this tool.
Please study them and learn their meaning. Proper interpretation of these symbols will allow you to operate the tool better and safer.
| Symbol | Explanation |
| Direct current | |
| Precautions that involve your safety. | |
| Read and understand all instructions before operating the product, and follow all warnings and safety instructions. | |
| Wear eye protection. | |
| Thrown objects can ricochet and result in personal injury or property damage. Wear protective clothing and boots. | |
| Keep bystanders a safe distance from the machine. | |
| Keep hands away from the discharge area. | |
| Stay away from moving parts. Keep all guards and shields in place. | |
| Keep feet out of impeller. Keep feet away from rotating impeller. | |
| Stop the motor and remove the battery before leaving the product. |
RISK LEVELS
The following signal words and meanings are intended to explain the levels of risk associated with this product.
| SYMBOL | SIGNAL | MEANING |
| DANGER | Indicates an imminently hazardous situation, which, if not avoided, will result in death or serious injury. | |
| WARNING | Indicates a potentially hazardous situation, which, if not avoided, could result in death or serious injury. | |
| CAUTION | Indicates a potentially hazardous situation, which, if not avoided, may result in minor or moderate injury. | |
| CAUTION | (Without Safety Alert Symbol) Indicates a situation that may result in roperty damage. |
ENVIRONMENTALLY SAFE BATTERY DISPOSAL
![]()
The toxic and corrosive materials below are in the batteries used in this machine: Lithium-Ion, a toxic material.
WARNING
Discard all toxic materials in a specified manner to prevent contamination of the environment. Before discarding damaged or worn out Li-ion battery, contact your local waste disposal agency, or the local Environmental Protection Agency for information and specific instructions. Take the batteries to a local recycling and/or disposal center, certified for lithium-ion disposal.
WARNING
If the battery pack cracks or breaks, with or without leaks, do not recharge it and do not use. Discard it and replace with a new battery pack. DO NOT TRY TO REPAIR IT! To prevent injury and risk of fire, explosion, or electric shock, and to avoid damage to the environment:
- Cover the terminals of the battery with heavy-duty adhesive tape.
- DO NOT try to remove or destroy any of the battery pack components.
- DO NOT try to open the battery pack.
- If a leak develops, the released electrolytes are corrosive and toxic. DO NOT get the solution in the eyes or on skin, and do not swallow it.
- DO NOT put these batteries in your regular household trash.
- DO NOT incinerate.
- DO NOT put them where they will become part of any waste landfill or municipal solid waste stream.
- Take them to a certified recycling or disposal center.
PROPOSITION 65
WARNING
This product contains a chemical known to the state of California to cause cancer, birth defects or other reproductive harm. Some dust created by power sanding, sawing, grinding, drilling, and other construction activities contains chemicals known to cause cancer, birth defects or other reproductive harm. Some examples of these chemicals are:
- Lead from lead-based paints;
- Crystalline silica from bricks and cement and other masonry products;
- Arsenic and chromium from chemically treated lumber.
Your risk of exposure to these chemicals varies depending on how often you do this type of work. To reduce your exposure to these chemicals, work in a well-ventilated area, and work with approved safety equipment, such as dust masks that are specially designed to filter out microscopic particles.
Save these instructions.
INSTALLATION
WARNING
Do not change or make accessories that are not recommended by the manufacturer.
WARNING
Do not connect to power supply until you assemble all the parts.
UNPACK THE MACHINE
WARNING
Make sure that you correctly assemble the machine before use.
WARNING
- If the parts are damaged, do not use the machine.
- If you do not have all the parts, do not operate the machine.
- If the parts are damaged or missing, speak to the service center.
- Open the package.
- Read the documentation in the box.
- Remove all the unassembled parts from the box.
- Remove the machine from the box.
- Discard the box and package in compliance with local regulations.
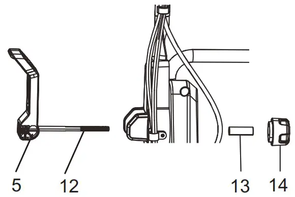
CAM LOCK ASSEMBLY
NOTE
Do not tighten the knob until the cam lock is in place.

- Remove the knob (14) and spacer (13) from the cam lock (5).
- Insert the bolt (12) through the lower handle housing.
- Slide the spacer (13) over the bolt (12).
- Screw on the knob (14).
- Fold the cam lock (5) to lock the handle into place.
UNFOLD THE MIDDLE HANDLE

- Open the quick-release levers (15) on the two sides of the middle handle (3).
- Unfold the middle handle (3) until they come to a stop.
- Close the quick-release levers (15).
- Tighten the knobs (14) to hold the middle handle (3) in position.
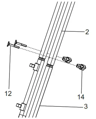
INSTALL THE UPPER HANDLE

- Align the holes in the middle handle (3) and the upper handle (2).
- Put the bolts (12) through the holes.
- Tighten the handle knobs (14) onto the bolts (12).
- Do the same operation on the other side.
INSTALL THE CHUTE-ROTATION BOX

- Align the holes in the panel of the chute-rotation box (18) and the switch box (17).
- Put the chute-rotation box screws (21) through the holes.
- Tighten the chute-rotation box screw nuts (16) with a wrench (not included).
INSTALL THE CHUTE DEFLECTOR

- Align the grooves (19) of the discharge chute with the slot (20) on the chute housing.
- Push the discharge chute (9) into position.
- Tighten the discharge chute screws (21) with a Phillips head screw driver to lock the discharge chute.
INSTALL THE BATTERY PACK

WARNING
- If the battery pack or charger is damaged, replace the battery pack or the charger.
- Stop the machine and wait until the engine stops before you install or remove the battery pack.
- Read, know, and follow the instructions in the battery and charger manual.
- Open the battery door (6).
- Align the ribs on the battery pack (22) with the grooves in the battery compartment.
- Push the battery pack (22) into the battery compartment until the battery pack (22) locks into place.
- When you hear a click, the battery pack (22) is installed.
- Close the battery door (6).
REMOVE THE BATTERY PACK
- Open the battery door (6).
- Push and hold the battery release button (23).
- Remove the battery pack (22) from the machine.
OPERATION
WARNING
Wear eye protection during operation.
COLD WEATHER OPERATION
The safe battery operation temperature ranges from 1°F (-17°C) to 113°F (45°C).
WARNING
Do not store or charge battery outside.
Battery must be charged and stored indoors prior to use of the machine.
If the machine does not start:
- remove the battery pack from the machine,
- charge the battery pack to 15 minutes in warm area, or when the charging light turns green.
- Install the battery pack back in the unit.
BLUE LED LIGHT

- LED light flashes blue if the battery voltage is low. Place the battery in a room temperature area and charge until the green charger light is flashing green.
- Blue LED light (32) is always on if the battery temperature is low. Bring the Battery and Charger in to a warm area. Place the Battery in the charger and allow for the battery to reach room temperature or when the light on the charger is flashing Green. Once charger is flashing green, take the battery and place it in the unit to begin work.
| BLUE LED INDICATOR | |
| Low battery voltage | Flash blue |
| Low battery temperature | Always blue |
START THE MACHINE

- While holding the safety switch button (24), pull the bail lever (1) to start the machine.
NOTE
Lower the scraper to the ground to remove the snow.
WARNING
Keep bystanders a safe distance from the machine.
WARNING
Examine the work area. Remove all stones, sticks, wire, bones, and other debris that can ricochet because of the rotating impeller.
STOP THE MACHINE

- Release the bail lever (1) to stop the machine.
WARNING
Wait until the impeller fully stops before you start the machine again. Do not quickly turn the machine off and on.
LED LIGHT

- To turn on the LED light (33) for night time snow removal, press the light switch (25).
- To turn off the LED lights (33), press the light switch (25) again.
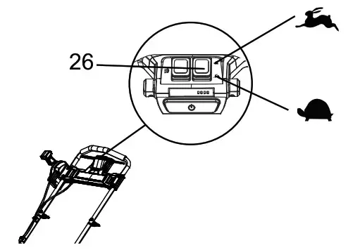
SPEED SWTTCH

- Press the speed switch (26) towards the rabbit symbol for higher impeller speed and discharge distance in heavy conditions.
- Press the speed switch (26) towards the turtle system to decrease the impeller speed for greater runtime in light conditions.
ADJUST THE DISCHARGE CHUTE

You can adjust the discharge chute 180° to change the snow direction.
- Push the chute-rotation handle (11) forward to move the discharge chute (9) to the left.
- Push the chute-rotation handle (11) rearward to move the discharge chute (9) to the right.
ADJUST THE CHUTE DEFLECTOR

You can adjust the chute deflector up and down to change the throwing distance of the snow.
WARNING
Release the bail switch before you adjust the chute deflector.
WARNING
Do not push the deflector so far forward that a gap shows between the deflector and the chute.
- Push and hold the trigger (27) on the chute deflector (10).
- Move the chute deflector (10) up to increase the snow distance.
- Move the chute deflector (10) down to decrease the snow distance.
OPERATION TIPS
- If it is possible, clear the snow with the direction of the wind.
- In strong winds, lower the chute deflector to direct the snow to the ground.
- When you complete the work, let the machine operate for a while to prevent ice formation in the discharge chute.
- If the snow is deeper than 8″, decrease the speed and let the machine work at its own rhythm.
- Do not use the scraper to remove compact snow and ice.
MAINTENANCE
WARNING
Remove the battery pack from the machine before maintenance.
CAUTION
Use only approved replacement parts.
CAUTION
Do not let brake fluids, gasoline, petroleum-based materials touch the plastic parts. Chemicals can cause damage to the plastic, and make the plastic unserviceable.
CAUTION
Do not use strong solvents or detergents on the plastic housing or components.
GENERAL MAINTENANCE
- Before each use, examine the machine for damaged, missing, or loose parts such as screws, nuts, bolts and caps.
- Tighten correctly all the fasteners and caps.
- Clean the remaining snow on the machine with a brush.
REPLACE THE SCRAPER

WARNING
Use only approved replacement scrapers.
WARNING
Wear heavy gloves around the blade when you touch the blade.
WARNING
The scraper is located at the bottom of the impeller housing.
Ensure that the battery is not installed in the tool.
- Turn the machine to its side.
- Remove the 5 bolts (12) below the deck that attach the scraper (7) to the machine.
- Remove the worn scraper (7) from the machine.
- Install the new scraper (7).
- Install and tighten the bolts (12) that you removed.
REPLACE THE BELT

WARNING
Make sure to turn off the bail lever and remove the battery pack(s) before performing any maintenance task on your snow thrower.
- Remove the screws (21) on the side wear pad (28).
- Turn the large pulley (29) counterclockwise while you remove the remaining belt (30).
- Turn the new belt (30) onto the pulleys (29).
- Install and tighten the screws (21) that you removed.
REPLACE THE IMPELLER

WARNING
Make sure to turn off the bail lever and remove the battery pack(s) before performing any maintenance task on your snow thrower.
- Remove the 4 sets of nuts and bolts on the middle steel plate.
- Remove the 4 sets of nuts and bolts on each side.
- Remove the impellers (8).
- Install the new impellers (8).
- Tigthen the 8 sets of nuts and bolts that you removed.
REPLACE THE SKID PLATES

NOTE
The range of adjustable height for skid plates is 1.5mm, when putting the bolts through the U-hole on the skid plates.
- Loosen the 2 sets of bolts (12), spacers (7) and nuts (16) that attach the skid plates (31) to the snow thrower housing.
- Remove the skid plates (31).
- Install the new skid plates (31).
- Do the same operation on the other side.
STORE THE MACHINE
- Clean the machine before storage.
- Make sure the motor is not hot when you store the machine.
- Make sure that the machine does not have loose or damaged parts. If it is necessary, do these steps/ instructions:
- Replace the damaged parts.
- Tighten the bolts.
- Speak to a person at an approved service center.
- Store the machine in a dry area.
- Make sure that children cannot come near the machine.
TROUBLESHOOTING
| Problem | Possible cause | Solution |
| The handle is not in position. | The bolts are not engaged correctly. | Adjust the height of the handle and make sure that the knobs and bolts are aligned correctly. |
| The machine does not start. | The battery is not charged. | Charge the battery by following the procedures in the battery and charger manual. |
| The switch is defective. | Have the switch replaced by an authorized service center. | |
| Battery is too cold. | Remove battery from snow thrower. Place battery on charger and allow to charge for 10 minutes or until the changing light turns green. Remove from charger and install in snow thrower for use. | |
| Blue LED light is Flashing – Battery is in Low Voltage Protection. | Bring the Battery and Charger in to a warm area. Place the Battery in the charger and allow for the battery to reach room temperature or when the light on the charger is flashing Green. Once charger is flashing green, take the battery and place it in the unit to begin work. | |
| Blue LED light is always on – attery Temperature is Low. | Bring the Battery and Charger in to a warm area. Place the Battery in the charger and allow for the battery to reach room temperature or when the light on the charger is flashing Green. Once charger is flashing green, take the battery and place it in the unit to begin work. | |
| Battery may require service or replacement. | Call toll free helpline, at 1-855-345-3934 or replace battery. | |
| The engine is on, but the impeller does not turn. | The belt is damaged. | Replace the belt. |
| A thin layer of snow stays behind. | The scraper is damaged. | Replace the scraper. |
* If you cannot find the solution to these problems, call 1-855-345-3934.
TECHNICAL DATA
| Voltage | 80 V |
| No load speed | 1800 / 1950 RPM |
| Clearing width | 22 in (55.9 cm) |
| Clearing depth | 13 in (33.0 cm) |
| Impeller size | 18 in (45.7 cm) |
| Weight (without battery pack) | 57.9 lbs. |
| Battery | BAB727 and other BAB series |
| Charger | 2901402 and other BAB series |
| Double-insulated construction |
LIMITED WARRANTY

Greenworks hereby warranties this product, to the original purchaser with proof of purchase, for a period of four (4) years against defects in materials, parts or workmanship. Greenworks, at its own discretion will repair or replace any and all parts found to be defective, through normal use, free of charge to the customer. This warranty is valid only for units which have been used for personal use that have not been hired or rented for industrial/commercial use, and that have been maintained in accordance with the instructions in the owners’ manual supplied with the product from new.
ITEMS NOT COVERED BY WARRANTY:
- Any part that has become inoperative due to misuse, commercial use, abuse, neglect, accident, improper maintenance, or alteration; or
- The unit, if it has not been operated and/or maintained in accordance with the owner’s manual; or
- Normal wear, except as noted below;
- Routine maintenance items such as lubricants, blade sharpening;
- Normal deterioration of the exterior finish due to use or exposure.
HELPLINE:
Warranty service is available by calling our toll-free helpline, at 1-855-345-3934.
TRANSPORTATION CHARGES:
Transportation charges for the movement of any power equipment unit or attachment are the responsibility of the purchaser. It is the purchaser’s responsibility to pay transportation charges for any part submitted for replacement under this warranty unless such return is requested in writing by Greenworks.
USA address:
Greenworks Tools P.O. Box 1238
Mooresville, NC 28115
Canadian address:
Greenworks Tools Canada Inc.
P.O. Box 93095, Newmarket, Ontario
L3Y 8K3
EXPLODED VIEW

| No. | Part No. | Qty | Description |
| I | R0201719-00 | 1 | Impeller assembly |
| 2 | R0200650-00 | I | Scraper Kit |
| 3 | R0200939-00 | 2 | Wheel Assembly |
| 4 | R0200651-00 | I | Chute Deflector Assembly |
| s | R0201855-00 | 2 | Quick-Release Lever Assembly |
| 6 | R0201852-00 | 2 | Cam Lock assembly |
| 7 | R0201853-00 | 1 | PCB board |
| 8 | R0200655-00 | 2 | Skid plates |
| 9 | R0200288-00 | I | Belt |
| 10 | R0201854-00 | I | Upper handle assembly |

















