
ELECTRIC SNOW THROWER
21-INCH | 14-AMP
OPERATOR’S MANUAL
A Division of Snow Joe®, LLC
Model SJ624E
IMPORTANT!
Safety Instructions
All Operators Must Read These
Instructions Before Use
Any electrical appliance can be dangerous if used incorrectly some of the safety precautions given in this manual apply generally to many appliances. Other warnings are specific to the use of this snow thrower. Keep this manual for future reference.
General Safety WARNINGS!
You and any other operator of this snow thrower must read, understand and follow these instructions in their entirety, and should reread them at the start of each snow season. Failure to follow these instructions may result in ELECTRIC SHOCK, FIRE, and/or serious PERSONAL INJURY.
Notice the personal safety alert symbol
used in this manual to draw your attention to a WARNING given along with the particular operating instruction. This means that the operation requires special ATTENTION, CAUTION, and AWARENESS.
- Keep work area clean and well-lit. Cluttered, dark areas invite accidents.
- Do not operate the snow thrower in an explosive atmosphere, such as in the presence of flammable liquids, gases, or dust. Electrical appliances create sparks that may ignite dust or fumes.
- Keep children, pets, and bystanders away from the work area. Be aware that the normal noise of the machine when turned on may make it difficult for you to hear approaching people. Spectators should wear safety glasses and be kept a safe distance away from the work area. Do not let spectators touch the snow thrower or the extension cord.
- Electrical plugs must match the outlet. Never modify the plug in any way. Do not use any adapter plugs with grounded appliances. Unmodified plugs and matching outlets will reduce the risk of electric shock.
- Avoid body contact with earthed or grounded surfaces (i.e. upper and lower water pipes, radiators, ranges, refrigerators, microwave ovens, and outer frames of heating equipment). Take necessary precautions to avoid electric shock. There is an increased risk of electric shock if your body is earthed or grounded.
- Do not abuse the cord. Keep the cord away from heat, oil, sharp edges, or moving parts. Never carry the snow thrower by its cord or yank the cord to disconnect it from the electrical outlet. Damaged or entangled cords increase the risk of electric shock.
- Replace or properly repair damaged cords. If the cord becomes damaged in any manner while plugged into the wall receptacle, immediately pull the extension cord plug from the receptacle.
- Contact with water while operating the snow thrower can result in electric shock and serious bodily injury. Do not use the snow thrower in damp or wet locations or exposed to rain. Do not handle the plug or the appliance
with wet hands or while standing in water. - warning! Use outdoor extension cords marked SW-A, SOW-A, STW-A, STOW-A, SJW-A, SJTW-A or SJTOWA. These cords are rated for outdoor use and reduce the risk of electric shock.
- Turn off the power switch and disconnect the power cable before making any adjustments to the unit and before inspecting, servicing, changing accessories, or cleaning the snow thrower. Follow the same procedure if any other dangerous conditions are present during operation. Any adjustments to the unit should be performed after revolving parts inside the snow thrower stop completely. Such preventative safety measures reduce the risk of starting the power tool accidentally.
- If you find the main power cable or the extension cable damaged, please pull out the plug from the socket and disconnect the power immediately. Repair the cable or replace it if necessary.
- When replacing any parts, you must strictly observe the instructions and procedures described in this operator’s manual. Special care should be paid to any rubber parts, since these parts may increase the engine load and decrease its mechanical power if damaged.
- Do not move or transport the snow thrower when the plug is connected to the power socket and the switch is turned on.
- If you notice that the unit is not running properly or you hear abnormal sounds from the engine, stop the machine, disconnect the power immediately and contact an authorized Snow Joe®+ Sun Joe®dealer or the Snow Joe®+ Sun Joe®customer service center at1-866-SNOW JOE.
Electrical Safety
- Ground fault circuit interrupter (GFCI) protection should be provided on the circuit(s) or outlet(s) to be used for the snow thrower. Receptacles are available having built-in GFCI protection and may be used for this measure of safety.
- To prevent electric shock, use only with an extension cord suitable for outdoor use, such as SW-A, SOW-A, STW-A, STOW-A, SJW-A, SJOW-A, SJTW-A, or SJTOW-A. Before use, check that the extension cord is in good condition. When using an extension cord, make sure to use one heavy enough to carry the current your product will draw. An undersized cord will cause a drop in line voltage resulting in loss of power and overheating.
- To reduce the risk of electric shock, this appliance has a polarized plug (i.e. one blade is wider than the other). Use this appliance only with a polarized UL-, CSA- or ETL- rated extension cord for outdoor, all-weather use. The appliance plug will fit into a polarized extension cord only one way.
If the appliance plug does not fit fully into the extension cord, reverse the plug. If the plug still does not fit, obtain a correct polarized extension cord. A polarized extension cord will require the use of a polarized wall outlet. The extension cord plug will fit into the polarized wall outlet only one way. If the plug does not fit fully into the wall outlet, reverse the plug. If the plug still does not fit, contact a qualified electrician to install the proper wall outlet. Do not modify the appliance plug, extension cord receptacle, or extension cord plug in any way.

Electric shock may cause SEVERE INJURY or DEATH. Heed these warnings:
- Do not allow any part of the electric snow thrower to make contact with water while it is in operation. If the appliance becomes wet while turned off, wipe dry before starting.
- Use only a UL-, CSA- or ETL-rated extension cord for outdoor, all-weather use.
- Do not use an extension cord over 100 ft (30 m).
- Do not touch the appliance or its plug with wet hands or while standing in water. Wearing rubber boots offers some protection.
EXTENSION CORD CHART
| Cord Length: | Up to 50 ft (15 m) | (+15 m – 30 m) |
| Min. Wire Gauge (A.W.G.): | 14 | 12 |
4. To prevent the appliance cord from disconnecting from the extension cord during operation, make a knot with the two cords as shown in Table 1. Table
1. Method of securing Extension Cord

5. Do not abuse the cord. Never pull the snow thrower by the cord or yank the cord to disconnect it from the receptacle. Keep the cord away from heat, oil, and sharp edges.
Personal Safety
- Stay alert – Watch what you are doing and use common sense when operating the snow thrower. Do not use the machine when tired, ill, or under the influence of drugs, alcohol, or medication. A moment of inattention may result in serious personal injury.
- Wear proper clothing – Wearing rubber boots offers additional protection from electric shock. Do not wear loose clothing or jewelry that may become caught in the machine. Wear protective headgear to keep hair away from revolving parts of the machine. Safety glasses offer better protection than everyday eyeglasses.
- Moving parts present risks – Keep your face, hair, clothing, hands, and feet away from moving parts. All guards and safety attachments must be installed properly before using the unit. Shut off and disconnect the cord before touching any parts other than the handles and the switch.
- Surfaces – This snow thrower is intended for use on paved surfaces. Do not use on gravel, stone, or other unpaved surfaces unless the snow thrower is adjusted for such surfaces according to the instructions given in this operator’s manual.
- Avoid accidental starting – Make sure the switch is in the off position before plugging in the unit. Do not carry the snow thrower with your finger on the switch.
- Body position – Maintain proper footing and balance at all times. Place heels firmly on the ground and tightly grasp the handlebar. Watch for uneven surfaces and do not overreach. In case you fall or collide with the snow thrower, inspect the unit for any damages or cracks. When stepping backward, be careful to avoid obstacles beneath your feet or behind you to avoid falling.
- If the snow thrower strikes any object, immediately stop the snow thrower, then inspect for damage – Repair any damage before restarting and operating the snow thrower.
Safety Instructions for Walk-Behind Snow Throwers
- Read the operator’s manual carefully – Learn your snow thrower’s applications and limitations as well as the specific potential hazards related to this machine. Do not use this machine for any purpose other than the one for which it was designed. Otherwise, it may cause mechanical defects, serious damage, or personal injury.
- Preliminary unit inspection – Thoroughly inspect the unit before use. Make sure all the parts are secure and installed correctly. If you notice any abnormalities, do not use the machine until it has been properly repaired. Always perform a test run the first time you use the snow thrower or after replacing parts to ensure that the unit is functioning properly.
- Preliminary area inspection – Clear the area to be plowed before each use. Remove all objects, such as rocks, broken glass, nails, wire, or string, which can be thrown by or become entangled in the snow thrower. Keep the area of operation clear of all spectators, particularly children, and pets.
- Excessive force – The snow thrower was designed to respond at a certain rate for various snow conditions for optimum safety and performance. Do not force it; keep the pressure constant.
- Malfunctioning switch – Do not use the snow thrower if the switch does not turn it on and off. Any electrical appliance that cannot be controlled by the switch is not safe to use and must be repaired.
- Hitting an object – If the snow thrower accidentally strikes an object, follow these steps:i) Stop the snow thrower and unplug the unit
ii) Inspect for damage
iii) Repair or replace any damaged part before restarting
and operating the snow thrower. - Discharge chute safety – Never direct the snow discharge chute at the operator, at bystanders, at vehicles, or at windows. The discharged snow stream and foreign objects accidentally picked up by the snow thrower can cause serious damage and personal injury. Do not use your hands to unclog the discharge chute. Stop the motor before removing debris
- Hand-held operating position – Operation of the snow thrower in the hand-held position is unsafe.
- Abnormal operation – If you notice the snow thrower running in an unstable state or hearing abnormal sounds from the engine, immediately stop the machine, disconnect the power and contact an authorized Snow Joe ® + Sun Joe ® service center.
- Noise control – When using the snow thrower, you must respect local laws and regulations regarding noise control and environmental protection. To avoid noise disturbance, you should carefully decide upon an appropriate operation time and consider the surrounding conditions.
- When work is completed – Disconnect the snow thrower from the power source when not in use, when changing accessories, and before performing any maintenance function.
- Store safely – Store the snow thrower indoors in a dry area between uses. Keep it in a locked area, where children and unauthorized users cannot gain access. Do not store the machine while it is still connected to the power source as this may result in damage and injury.
- Maintain for safety and longevity – Check for misalignment or binding of moving parts, breakage of parts, and any other conditions that may affect the unit’s operation. If damaged, repair or replace the damaged part before use. Use only original replacement parts designed specifically for your model. When replacing any parts, you must strictly observe the instructions and procedures described in this manual. Special care should be paid to any rubber parts, since these parts may increase the engine load and decrease its mechanical power if damaged.
Always check that all bolts, nuts, and knobs are tight before using the snow thrower!
Safety Symbols
The following table describes safety symbols that may appear on this product. Read, understand and follow all instructions on the machine before attempting to assemble and operate.
| Symbols | Descriptions Symbols Descriptions | ||
![]() | READ THE OPERATOR’S MANUAL(S) – Read, understand, and follow all instructions in the user manual(s) before attempting to assemble and operate. | ![]() | WARNING! Do not expose the unit to rain or wet conditions. Keep dry. |
| SAFETY ALERT – Indicates a precaution, a warning, or a danger. | ![]() | DANGER! Cutting/dismemberment hazard – Keep feet away from the rotating auger. | |
![]() | Wear hearing protection. Wear eye protection. Wear breathing protection. | ![]() | CAUTION! Beware of stones and other foreign objects that could be thrown from the appliance. |
![]() | Keep hands, feet, and clothing away from the rotating auger to avoid injury. | ![]() | Keep bystanders and children a safe distance (at least 33 ft/10 m) away from the work area. |
![]() | Wear protective gloves and non-slip footwear when using the machine and handling debris. | ![]() | Keep bystanders and children a safe distance away. |
![]() | Do not use your hands to unclog the chute. | ![]() ![]() | DANGER! Cutting/dismemberment hazard – Keep hands away from the rotating auger. Do not use hands to unclog rotor housing. Stop motor before removing debris. |
![]() | Always keep the power cable away from heat sources, oils, or sharp edges. Immediately remove the plug from the mains if the cable is damaged or entangled. | ![]() | WARNING! Turn the machine OFF and disconnect it from the power supply before inspecting, cleaning, changing accessories or conducting any other maintenance task. |
![]() | Double insulation. | ![]() | The rotating part will continuously run for several seconds after you turn off the machine. |
Know Your Electric Snow Thrower
Read the owner’s manual and safety rules carefully before operating your electric snow thrower. Compare the illustration below to the actual unit in order to familiarize yourself with the location of the various controls and adjustments. Save this manual for future reference.
- Switch bar lever
- Safety switch button
- Cord restraint holder
- Upper handle
- Handle knobs
- Chute crank
- Crank adjustment knob
- Chute deflector
- Lower handle
- Auxiliary handle
- Chute deflector knobs
- Discharge chute
- Wheel assembly
- Side cover
- Auger
- Scraper blade

Technical Data
Rated Voltage ……………………………………………….. 120V ~ 60 Hz
Power …………………………………………………………………………14A
No Load Speed …………………………………………1750 ± 10% rpm
Rotor ……………………………….. Steel auger with 2 rubber blades
Clearing Width ……………………………………………… 21 in. (53 cm)
Depth of Snow Cut ……………………………………….. 12 in. (30 cm)
Throw Distance Max ………………………………………….. 20 ft (6 m)
Plowing Capacity Max ……………………………………… 770 lbs/min(349.3 kg/min)
Directional Control …………………………….. 180º adjustable chute
Net Weight ………………………………………………… 33.1 lbs (15 kg)
Unpacking
Carton Contents:
- Electric snowblower
- Handle knobs/deflector knobs (4)
- Square J-bolts (2)
- Carriage bolts (2)
- Rubber washers (2)
- Manual with registration card
- Carefully remove the electric snow thrower and check to see that all of the above items are supplied.
- Inspect the product carefully to make sure no breakage or damage occurred during shipping. If you find damaged or missing parts, DO NOT return the unit to the store. please call the Snow Joe ® + Sun Joe ® the customer service center at 1-866-SNOW JOE (1-866-766-9563).
NOTE: Do not discard the shipping carton and packaging material until you are ready to use your new electric snow thrower. The packaging is made of recyclable materials. Properly dispose of these materials in accordance with local regulations.
IMPORTANT! The equipment and packaging material are not toys. Do not let children play with plastic bags, foils or small parts. These items can be swallowed and pose a suffocation risk!
Assembly

Inspect wiring, which, if damaged during shipping, may cause serious bodily injury during equipment use. If any damage is seen or suspected, do not assemble. Instead, contact the Snow Joe ® + Sun Joe ® customer service center at 1-866-SNOW JOE (1-866-766-9563) for assistance. Handle with care during assembly so that electrical wiring does not become damaged.
Upper, Middle, and Lower Frame Assembly
- Align the holes in the lower handle section with those in the handle brackets (Fig. 1).

- Secure the handle to the handle brackets with the knobs and J-bolts. Make sure the knobs are tightened (Fig. 2).

- Align the holes in the upper handle section with those in the handle brackets (Fig. 3)

- Secure the upper handle to the handle brackets with the knobs and carriage bolts. Make sure the knobs are tightened (Fig. 4).

Chute Crank Assembly
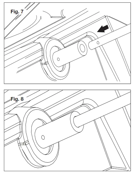
- The cotter pin comes pre-assembled on the unit, as shown. Remove the cotter pin and proceed to step 2 (Fig. 5).

- Install the crank rod through the center plate and insert it into the opening at the back of the housing with holes aligned (Figs. 6 – 8).
NOTE: Loosen or tighten the crank adjustment knob as needed to allow for smooth control of the crank rod.
- Secure the crank rod in place and replace the cotter pin (Figs. 9 – 10), as shown.


Discharge Chute Assembly
- Remove the knobs, washers, and carriage bolts from the discharge chute (Fig. 11).

- Position the chute deflector over the discharge chute and align the holes, placing the washer between the deflector and the chute (Fig. 12).

- Secure the carriage bolts and knobs. Make sure to tighten the knobs (Fig. 13).

Operation
NOTE: Before using this machine, make sure that the power source you will use complies with the specifications detailed in this manual. Before inserting the plug into the socket, verify that the snow thrower’s auger and rubber plates are firmly secured with screws and that the rubber plates are facing the correct direction. Perform a test run to ensure that the rotor turns freely.
Securing the Extension Cord
- For safe and efficient use of your snow thrower, use only a UL-, CSA- or ETL- rated extension cord recommended for outdoor use. Refer to the Extension Cord Chart on page 2.
- Form a loop with the extension cord and push the loop through the slot on the cord restraint hook. Position the loop over the hook and pull the cable back through the slot (Fig. 14). Securing the extension cord in this manner will prevent it from accidentally disconnecting from the power supply during operation.

- Insert the female end of the extension cord into the appliance’s polarized male plug (Fig. 15).



Damaged electrical cords present a risk of fire, electrical shock, and serious bodily injury. Before operating the snow thrower, carefully examine the electrical cord. If the cord is damaged, do not use the snow thrower. Replace or repair the damaged cord immediately. If you need assistance, contact an authorized Snow Joe ® + Sun Joe ® dealer or call the Snow Joe ® + Sun Joe ® customer service center at 1-866-SNOW JOE.
Powering On and Off
warning! The auger starts rotating immediately after the snow thrower is switched on. Keep hands and feet away from the auger.
- To switch the snow thrower ON, press the safety switch button, then squeeze the switch bar lever (Fig. 17).

- Once the snow thrower starts, release the safety switch button and proceed with the operation.
- To power OFF, release the switch bar lever.
Moving the Machine and Plowing the Snow

Foreign objects, such as rocks, broken glass, nails, wire, or string can be picked up and thrown by the snow thrower, causing serious personal injury. Remove all foreign objects from the area to be plowed before operating the snow thrower.
- Keep the area of operation free of foreign objects that can become thrown by the rotor blades. Perform a thorough inspection of the area since some objects may be hidden from view by surrounding snow. If the snow thrower hits an obstruction or picks up a foreign object during use, stop the snow thrower, disconnect the extension cord, remove the obstruction and inspect the unit for damage. Repair or replace any damaged part before restarting and operating the unit.
- Keep children, pets, and bystanders away from the area of operation. Be aware that the normal noise of the machine when turned on may make it difficult for you to hear approaching people.
- When moving the snow thrower, use the wheels on one side as the pivot point. Slightly tilt the snow thrower on this pivot point to move it forward or backward.
- Start your clearing path near the electrical outlet and work outward, throwing snow in a back and forth motion. To clear in the opposite direction, step over the cord and pivot the snow thrower on its wheels. Make sure to overlap clearing paths.
- Note the wind direction. If possible, move to the same direction as the wind so that the snow is not thrown against the wind (and thus back into your face and onto the just cleared path).
- While moving the snow thrower, do not drag the power cable violently or roughly. The snow thrower should move within the range that the cable can safely reach.
- Do not push the snow thrower with excessive force. You should push the machine gently and evenly in accordance with the unit’s throw rate.
- Do not apply additional man-made load to the engine since this may cause engine damage.
- Some parts of the snow thrower may freeze under extreme temperature conditions. Do not attempt to operate the snow thrower with frozen parts. If the parts freeze while the snow thrower is in use, stop the snow thrower, unplug the extension cord and inspect for frozen parts. Free all parts before restarting or operating the snow thrower. Never force controls that have frozen.
- When working on pebbles, gravel, or unpaved surfaces, avoid throwing loose surface material along with the snow by pushing down on the handle to raise the scraper bar at
the base of the unit above the pebbles or gravel. - For larger areas, a definite pattern of operation is required to thoroughly clean an area of snow. These patterns will not only avoid throwing snow in unwanted places but will also eliminate the need for a second removal of snow (Fig. 18).
Pattern A: Throw the snow to the right of the left side where possible. For areas such as a long driveway, it is advantageous to start in the middle. Plow from one end to the other, throwing snow to both sides.
Pattern B: If the snow can only be thrown to one side of the area to be cleared, start on the opposite side.
Changing Throw Direction and Throw Height

Never direct the snow discharge chute at the operator, at bystanders, at vehicles, or at nearby windows. The discharged snow and foreign objects accidentally picked up by the snow thrower can cause serious damage and personal injury. Always orient the discharge chute in the opposite direction from where you, bystanders, surrounding vehicles, or windows are located.
- The discharge chute can be adjusted 180 degrees by rotating the chute crank. Rotate the chute control crank clockwise to move the discharge chute to the left and counterclockwise to move the chute to the right (Fig. 19).

- The chute deflector on the top of the discharge chute controls the height of the snow stream. Loosen the knobs to raise or lower the deflector to the desired height of snow you wish to throw. Tighten the knobs to secure the deflector (Fig. 20).


Make sure that the chute deflector snaps and locks completely onto the discharge chute. An opening between the discharge chute and the chute deflector may allow foreign objects to be picked up by the snow thrower and thrown in the direction of the operator causing serious bodily injury.
- Do not advance the chute deflector too far forward causing an opening to appear between the deflector and discharge chute.
- Do not overtighten the knobs on the chute deflector.
Maintenance

Make sure to turn off the switch and disconnect the extension cord before performing any maintenance task on your snow thrower.
Lifetime Lubrication (Motor and Auger)
Lubrication is not necessary and may damage the unit. The snow thrower is lubricated for lifetime use at the factory before shipment.
General Maintenance Tips
- Do not attempt to repair the machine unless you have the proper tools and instructions for disassembly and repair of the machine.
- Check bolts and screws at frequent intervals for proper tightness to ensure that the equipment is in safe working condition.
- After each snow removal session, run the snow thrower for a few minutes to prevent the collector/impeller from freezing. Shut off the motor, wait for all revolving parts to stop completely, and wipe residual ice and snow off the unit. Rotate the chute crank several times to remove any excess snow.
- Only use a cloth soaked with hot water and a soft brush to clean the snow thrower; never wet or spray water on the machine!
- Do not use detergent or solvents as these could cause irreparable damage to the snow thrower. Chemicals can destroy plastic parts.
- To protect the snow thrower from corrosion when storing for long periods, lightly oil the metal parts.
- Store the appliance in a dry and high or locked area out of the reach of children.
- For the user’s safety, worn or damaged parts must be replaced. Replace with original replacement parts only. Parts from another snow thrower may not fit properly causing an unsafe situation.
Replacing the Rubber Plates
NOTE: When replacing worn rubber plates, pay close attention to carefully distinguishing between the coarse and smooth sides of the plates. Place the coarse side inside and the smooth side outside.
- Detach the worn rubber plate by removing the two sets of nuts, bolts and washers used to secure it (Figs. 21 – 22).

- Install the new rubber plate and insert the bolt with the small flat washer into the corresponding holes on each of the rubber plates. Use a large flat washer and locknut to secure the bolt on each end (Fig. 21).
- Install the other rubber plate in the same manner (Fig. 23).

Replacing the Scraper Bar
- The scraper bar is located at the base of the snow thrower beneath the rotor housing (Fig. 24).

- Remove the screws that secure the scraper bar to the snow thrower (Fig. 25).

- Install the new scraper bar and fasten it securely to the snow thrower with the screws.
Replacing the Belt
NOTE: Under normal operating conditions it should not be necessary to replace the auger belt. However, should the auger jam or malfunction, the belt could be damaged. To replace the belt follow the instructions.
NOTE: Determine the left and right-hand side of the snow thrower by standing behind the unit in the normal operating position.
- Open the left side plate by removing three screws
(Fig. 26).
- Use your right hand to turn the rib side of the belt up and pull upwards while turning the auger pulley counterclockwise with your left hand. The belt can be easily removed from the pulley (Fig. 27).

- Put the belt on the drive pulley first and then place the belt at the lower end of the auger pulley (Fig. 28).

- Use your right hand to press the belt with the ribbed side down. While holding the belt down with your right hand, use your left hand to turn the auger forward so that the auger pulley rotates in a clockwise direction. The belt will be gradually pushed down onto the pulley. When the belt is seated on the pulley, adjust it so that the ribs of the belt match the grooves on the pulley (Fig. 29).

- After the belt is installed, replace the side plate and secure it with the three screws (Fig. 26).
NOTE: Heavy wet snow puts a load on belts, thus requiring more frequent belt replacement.
Replacing the Pulley
- Open the left side plate by removing three screws (Fig. 26). Remove the belt following the directions above (Fig. 30).

- Secure the auger. Using an 18 mm hex socket, turn the pulley clockwise to remove (Fig. 31).

- Follow the directions above in reverse order to install the new pulley.
Storage
- Allow the engine to cool completely before cleaning, storing, or transporting the snow thrower. Be sure to secure the unit while transporting.
- Disconnect the extension cord from the snow thrower. Inspect the extension cord closely for signs of wear or damage. Replace it if it is worn or damaged.
- Inspect the snow thrower carefully for worn, loose, or damaged parts. Check connections and screws and tighten if necessary. For repairing or replacing parts, contact your authorized Snow Joe ® + Sun Joe ® dealer or the Snow Joe ® + Sun Joe ® customer service center at 1-866-SNOW JOE (1-866-766-9563).
- Store the unit, along with the disconnected extension cord, in a locked, dry place out of the reach of children to prevent unauthorized use or damage. Cover loosely with a tarp for added protection.
Service and Support
If your Snow Joe®SJ624E electric snow thrower requires service or maintenance, please call 1-866-SNOW JOE (1-866-766-9563) for assistance.
Model and Serial Numbers
When contacting the company, reordering parts, or arranging service from an authorized dealer, you will need to provide the model and serial numbers, which can be found on the decal on the main cover of the unit to the left of the discharge chute. Copy these numbers into the space provided below.
Optional Accessories
warning! ALWAYS use only authorized Snow Joe®+ Sun Joe® replacement parts and accessories. NEVER use replacement parts or accessories that are not intended for use with this electric snow thrower. Contact Snow Joe ® + Sun Joe ®if you are unsure whether it is safe to use a particular replacement part or accessory with your electric snow thrower. The use of any other attachment or accessory can be dangerous and could cause injury or mechanical damage.
Accessories | Item | Model |
![]() | Snow Joe®+ Sun Joe®SJTW-A 14-gauge 50-foot extension cord with lighted end | PJEXT50-B |
![]() | Universal Snow Thrower Chute Clean Out Tool | SJCOT |
![]() | Universal 21-inch snow thrower protective cover | SJCVR-21 |
NOTE: Accessories are subject to change without any obligation on the part of Snow Joe®+ Sun Joe®to provide notice of such changes. Accessories can be ordered online at snowjoe.com or via phone by contacting the Snow Joe®+ Sun Joe®customer service center at 1-866-SNOW JOE (1-866-766-9563).
SNOW JOE®+ SUN JOE®CUSTOMER PROMISE
ABOVE ALL ELSE, Snow Joe, LLC (“Snow Joe”) is dedicated to you, our customer. We strive to make your experience as pleasant as possible. Unfortunately, there are times when a Snow Joe ®, Sun Joe®, or Aqua Joe ®product (“Product”) does not work or breaks under normal operating conditions. We think it’s important that you know what you can expect from us. That’s why we have a Limited Warranty (“Warranty”) for our Products.
OUR WARRANTY:
Snow Joe warrants new, genuine, powered, and non-powered Products to be free from defects in material or workmanship when used for ordinary household use for a period of two years from the date of purchase by the original, end-user purchaser when purchased from Snow Joe or from one of Snow Joe’s authorized sellers with proof of purchase. Because Snow Joe is unable to control the quality of its products sold by unauthorized sellers, unless otherwise prohibited by law, this Warranty does not cover Products purchased from unauthorized sellers. If your product does not work or there’s an issue with a specific part that is covered by the terms of this Warranty, Snow Joe will elect to either (1) send you a free replacement part, (2) replace the Product with a new or comparable product at no charge, or (3) repair the Product. How cool is that!
This Warranty gives you specific legal rights, and you may also have other rights which vary from State to State.
PRODUCT REGISTRATION:
Snow Joe strongly encourages you to register your Product. You can register online at snowjoe.com/register, or by printing and mailing in a registration card available online from our website, or call our Customer Service Department at 1-866-SNOW JOE (1-866-766-9563), or by emailing us at [email protected]. Failure to register your product will not diminish your warranty rights. However, registering your Product will allow Snow Joe to better serve you with any of your customer service needs.
WHO CAN SEEK LIMITED WARRANTY COVERAGE:
This Warranty is extended by Snow Joe to the original purchaser and original owner of the Product.
WHAT IS NOT COVERED?
This Warranty does not apply if the Product has been used commercially or for non-household or rental applications. This warranty also does not apply if the Product was purchased from an unauthorized seller. This warranty also does not cover cosmetic changes that do not affect performance. Wearing parts like belts, augers, chains, and tines are not covered under this Warranty and can be purchased at snowjoe.com or by calling 1-866-SNOW JOE (1-866-766-9563)




















NOTE: Loosen or tighten the crank adjustment knob as needed to allow for smooth control of the crank rod.







































