EINHELL GE-ST 36 Cordless Snow Thrower

Danger!
When using the equipment, a few safety precautions must be observed to avoid injuries and damage. Please read the complete operating instructions and safety regulations with due care. Keep this manual in a safe place, so that the information is available at all times. If you give the equipment to any other person, hand over these operating instructions and safety regulations as well. We cannot accept any liability for damage or accidents which arise due to a failure to follow these instructions and the safety instructions.
Explanation of the symbols used (see Fig. 13)

- Danger! – Read the operating instructions to reduce the risk of injury.
- Keep your distance!
- Keep hands and feet away from the cutter drum!
- Do not reach into any openings while the machine is running! Switch off the machine before you clean the snow ejector opening!
- Wear safety goggles!
- Wear safety gloves!
- Guaranteed sound power level.
Safety regulations
The corresponding safety information can be found in the enclosed booklet.
Warning!
Read all the safety information, instructions, illustrations and technical data provided on or with this power tool. Failure to adhere to the following instructions may result in electric shock, fi re and/or serious injury.
Keep all the safety information and instruc-tions in a safe place for future use.
Layout and items supplied
Layout (Fig. 1/2)

1. Handle
2. On/Off switch
3. Safety lock-off
4. Speed controller
5. Top long handle
6. Additional handle
7. Wing nut
8. Lock bolt M6
8a. Hex screw M6
9. Bottom long handle
9a. Spring ball
10. Long handle mount
11. Motor housing
12. Battery compartment cover
13. Adjustment lever for the eject direction
14. Carry-handle
15. Ejector cover
16. Snow guide blades
17. Cutter drum
18. Skids

Items supplied
Please check that the article is complete as specifi ed in the scope of delivery. If parts are missing, please contact our service center or the sales outlet where you made your purchase at the latest within 5 working days after purchasing the product and upon presentation of a valid bill of purchase. Also, refer to the warranty table in the service information at the end of the operating instructions.
- Open the packaging and take out the equipment with care.
- Remove the packaging material and any packaging and/or transportation braces (if available).
- Check to see if all items are supplied.
- Inspect the equipment and accessories for transport damage.
- If possible, please keep the packaging until the end of the guarantee period.
Danger!
The equipment and packaging material are not toys. Do not let children play with plastic bags, foils or small parts. There is a danger of swallowing or suffocating!
• Cordless snow thrower
• Assembly material
• Original operating instructions
• Safety instructions
Proper use
This machine is designed solely for private use in clearing away freshly fallen loose snow (wet and powdery) from paved paths and areas (e.g. courtyards, garage drives, footpaths or parking spaces).
The paths and areas to be cleared must have a fi rm base and a smooth surface (e.g. concrete paving, granite paving or asphalt).
The machine is not designed for the following:
- Clearing away snow from unpaved paths and areas (e.g. graveled areas or meadows).
- Clearing away snow in large quantities and heights, clearing away very wet snow, clearing away packed snow and ice.
- For commercial use (e.g. in public parks, in sports facilities) and for use in agriculture and forestry.
The equipment is to be used only for its prescribed purpose. Any other use is deemed to be a case of misuse. The user/operator and not the manufacturer will be liable for any damage or injuries of any kind caused as a result of this.
Please note that our equipment has not been designed for use in commercial, trade or industrial applications. Our warranty will be voided if the machine is used in commercial, trade or industrial businesses or for equivalent purposes.
Technical data
Operating voltage: ……………………………. 36 V DC
Protection type: ……………………………………..IPX1
Protection class: …………………………………………III
Idle speed n0: ………………………………..1970 min-1
Idling speed min – max: ………. 1670 – 1970 min-1
Working width: ……………………………………..40 cm
Height of snow max.: ……………………………. 20 cm
Ejection range max.: ………………………………. 6 m
Sound pressure level LpA: ……………… 78.6 dB(A)
Uncertainty KpA: ……………………………….. 3 dB(A)
Measured sound power level LWA: …. 89.85 dB(A)
Uncertainty KWA: ………………………………. 3 dB(A)
Guaranteed sound power level LWA: …… 92 dB(A)
Vibration at the long handle ah: ……….. 0.812 m/s2
Uncertainty K: …………………………………. 1.5 m/s2
Weight: ……………………………………………… 6.5 kg
Caution!
The machine is supplied without rechargeable batteries and without a charger, and is allowed to be used only with the lithium-ion batteries of the Power-X-Change series!
The lithium-ion batteries of the Power-X-Change series are allowed to be charged only with the Power-X charger.
The machine noise might exceed 85 dB (A). The operator will require noise protection measures if this is the case.
The stated vibration emission levels and the stated noise emission values were measured in accordance with a set of standardized criteria and can be used to compare one power tool with another.
The stated vibration emission levels and the sta-ted noise emission values can also be used to make an initial assessment of exposure.
Warning:
The vibration and noise emission levels during actual use may vary from the values quoted, depending on the way in which the electric tool is used and, in particular, on the type of snow being processed.
Caution!
The vibration value changes according to the area of application of the electric equipment and may exceed the specifi ed value in exceptional circumstances.
Keep the noise emissions and vibrations to a minimum.
- Only use appliances which are in perfect working order.
- Service and clean the appliance regularly.
- Adapt your working style to suit the appliance.
- Do not overload the appliance.
- Have the appliance serviced whenever necessary.
- Switch the appliance off when it is not in use.
- Wear protective gloves.
Caution!
Residual risks Even if you use this electric power tool in accordance with instructions, certain residual risks cannot be ruled out. The following hazards may arise in connection with the equipment’s construction and layout:
- Damage to hearing if no suitable ear protection is used.
- Health damage caused by hand-arm vibrations if the equipment is used over a prolonged period or is not properly guided and maintained.
- Beware of injury caused by reaching into the running cutter drum.
- Beware of injury to persons and damage to property caused by the ejected snow or by foreign bodies inside the ejected snow.
Limit the operating time!
All stages of the operating cycle must be considered (for example, times in which the electric tools are switched off and times in which the tool is switched on but operates without load).
Before starting the equipment
The machine is supplied without batteries and without a charger!
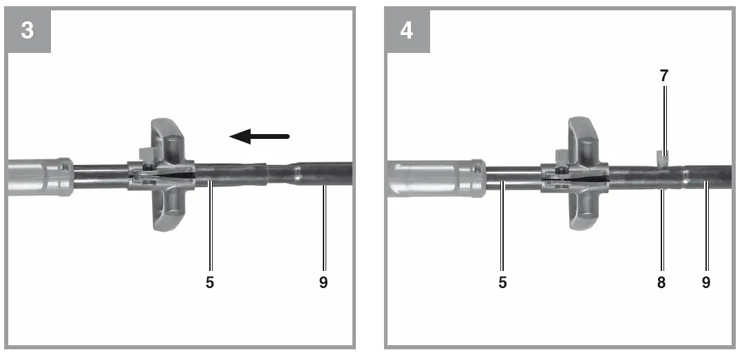
Fitting the long handle (Fig. 3 – 6)
- Plug the bottom long handle (Item 9) into the top long handle (Item 5). Take care not to damage the cable inside.
- Insert the M6 lock bolt (Item 8) in the square mount on the top long handle and screw it tight with the wing nut (Item 7).
- Insert the long handle in the long handle mount (Item 10). If necessary, slightly depress the spring ball (Item 9a) and carefully push the long handle into the long handle mount. The spring ball (Item 9a) will latch in the hole provided (Item 10a).
- Insert the M6 hex screw (Item 8a) in the screw mount and turn the wing nut (Item 7) until it is tight and secures the long handle in the long handle mount.


Adjusting the steady grip (Fig. 7)
For you to be able to work with the machine, the steady grip must be aligned with the handle (see Fig. 1 for the working position).
- Open the wing nut (Item 7) by turning it counter-clockwise, turn the steady grip (Item 6) until it is aligned with the handle, and push it into a comfortable working height for yourself.
- Close the wing nut by turning it clockwise and secure the steady grip.

Fitting a battery (Fig. 8)
Caution! A battery is allowed to be fi tted only in dry surroundings. Before you open the battery compartment cover (Item 12), remove any snow so that it does not fall into the housing. If the interior of the battery compartment is wet or damp, use an absorbent cloth to wipe it dry.
Note:
- Both batteries must be fully charged before use.
- Always charge the two batteries simultaneously. Use only batteries which are charged to the same level. Never combine full and half-full batteries. The machine‘s operating time depends on the battery with the lower charge level.
- The battery compartment cover is self-closing and must be held open in order to fit the batteries.
Open the battery compartment cover (Item 12) and insert the batteries in the battery mount. The battery will be heard to click into place when it is pushed fully in. Close the battery compartment cover.
Removing a battery (Fig. 8)
To remove a battery, open the battery compartment cover (Item 12), press the pushlock button (Item C) at the battery, and pull out the battery.
Charging a battery (Fig. 9)
- Take the battery pack out of the machine. Do this by pressing the pushlock button.
- Check that your mains voltage is the same as that marked on the rating plate of the battery charger. Insert the power plug of the charger into the socket outlet. The green LED will be-gin to blink.
- Insert the battery into the charger.
- In the section entitled „Charger indicator“ you will fi nd a table with an explanation of the LED indicator on the charger.
The battery can become a little warm during the charging. This is normal.

If the battery pack fails to charge, check:
• whether there is voltage at the socket outlet
• whether there is good contact at the charging contacts
If the battery pack still fails to charge, send
- the charger
- and the battery pack to our customer service center.
To ensure that items are properly packaged and delivered when you send them to us, please contact our customer service or the point of sale at which the equipment was purchased.
When shipping or disposing of batteries and cordless tools, always ensure that they are packed individually in plastic bags to prevent short circuits and fires.
To ensure that the battery pack provides long service, you should take care to recharge it promptly. You must recharge the battery pack when you notice that the performance of the device drops. Never allow the battery pack to become fully discharged. This will cause it to develop a defect.
Battery charge level indicator (Fig. 10)
Press the button for the battery charge level indicator (Item A). The battery charge level indicator (Item B) shows the charge status of the battery using 3 LEDs.
All 3 LEDs are lit:
The battery is fully charged.
2 or 1 LED(s) are lit:
The battery has an adequate remaining charge.
1 LED fl ashes:
The battery is empty, recharge the battery.
All LEDs blink:
The battery temperature is too low. Remove the battery from the equipment, keep it at room temperature for one day. If the fault reoccurs, this means that the rechargeable battery has undergone exhaustive discharge and is defective. Remove the battery from the equipment. Never use or charge a defective battery.
Danger!
Do not put the machine into operation until it has been fully assembled.
Operation
Please note that the statutory regulations governing noise abatement may diff er from one loca-tion to another.
Warning! The cutter drum will begin to rotate immediately after the machine is switched on. Keep your hands and feet away from rotating parts.
Switching on the machine (Fig. 11)
While you hold the machine securely with your hands on the handles, press the safety lock-off (Item 3) and the On/Off switch (Item 2). Then release the safety lock-off again.
Switching off the machine (Fig. 11)
Release the On/Off switch (Item 2).
Speed controller (Fig. 11)
Turn the speed controller (Item 4) to set the speed (1 = minimum / 6 = maximum) of the cutter drum (Fig. 12/Item 17). This enables individual adjustment to the area you want to clear. The numbers 2 – 5 marked on the speed controller are provided as extra indication of the set speed.

Clearing away snow
Read the enclosed safety instructions, particularly section 2: “Safe operation of manually driven snow throwers”.
Each time before you use the machine, check the following:
• Are there any signs of damage to the safety devices and the cutter drum? Are they complete? Replace any damaged parts.
• Are all screws securely fastened?
• Do all moving parts move smoothly?
Adjusting the snow guide blades (Fig. 12)
Lift the adjustment lever (Item 13) for adjusting the eject direction and turn it. By doing this you adjust the snow guide blades (Item 16).
Let go of the adjustment lever and lock it in one of the three possible positions +30° / 0° / -30° (right / center / left).
Setting the ejection range
After adjusting the snow guide blades you can use the speed controller (see section 6.3) to adjust the ejection range to your requirements.
Tips on clearing away snow properly
- The battery operating time and therefore the area in square meters that can be cleared with a single battery charge is largely dependent on the given snow conditions (e.g. powdery snow, wet snow, height of snow …) and the user’s walking speed. Frequently turning the machine on and off during the clearance will also reduce the area per charge performance. Battery performance drops with the temperature. It is recommended therefore to fit room-temperature batteries in the battery mount just before you begin with the clearing work and to remove the batteries when you have finished. If the battery operating time (area performance) is still unsatisfactory in spite of the above measures, you can help remedy the problem by using batteries of higher capacity (Ah).
- It is best to clear away the snow soon after it has fallen and in short intervals before it gets too high.
- Lift the cutter drum a little off the snow before you switch on the machine.
- Push the machine forward at a suitable walking pace to leave an area that is as clear of snow as possible.
- The angle at which you push the machine has an influence on the ejection range and on the height of snow remaining.
- Clear away the snow with the wind at your back and in overlapping runs.
- In cases of very high snow, clear away layer by layer from the top in several runs.
- For large areas draw up a plan for clearing away the snow without it being thrown back onto areas already cleared.
- To prevent the moving parts of the machine from freezing, allow the machine to continue running for a few minutes after you have finished your work. Then switch off the machine, wait for all moving parts to come to a standstill, take out the batteries, and remove the snow and ice that has collected on the machine.
Cleaning, maintenance and ordering spare parts
Before parking and cleaning the machine, switch it off and remove the battery/batteries.
Cleaning
- Keep all safety devices, air vents and the motor housing free of dirt and dust as far as possible. Wipe the equipment with a clean cloth or blow it with compressed air at low pressure.
- We recommend cleaning the machine immediately each time after use. Remove ice, snow and dirt from the air vents in the motor housing, from the cutter drum and from all other parts.
- Clean the equipment regularly with a moist cloth and some soft soap. Do not use cleaning agents or solvents; these could attack the plastic parts of the equipment. Ensure that no water can seep into the device. The ingress of water into an electric tool increases the risk of an electric shock.
- Use a brush to remove deposits from safety guards.
Maintenance
There are no parts inside the equipment which require additional maintenance.
Ordering replacement parts:
Please quote the following data when ordering replacement parts:
- Type of machine
- Article number of the machine
- Identification number of the machine
- Replacement part number of the part required For our latest prices and information please go to www.Einhell-Service.com
Disposal and recycling
The equipment is supplied in packaging to prevent it from being damaged in transit. The raw materials in this packaging can be reused or recycled. The equipment and its accessories are made of various types of material, such as metal and plastic. Never place defective equipment in your household refuse. The equipment should be taken to a suitable collection center for proper disposal. If you do not know the whereabouts of such a collection point, you should ask in your local council offi ces.
Storage
Remove the rechargeable battery/batteries.
Store the equipment and accessories in a dark and dry place at above-freezing temperature. The ideal storage temperature is between 5 and 30 °C. Store the electric tool in its original packaging.
Transport
- Take out the battery/batteries.
- Always hold the machine with one hand on the additional handle and the other hand on the carry-handle of the motor housing.
- Secure the machine against slipping if you transport it in a vehicle.
- If possible, use the original packaging for transporting the machine.
Troubleshooting guide
| Fault | Possible cause | Remedy |
| The cutter drum does not rotate | a) Battery is empty b) Battery is too cold | a) Replace with full battery b) Replace with battery at room tempe- rature c) Lift the cutter drum a little from the snow before switching on d) Carefully free the cutter drum from ice and snow; let it thaw if necessary e) Open the long handle connection, remove the long handle and check the contacts. Refasten the long handle. |
| c) Snow is too high and is preven- ting start-up d) Cutter drum is iced up or full of snow e) Insufficient contact or no con- tact between the long handle and the long handle fastener (section 5.1) | ||
| Setting the snow gui- de blades does not work (section 6.4.1) | a) Snow guide blades are iced up or full of snow | a) Carefully free the snow guide blades from ice and snow; let them thaw if necessary |
Charger indicator
| Indicator status | Explanations and actions | |
| Red LED | Green LED | |
| Off | Flashing | Ready for use The charger is connected to the mains and is ready for use; there is no battery pack in the charger |
| On | Off | Charging The charger is charging the battery pack in quick charge mode. The char- ging times are shown directly on the charger. Important! The actual charging times may vary slightly from the stated charging times depending on the existing battery charge. |
| Off | On | The battery is charged and ready for use. The unit then changes over to gentle charging mode until the battery is fully charged. To do this, leave the rechargeable battery on the charger for approx. 15 minutes longer. Action: Take the battery pack out of the charger. Disconnect the charger from the mains supply. |
| Flashing | Off | Adapted charging The charger is in gentle charging mode. For safety reasons the charging is performed less quickly and takes more time. The reasons can be: – The rechargeable battery has not been used for a very long time. – The battery temperature is outside the ideal range. Action: Wait for the charging to be completed; you can still continue to charge the battery pack. |
| Flashing | Flashing | Fault Charging is no longer possible. The battery pack is defective. Action: Never charge a defective battery pack. Take the battery pack out of the charger. |
| On | On | Temperature fault The battery pack is too hot (e.g. due to direct sunshine) or too cold (below 0° C). Action: Remove the battery pack and keep it at room temperature (approx. 20° C) for one day . |
For EU countries only
Never place any electric power tools in your household refuse.
To comply with European Directive 2012/19/EC concerning old electric and electronic equipment and its implementation in national laws, old electric power tools have to be separated from other waste and disposed of in an environment-friendly fashion, e.g. by taking to a recycling depot.
Recycling alternative to the return request:
As an alternative to returning the equipment to the manufacturer, the owner of the electrical equipment must make sure that the equipment is properly disposed of if he no longer wants to keep the equipment. The old equipment can be returned to a suitable collection point that will dispose of the equipment in accordance with the national recycling and waste disposal regulations. This does not apply to any accessories or aids without electrical components supplied with the old equipment.
The reprinting or reproduction by any other means, in whole or in part, of documentation and papers ac-companying products is permitted only with the express consent of the Einhell Germany AG.
Service Information
We have competent service partners in all countries named on the guarantee certifi cate whose contact details can also be found on the guarantee certifi cate. These partners will help you with all service requests such as repairs, spare and wearing part orders or the purchase of consumables.
Please note that the following parts of this product are subject to normal or natural wear and that the following parts are therefore also required for use as consumables.
| Category | Example |
| Wear parts* | Carbon brushes, battery, cutter drum, skids |
| Consumables* | |
| Missing parts |
Not necessarily included in the scope of delivery!
In the eff ect of defects or faults, please register the problem on the internet at www.Einhell-Service.com. Please ensure that you provide a precise description of the problem and answer the following questions in all cases:
- Did the equipment work at all or was it defective from the beginning?
- Did you notice anything (symptom or defect) prior to the failure?
- What malfunction does the equipment have in your opinion (main symptom)?Describe this malfunction.
Warranty certificate
Dear Customer,
All of our products undergo strict quality checks to ensure that they reach you in perfect condition. In the unlikely event that your device develops a fault, please contact our service department at the address shown on this guarantee card. You can also contact us by telephone using the service number shown. Please note the following terms under which guarantee claims can be made:
- These guarantee terms apply to consumers only, i.e. natural persons intending to use this product neither for their commercial activities nor for any other self-employed activities. These warranty terms regulate additional warranty services, which the manufacturer mentioned below promises to buyers of its new products in addition to their statutory rights of guarantee. Your statutory guarantee claims are not affected by this guarantee. Our guarantee is free of charge to you.
- The warranty services cover only defects due to material or manufacturing faults on a product which you have bought from the manufacturer mentioned below and are limited to either the rectifi cation of said defects on the product or the replacement of the product, whichever we prefer.
Please note that our devices are not designed for use in commercial, trade or professional applications. A guarantee contract will not be created if the device has been used by commercial, trade or industrial business or has been exposed to similar stresses during the guarantee period. - The following are not covered by our guarantee:
- Damage to the device caused by a failure to follow the assembly instructions or due to incorrect installation, a failure to follow the operating instructions (for example connecting it to an incorrect mains voltage or current type) or a failure to follow the maintenance and safety instructions or by exposing the device to abnormal environmental conditions or by lack of care and maintenance.
- Damage to the device caused by abuse or incorrect use (for example overloading the device or the use or unapproved tools or accessories), ingress of foreign bodies into the device (such as sand, stones or dust, transport damage), the use of force or damage caused by external forces (for example by dropping it).
- Damage to the device or parts of the device caused by normal or natural wear or tear or by normal use of the device.
- The guarantee is valid for a period of 24 months starting from the purchase date of the device. Guarantee claims should be submitted before the end of the guarantee period within two weeks of the defect being noticed. No guarantee claims will be accepted after the end of the guarantee period. The original guarantee period remains applicable to the device even if repairs are carried out or parts are replaced. In such cases, the work performed or parts fi tted will not result in an extension of the guarantee period, and no new guarantee will become active for the work performed or parts fi tted. This also applies if an on-site service is used.
- To make a claim under the guarantee, please register the defective device at: www.Einhell-Service.com. Please keep your bill of purchase or other proof of purchase for the new device. Devices that are returned without proof of purchase or without a rating plate shall not be covered by the guarantee, because appropriate identifi cation will not be possible. If the defect is covered by our guarantee, then the item in question will either be repaired immediately and returned to you or we will send you a new replacement.
Of course, we are also happy off er a chargeable repair service for any defects which are not covered by the scope of this guarantee or for units which are no longer covered. To take advantage of this service, please send the device to our service address.
Also refer to the restrictions of this warranty concerning wear parts, consumables and missing parts as set out in the service information in these operating instructions.

















