Husqvarna ST 324 Snow Throwers

Product Information
| Product Name | ST 324, ST 327, ST 330 |
|---|---|
| Languages | EN, DE, ES, FR, IT, NL |
| Contents | Introduction, Safety, Assembly, Operation, Maintenance, Troubleshooting, Transportation, storage and disposal, Technical data, Declaration of Conformity |
| Product Overview |
|
| Product Description | The product is a snow thrower that is used to remove snow from the ground. |
| Intended Use | The snow thrower is intended to be used for removing snow from the ground. |
| Symbols on the Product |
|
Product Usage Instructions
Assembly
- Refer to the assembly section in the operator’s manual for detailed instructions on how to assemble the product.
Operation
- Read the operator’s manual carefully before operating the snow thrower.
- Ensure that all safety precautions are followed during operation.
- Engage the auger by using the auger engagement lever (1).
- Control the discharge chute by using the discharge chute control lever (2).
- Adjust the drive speed by using the drive speed control lever (3).
- Control the deflector by using the deflector remote control lever (4).
- Engage the drive by using the drive engagement lever (5).
- Use the steering triggers (6) to steer the snow thrower.
- Turn on the LED light (7) for better visibility in low light conditions.
- Adjust the handle knob (8) for comfortable operation.
- Ensure that the muffler (9) is properly installed and functioning.
- Check the skid plate (10) for any damage or wear.
- Use the augers (11) to remove snow from the ground.
- Use the clean-out tool (12) to remove any clogs or obstructions in the snow thrower.
- Direct the snow by adjusting the discharge chute (13) and chute deflector (14).
- Check the oil level regularly and refill if necessary using the oil fill and dipstick (25).
- Start the engine by pulling the starter rope handle (16) or using the electric start button (23).
- Prime the engine by pressing the primer (17) if required.
- Use the ON/OFF key (18) to start and stop the engine.
- Control the engine speed with the throttle control (19).
- Use the choke (20) when starting a cold engine.
- Turn on/off the fuel supply using the fuel ON/OFF switch (21) and refill the fuel tank through the fuel tank cap (22).
Product Overview

- Auger engagement
- Discharge chute control lever
- Drive speed control lever
- Deflector remote control lever
- Drive engagement
- Steering triggers
- LED light
- Handle knob
- Muffler
- Skid plate
- Augers
- Clean-out tool
- Discharge chute
- Chute deflector
- Oil drain
- Starter rope handle
- Primer
- ON/OFF key
- Throttle control
- Choke
- Fuel ON/OFF switch
- Fuel tank cap
- Electric start button
- Connection, electric start
- Oil fill, Dipstick
Product Description
The product is a snow thrower that is used to remove snow from the ground.
Intended use
This product can be used to remove snow from fields, roads, walkways and driveways. Do not use it on slopes that are greater than 20°. Do not use the product in areas where there is much debris, dirt and protruding stones.
Symbols on the product
Note: If the decals on the product are damaged, contact the distributor to replace them.



- (Fig. 2) Warning.
- (Fig. 3) Read the operator’s manual.
- (Fig. 4) Engine on.
- (Fig. 5) Engine off.
- (Fig. 6) Fast.
- (Fig. 7) Slow.
- (Fig. 8) Choke.
- (Fig. 9) Primer.
- (Fig. 10) Oil.
- (Fig. 11) Fuel.
- (Fig. 2) Caution.
- (Fig. 12) This product is in accordance with applicable EC directives.
- (Fig. 13) This product conforms to applicable UK regulations.
- (Fig. 14) Steer left.
- (Fig. 15) Steer right.
- (Fig. 16) Auger height adjustment.
- (Fig. 17) Blower on.
- (Fig. 18) Traction drive on.
- (Fig. 19) Do not remove the shields while the engine is running.
- (Fig. 20) Ear protection recommended.
- (Fig. 21) Wear protection gloves.
- (Fig. 22) Sound power level.
- (Fig. 23) No operation on slopes more than 20 degrees.
- (Fig. 24) Risk of falling.
- (Fig. 25) Remove key before maintenance.
- (Fig. 26) Remove spark plug cable before maintenance.
- (Fig. 27) Beware of thrown objects.
- (Fig. 28) Keep distance to bystanders.
- (Fig. 29) Move slowly rearward.
- (Fig. 30) Hot surface.
- (Fig. 31) Fuel shut-off valve.
- (Fig. 32) Warning, keep hands away.
- (Fig. 33) Warning, keep feet away.
- (Fig. 34) Rotate left/rotate right.
- (Fig. 35) Forward/reverse.
- (Fig. 36) Up/down.
Product liability
As referred to in the product liability laws, we are not liable for damages that our product causes if:
- the product is incorrectly repaired.
- the product is repaired with parts that are not from the manufacturer or not approved by the manufacturer.
- the product has an accessory that is not from the manufacturer or not approved by the manufacturer.
- the product is not repaired at an approved service center or by an approved authority.
Safety
Safety definitions
The definitions below give the level of severity for each signal word.
- WARNING: Injury to persons.
- CAUTION: Damage to the product.
- Note: This information makes the product easier to use.
General safety instructions
- Use the product correctly. Injury or death is a possible result of incorrect use. Only use the product for the tasks found in this manual. Do not use the product for other tasks.
- Obey the instructions in this manual. Obey the safety symbols and the safety instructions. If the operator does not obey the instructions and the symbols, injury, damage or death is a possible result.
- Do not discard this manual. Use the instructions to assemble, to operate and to keep your product in good condition. Use the instructions for correct installation of attachments and accessories. Only use approved attachments and accessories.
- Do not use a damaged product. Obey the maintenance schedule. Only do the maintenance work that you find an instruction about in this manual. An approved service center must do all other maintenance work.
- This manual cannot include all situations that can occur when you use the product. Be careful and use your common sense. Do not operate the product or do maintenance to the product if you are not sure about of the situation. Speak to a product expert, your dealer, service agent or approved service center for information.
- Disconnect the spark plug cable before you assemble the product, put the product into storage or do maintenance.
- Do not use the product if it is changed from its initial specification. Do not change a part of the product without approval from the manufacturer. Only use parts that are approved by the manufacturer. Injury or death is a possible result of incorrect maintenance.
- Do not breathe in the fumes from the engine. Long term inhalation of the engine’s exhaust fumes is a health risk.
- Do not start the product indoors or near flammable material. The exhaust fumes are hot and can contain a spark which can start a fire. Not sufficient airflow can cause injury or death because of asphyxiation or carbon monoxide.
- When you use this product the engine makes an electromagnetic field. The electromagnetic field can cause damage to medical implants. Speak to your physician and medical implant manufacturer before you operate the product.
- Do not let a child operate the product. Do not let a person, without knowledge of the instructions operate the product.
- Make sure that you always monitor a person, with decreased physical capacity or mental capacity, that uses the product. A responsible adult must be there at all times.
- Lock the product in an area that children and unapproved persons cannot access.
- The product can eject objects and cause injuries. Obey the safety instructions to decrease the risk of injury or death.
- Do not go away from the product when the engine is on.
- The operator of the product is responsible if an accident occurs.
- Before and while you walk rearward, look behind and down for small children, animals or other risks that can cause you to fall.
- Make sure that parts are not damaged before you use the product.
- Make sure that you are at a minimum 15 m (50 ft) away from other persons or animals before you use the product. Make sure that a person in adjacent area knows that you will use the product.
- Refer to national or local laws. They can prevent or decrease the operation of the product in some conditions.
Safety instructions for operation
- Do not put hands or feet near or under rotating parts. Keep clear of the discharge opening at all times.
- Exercise extreme caution when operating on or crossing gravel drives, walks, or roads. Stay alert for hidden hazards or traffic.
- After striking a foreign object, stop the engine (motor), remove the wire from the spark plug, disconnect the cord on electric motors, thoroughly inspect the product for any damage, and repair the damage before restarting and operating the product.
- If the product starts to vibrate abnormally, stop the engine (motor) and check immediately for the cause. Vibration is generally a warning of trouble.
- Stop the engine (motor) whenever you leave the operating position, before unclogging the auger housing or chute deflector, and when making any repairs, adjustments or inspections.
- When cleaning, repairing or inspecting the product, stop the engine and make certain the augers and all moving parts have stopped. Disconnect the spark plug wire and keep the wire away from the plug to prevent someone from accidentally starting the engine.
- Do not run the engine indoors, except when starting the engine and for transporting the product in or out of the building. Open the outside doors; exhaust fumes are dangerous.
- Exercise extreme caution when operating on slopes.
- Never operate the product without proper guards, and other safety protective devices in place and working.
- Never direct the chute deflector toward people or areas where property damage can occur. Keep children and others away.
- Do not overload the product capacity by attempting to clear snow at too fast a rate.
- Never operate the product at high transport speeds on slippery surfaces. Look behind and use care when operating in reverse.
- Disengage power to the augers when the product is transported or not in use.
- Use only attachments and accessories approved by the manufacturer of the product (such as wheel weights, counterweights, or cabs).
- Never operate the product without good visibility or light. Always be sure of your footing, and keep a firm hold on the handles. Walk; never run.
- Never touch a hot engine or muffler.
Work area safety
- Thoroughly inspect the area where the equipment is to be used and remove all doormats, sleds, boards, wires, and other foreign objects.
- Disengage all clutches and shift into neutral before starting the engine (motor).
- Do not operate the product without wearing adequate winter garments. Avoid loose fitting clothing that can get caught in moving parts. Wear footwear that will improve footing on slippery surfaces.
- Handle fuel with care; it is highly flammable.
- Use an approved fuel container.
- Never add fuel to a running engine or hot engine.
- Fill fuel tank outdoors with extreme care. Never fill fuel tank indoors.
- Never fill containers inside a vehicle or on a truck or trailer bed with a plastic liner. Always place containers on the ground, away from your vehicle, before filling.
- When practical, remove gas-powered equipment from the truck or trailer and refuel it on the ground. If this is not possible, then refuel such equipment on a trailer with a portable container, rather than from a gasoline dispenser nozzle.
- Keep the nozzle in contact with the rim of the fuel tank or container opening at all times, until refueling is complete. Do not use a nozzle lock-open device.
- Replace gasoline cap securely and wipe up spilled fuel.
- If fuel is spilled on clothing, change clothing immediately.
- Use extension cords and receptacles as specified by the manufacturer for all units with electric drive motors or electric starting motors.
- Adjust the auger housing height to clear gravel or crushed rock surface.
- Never attempt to make any adjustments while the engine (motor) is running (except when specifically recommended by the manufacturer).
- Always wear safety glasses or eye shields during operation or while performing an adjustment or repair to protect eyes from foreign objects that may be thrown from the machine.
Personal protective equipment
Always use the correct personal protective equipment when you operate the product. This includes, at minimum, sturdy footwear, eye protection and hearing protection. Personal protective equipment does not erase the risk of injury but may decrease the grade of injury if an accident occurs.
- Always wear safety glasses or eye protection while you operate the product or do maintenance or repairs.
- Always wear appropriate winter garments when you operate the product.
- Always use heavy-duty slip-resistant boots with good ankle support while you operate the product.
- Do not wear loose fitting clothing that can get caught in moving parts.
- Use approved protective gloves, if necessary. For example, when attaching, examining or cleaning the blade.
- Always use approved ear protection while you operate the product. Noise for a long period can cause noise-induced hearing loss.
Safety devices on the product
- Make sure that you regularly do the maintenance to the product.
- The life of the product increases.
- The risk of accidents decreases.
- Let an approved dealer or an approved service center regularly examine the product to do adjustments or repairs.
- Do not use a product with damaged protective equipment. If the product is damaged, speak to an approved service center.
Muffler
- The muffler keeps the noise levels to a minimum and sends the exhaust fumes away from the operator.
- Do not use the product if the muffler is missing or defective. A defective muffler increases the noise level and the risk of fire.
WARNING: The muffler becomes very hot during and after use and when the engine operates at idle speed. Be careful near flammable materials and/or fumes to prevent fire.
Fuel safety
WARNING: Read the warning instructions that follow before you use the product.
- Do not start the product if there is fuel or engine oil on the product. Remove the unwanted fuel/oil and let the product dry.
- If you spill fuel on your clothing, change clothing immediately.
- Do not get fuel on your body, it can cause injury. If you get fuel on your body, use soap and water to remove the fuel.
- Do not start the product if the engine has a leak. Examine the engine for leaks regularly.
- Be careful with fuel. Fuel is flammable and the fumes are explosive and can cause injuries or death.
- Do not breathe in the fuel fumes, it can cause injury. Make sure that there is a sufficient airflow.
- Do not smoke near the fuel or the engine.
- Do not put warm objects near the fuel or the engine.
- Do not add the fuel when the engine is on.
- Make sure that the engine is cool before you refuel.
- Before you refuel, open the fuel tank cap slowly and release the pressure carefully.
- Do not add fuel to the engine in an indoor area. Not sufficient airflow can cause injury or death because of asphyxiation or carbon monoxide.
- Tighten the fuel tank cap fully. If the fuel tank cap is not tightened, there is a risk of fire.
- Move the product a minimum of 3 m / 10 ft from the position where you filled the tank before a start.
- Do not fill the fuel tank fully. Heat causes the fuel to expand. Keep a space at the top of the fuel tank.
Safety instructions for maintenance
WARNING: Read the warning instructions that follow before you use the product.
- The exhaust fumes from the engine contain carbon monoxide, an odorless, poisonous and very dangerous gas. Do not start the engine indoors or in closed spaces.
- Before you do the maintenance on the product, stop the engine and remove the ignition cable from the spark plug.
- Use protective gloves when you do maintenance on the blades. The blades are very sharp and cuts can easily occur.
- Accessories and changes to the product that are not approved by the manufacturer, can cause serious injury or death. Do not change the product. Always use accessories that are approved by the manufacturer.
- If the maintenance is not done correctly and regularly, the risk of injury and damage to the product increases.
- Only do the maintenance as given in this operator’s manual. All other servicing must be done by an approved service agent.
- Let an approved service agent do servicing on the product regularly.
- Replace damaged, worn or broken parts.
Assembly
To remove the product from the carton
- Remove loose parts included with the product. Cut the four corners of the carton and put the end panels down flat.
- Remove the two screws that attach the auger housing to the pallet. Remove the steel brackets from the skid plates if they have it.
- Remove all package materials.
- Remove the product from the carton and make sure no loose parts are left in the carton.
Loose parts


| (Fig. 37) | Knob (3) | (Fig. 38) | Discharge chute (1) |
| (Fig. 39) | ON/OFF key (s) | (Fig. 40) | Carriage bolts 5/16-18 x 2 ¼” (2) |
| (Fig. 41) | Handle knobs (2) | (Fig. 42) | Locknut 3/8 (1) |
| (Fig. 43) | Shear pins ¼-20 x 1-¾ (6) | (Fig. 44) | Locknuts ¼-20 (6) |
| (Fig. 45) | Locknut 5/16-18 (1) | (Fig. 46) | Locknut ¼-20 (1) |
| (Fig. 47) | Nylon washer (1) | (Fig. 48) | Carriage bolt 5/16-18 x 5/8 (1) |
| (Fig. 49) | Spring (1) | (Fig. 50) | Shoulder bolt ¼-20 (1) |
To install the handle

- Raise the upper handle to the operating position. (Fig. 51)
- Adjust the handle position to one of the mounting holes (B) and tighten the handle knobs (C) with the carriage bolts (D). (Fig. 52)

- Install more carriage bolts (D) and handle knobs (C) to secure the upper handle (A) to the lower handle (E). (Fig. 53)
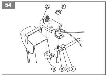
To install the chute deflector and chute rotator head
- Put the chute deflector assembly on the top of the chute base with the discharge opening in the direction of the front of the product.
- Put the chute rotator head (A) on the chute bracket (B). Rotate the chute assembly to align the pins under the chute rotator head with the holes in the chute bracket if it is necessary.
- Put the chute rotator head on the pin (C) and the threaded stud (D) on the mounting bracket (E).

- Attach a locknut (G) on the threaded stud and tighten. (Fig. 54)

- Put the cables through the double clip (I) to attach the rotator cables (H) to the lower handle. (Fig. 55)
To install the chute deflector remote control
- Attach the remote cable bracket (A) to the discharge chute with a carriage bolt (B) and a 5/16-18 locknut (D). Tighten the bolt.
- Install the remote cable eyelet (E) to the chute deflector (F) with a shoulder bolt (G), a nylon washer (C), and tighten with a ¼-20 locknut (K). The cable eyelet will be loose on the shoulder bolt.

- Attach the spring (L) between the hex nut (M) on the chute rotator head and the hole on the chute deflector. (Fig. 56)

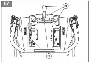
- Attach the lever control knobs (N) by pressing them down on the control levers (O). (Fig. 57)
Operation
Before you start the product
- Keep persons and animals away from the work area.
- Do daily maintenance. See Maintenance schedule.
- Make sure the ignition lead fits correctly on the spark plug.
- Add oil or gasoline, if necessary. See Technical data.
To fill the engine with oil
CAUTION: Do not rotate the dipstick when you check the oil. Do not fill above the mark.
- Remove the oil cap and clean the dipstick. See Product overview for the location of the dipstick.
- Add oil to the top mark on the dipstick. Use the dipstick to do a check of the oil level at regular intervals.
- Put the oil cap back.
To fill fuel
- Do not use gasoline with an octane number less than 90 RON (86 AKI.) These engines operate best on unleaded gasoline.
CAUTION
- Do NOT use expired gasoline, gasoline with contamination or an oil/ gasoline mixture.
- Do not get dirt or water in the fuel tank.
- Only use correct fuel containers and make marks to easier identify them.
- Do NOT use E85 mix fuels. These engines are not E20/E30/E85 compatible.
- The ethanol contents must be maximum 10%.
- Open the fuel tank cap slowly to release the pressure.
- Fill slowly with a fuel can. If you spill fuel, remove it with a cloth and let remaining fuel dry off.
- Clean the area around the fuel tank cap.
- Tighten the fuel tank cap fully. If the fuel tank cap is not tightened, there is a risk of fire.
- Move the product a minimum of 3 m (10 ft) from the position where you filled the tank, before a start.
To adjust the discharge chute and the chute deflector
- To adjust the discharge chute position, move the discharge chute control lever (A) back and to the left or right direction.

- To adjust the snow throwing distance of the chute deflector, move the deflector remote control lever (B) down to decrease the distance and up to increase the distance. (Fig. 58)
To start the engine, manual start

- Insert the ON/OFF key (A) into the ignition slot until it clicks. Do not turn the key. (Fig. 59)
- Slide the fuel control lever (B) to the ON position.
- Put the throttle control (C) to the FAST position.
- If the engine is cold, slide the choke lever (D) to the FULL position and push the primer (E) three times.
- CAUTION: Do not over prime the engine. It can prevent the engine from starting. If the engine is over primed, wait a few minutes before attempting to start and do not push the primer.
- Pull the starter rope handle (F).
- CAUTION: Do not release the handle quickly. Move it back to the start position slowly.
- Note: If the rope starter has frozen, slowly pull out as much rope out of the starter as possible and release the starter rope handle. If the engine does not start, repeat the procedure or use the electric starter.
- If the choke was used to start the engine, slowly move the choke (D) to the OFF position.
- Run the engine 2-3 minutes at idling speed before you start to throw snow.
- If the engine does not run as it should, turn it off.
To start the engine, electric start
WARNING: The product has a 230 V A.C. electric starter. Do not use the electric starter if your house is not a 230 V A.C. three-wire grounded system. Serious personal injury or damage to the product could occur. The electric starter has a three-wire power plug, and is designed to use 230 V A.C. household current. Make sure that your house is a 230 V A.C. three-wire grounded system. If you are uncertain, ask a licensed electrician.

- Insert the ON/OFF key (A) into the ignition slot until it clicks. Do not turn the key. (Fig. 60)
- Slide the control lever (B) to the ON position.
- Put the throttle control (C) to the FAST position.
- If the engine is cold, slide the choke lever (D) to the FULL position.
- Push the primer (E) three times.
- CAUTION: Do not over prime the engine. It can prevent the engine from starting. If the engine is over primed, wait a few minutes before trying to start and do not push the primer.
- Connect the extension cord to the connector on the engine (F).
- Connect the other end of the extension cord into a three-hole grounded 230 V A.C. receptacle.
- Push the electric start button (G) until the engine starts.
- CAUTION: Do not crank the engine more than five continuous seconds between each time you try to start. Wait 1 minutes between each try.
- If the choke was used to start the engine, release the electric start button and slowly move the choke (D) to the OFF position.
- Disconnect the extension cord from the receptacle first and then from the engine.
- Run the engine 2-3 minutes at idling speed before you start to throw snow.
To start the engine, electric start
WARNING: The product has a 120 V A.C. electric starter. Do not use the electric starter if your house is not a 120 V A.C. three-wire grounded system. Serious personal injury or damage to the product could occur. The electric starter has a three-wire power plug, and is designed to use 120 V A.C. household current. Make sure that your house is a 120 V A.C. three-wire grounded system. If you are uncertain, ask a licensed electrician.
- Insert the ON/OFF key (A) into the ignition slot until it clicks. Do not turn the key. (Fig. 60)
- Turn the fuel ON/OFF switch (B) to the ON position.
- Put the throttle control (C) to the FAST position.
- If the engine is cold, turn the choke (D) to the FULL position.
- Push the primer (E) three times.
- CAUTION: Do not over prime the engine. It can prevent the engine from starting. If the engine is over primed, wait a few minutes before trying to start and do not push the primer.
- Connect the extension cord to the connector on the engine (F).
- Connect the other end of the extension cord into a three-hole grounded 120 V A.C. receptacle.
- Push the electric start button (G) until the engine starts.
- CAUTION: Do not crank the engine more than five continuous seconds between each time you try to start. Wait 1 minute between each try.
- If the choke was used to start the engine, release the electric start button and slowly move the choke (D) to the OFF position.
- Disconnect the extension cord from the receptacle first and then from the engine.
- Run the engine 2-3 minutes at idling speed before you start to throw snow.
To operate the product
- CAUTION: Do not operate without snow or water to lubricate the auger blades. Incorrect use can cause high temperatures in the auger blades, especially if the product is new. This can cause damage to the auger blades and scraper bar.
- CAUTION: Do not partially engage drive or auger levers for an extended period of time; this can lead to premature wear or burning of the belts.
- Note: When both the drive engagement and auger engagement are engaged, the drive engagement will lock the auger engagement in position. Use the right hand to control the snow discharge chute.
- Note: Do not change the speed when the drive lever is engaged. This can cause damage to the transmission.

- To engage the auger blades, push the auger engagement (A) to the handle to engage the auger and throw snow. (Fig. 61)
- Raise the drive speed control lever (B) from the middle position to make the product move forward when the drive engagement (C) is engaged. Do not change the speed when the drive lever is engaged. This can cause damage to the transmission.
- Lower the drive speed control lever from the middle position to make the product move rearward when the drive engagement is engaged. (Fig. 62)
- To make the product move in the selected direction, hold the drive engagement (C) against the handle.

- If the product has power steering, hold the left steering trigger (D) to turn left. Hold the right steering trigger to turn right. (Fig. 63)
To stop the product

- Move the throttle control (A) to the STOP position. (Fig. 64)
- Remove the ON/OFF key.
To use the throttle control
- Slide the throttle control (A) to change the amount of fuel used. Always operate the engine at full throttle. (Fig. 64)
To use the fuel switch

- Slide the fuel switch (A) to open or close the fuel valve. Operate the product with the fuel switch in the OPEN position. (Fig. 65)
To use the choke control

- Slide the choke (A) to open or close the choke valve. Use the choke to start a cold engine. (Fig. 66)
To adjust the skid plates
The skid plates prevent damage to the bottom of the snow thrower. Adjust the skid plates (A) when the locknut (B) is loose, or the skid plate is not at the correct distance from the ground. No adjustment is necessary for standard installation.
- Loosen the locknut (B) with a 13 mm (½ in.) open wrench.
- Move the skid plates (A) up or down.
- On flat surfaces set the distance between the scraper bar and the ground to 5-6 mm (0.2-0.25 in).
- On rough surfaces set the skid plates (A) in a position where the scraper bar is above the top of the ground.
- WARNING: Make sure that gravel and stones do not go into the product. Objects that eject at high speed can cause injury.

- WARNING: Make sure that gravel and stones do not go into the product. Objects that eject at high speed can cause injury.
- Tighten the locknut (B). (Fig. 67)
To use the drift cutters (if equipped)
Use the drift cutters to cut through snowdrifts deeper than the front of the product.

- Loosen the adjustment nuts (A) on both sides of the product to allow each drift cutter (B) to be raised to its highest position. (Fig. 68)
- Tighten the nuts.
- Lower the drift cutters after use.
To prevent freeze-up after use
Note: Controls and moving parts can be blocked by ice. Do not apply much force to the controls. If you cannot operate a control or a part, start the engine and let it operate for some minutes.
- Start the engine and let it operate for some minutes. Stop the engine and wait for all moving parts to stop.
- Remove snow and loose ice from the product.
- Remove snow and loose ice from the base of the chute.
- Turn the chute deflector to the left direction and to the right direction to remove ice and water.
- Set the key to the “OFF” position.
- If the product does not have an electric starter, pull the starter rope handle several times to remove ice and water.
- If the product has an electric starter, connect the product to power and push the start button once to remove ice and water.
To get a good result
- Always run the engine at full throttle or near full throttle.
- Always adapt the speed of the product to the snow situation and adjust the speed with the drive speed control lever. Make sure that the product throws snow evenly.
- It is easier and more efficient to remove snow immediately after it falls.
- Always throw snow downwind whenever possible.
- On flat surfaces, like asphalt roads, raise the skid plates up to 5-6 mm (0.2-0.25 in) off the ground.
- The scraper bar is reversible. When it becomes worn almost to the edge of the housing, reverse it. Replace the scraper bar if it is damaged, or if both sides are worn.
- Do not dispatch the chute deflector if it is clogged.
- If the product does not move forward due to unforeseen circumstances, release the drive engagement immediately or move the ON/OFF key to the “OFF” position.
Maintenance
Introduction
When the product is in use, bolts can loosen and components can become worn. This can cause malfunctions like incorrect tolerance clearance, increased oil consumption, or misalignment of various components. Do regular maintenance on the product to prevent malfunction.
Maintenance schedule
| Maintenance | Daily | 20 hours | 50 hours | 100 hours |
| Make sure that nuts and screws are tightened | X | |||
| Do a check of the engine oil level | X | |||
| Replace oil 1 | X | X | X | |
| Make sure there are no fuel or oil leaks | X | |||
| Remove clogging, foreign objects in auger | X | |||
| Inspect the tire pressure 2 | X | |||
| Inspect and change the spark plug 3 | X |
Note: It is not necessary to add grease or to do other maintenance to the gearbox.
To do a general inspection
- Make sure that all nuts and screws on the product are tightened correctly.
To do a check of the oil level
CAUTION: A too low oil level can do damage to the engine. Do a check of the oil level before you start the product.
- Put the product on level ground.
- Remove the oil tank cap with the attached dipstick.
- Clean the oil from the dipstick.
- Put the dipstick fully into the oil tank to give a correct picture of the oil level.
- Remove the dipstick.
- Examine the oil level on the dipstick.
- If the oil level is low, fill with engine oil and do a check of the oil level again.
To replace the engine oil
- Run the engine a few minutes to make the oil warm. Warm oil flows better and includes more contaminants.
- WARNING: The engine oil is hot. Avoid skin contact with the used engine oil.
- Put the product on level ground.
- Remove the ON/OFF key.
- Put a container below the oil drain plug.
- Remove the oil drain plug, tip the product and drain the used oil in the container.
- Put the product back to the operating position.
- Install the oil drain plug and tighten it by hand.
- Fill the engine with oil, see To fill the engine with oil.
- Replace the oil after the first 20 h, 50 h, 100 h and then every 100 h.
- See Technical data for correct tire pressure.
- Check and clean spark plug before use each year.
To lubricate the product
- Lubricate the pivot points (A) with oil.
- Lubricate the engine (B) with oil.

- Apply a small amount of lithium grease to the interlock bosses (C) at the beginning of each season or every 25 hours of use. (Fig. 69)
Muffler
- The muffler keeps the noise levels to a minimum and sends the exhaust fumes away from the operator.
- Do not use the product if the muffler is missing or defective. A defective muffler increases the noise level and the risk of fire.
WARNING: The muffler becomes very hot during and after use and when the engine operates at idle speed. Be careful near flammable materials and/or fumes to prevent fire.
To examine the spark plug
CAUTION: Always use the recommended spark plug type. Incorrect spark plug type can cause damage to the product.
- Examine the spark plug if the engine is low on power, is not easy to start or does not operate correctly at idle speed.
- To decrease the risk of unwanted material on the spark plug electrodes, obey these instructions:
- Make sure that the idle speed is correctly adjusted.
- Make sure that the fuel mixture is correct.
- Make sure that the air filter is clean.

- If the spark plug is dirty, clean it and make sure that the electrode gap is correct, refer to Technical data. (Fig. 70)
- Replace the spark plug if it is necessary.
To inspect the augers and the scraper bar
- Before each use, inspect the augers and the scraper bar for wear.
- If the edge of the scraper bar is worn, reverse the scraper bar. If the scraper bar has damages or is worn on both edges, replace it.
- If the edges of the augers are worn, contact an authorized service center to replace them.
To replace the auger shear pins
- The auger shear pins protect the product from damage. The auger shear pins break if an object comes into the moving parts.
CAUTION: Use only original equipment shear pins supplied with the product.
- If an auger shear pin breaks, stop the engine and wait for the moving parts to stop.
- Remove the ON/OFF key and disconnect the spark plug cable.
- Align the hole in the auger hub (B) with the hole in the auger shaft (C) and install a new ¼ – 20 x 2 shear pin (A).

- Install a ¼-20 locknut (D) on the shear pin and tighten. (Fig. 71)
- Put the ON/OFF key in the ignition and connect the spark plug cable to the spark plug.
To replace the impeller shear pins
The impeller shear pins protect the product from damage. The impeller shear pins break if an object comes into the moving parts.
CAUTION: Use only original equipment shear pins supplied with the product.
1. If an impeller shear pin breaks, stop the engine and wait for the moving parts to stop.
2. Remove the ON/OFF key and disconnect the spark plug cable.
3. Align the hole in the impeller hub (A) with the holes in the impeller shaft (B) and install a new ¼-20 shear pin (C).
4. Install a ¼-20 locknut (D) on the shear pin and tighten. (Fig. 72)
5. Put the ON/OFF key in the ignition and connect the spark plug cable to the spark plug.
To examine the tires
- Keep the tires free of fuel, oil and chemicals to prevent damage to the rubber.
- Keep the tires away from stumps, stones, ruts, sharp objects and other objects which can cause damage to the tires.
- Keep the tire pressure correct, see Technical data.
To clear a clogged discharge chute deflector
Do not unclog the discharge chute deflector before the following operations are made.
- Release the auger engagement and the drive engagement at the same time.
- Wait 10 seconds to make sure that the augers have stopped.
- Turn off the product.
- Use the tool for cleaning (at least 37 cm (15 in.) long, included in some models) to remove the clog.
WARNING: Do not put your hands into the discharge chute deflector or inside the auger bucket.
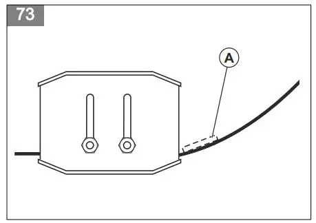
To replace the scraper bar

- Put the scraper bar (A) in a reversed position when it is worn to the edge of the housing. (Fig. 73)
- Replace the scraper bar if it is worn on both sides or if it is damaged.
Drive belts
WARNING
- The v-belts on your product are of special construction and should be replaced by original equipment manufacturer (OEM) belts available from your nearest service center. Using other than OEM belts can cause personal injury or damage to the product.
- The belt replacement requires separation of the product. While separating the auger housing from the frame, it is important that an assistant stands in the operating position and holds the product handles. Serious personal injury and/or damage to the product could occur if the product falls during the belt replacement process.
Note
- The auger and traction drive belts are not adjustable. Replace the belts if they are damaged or begin to slip from wear. It is recommended to have the belts replaced by a qualified service center.
- It is recommended to replace the drive belt and auger belt at the same time.
To prepare for replacement of the belts
- Remove the fuel from the fuel tank.

- Loosen the lock nut (A) that secures the chute rotator head (B) to the mounting bracket (C) to remove the discharge chute. (Fig. 74)

- Loosen the two screws (A) that secure the belt cover (B) to the frame (C) and remove the belt cover. (Fig. 75)
To remove the drive belt
- Remove the auger belt. See To remove the auger belt.

- Remove the tensioner spring (A) attached to the drive belt tensioner arm (B). (Fig. 76)
- Remove the return spring (C) holding the swing plate (D) in place.
- Remove the arm bolt (E) and drive belt tensioner arm.
- Remove the pulley bolt (F), engine pulley (G) and drive belt (H) from the engine.
- Remove the top bolt (I) holding the swing plate to the frame
- Pivot and hold the swing plate away from the product and remove the drive belt from the drive pulley (J).
To install the drive belt
- Pivot and hold the swing plate (D) away from the product. (Fig. 76)
- Put the drive belt (H) onto the drive pulley (J).
- Note: Make sure that the drive belt is routed in the drive pulley groove properly before you lower the swing plate.
- Install and tighten the top bolt (I).
- Put the drive belt in the grove of the engine pulley (G) before installing on the engine shaft.
- Install the pulley bolt (F) and attach the engine pulley on the engine. Tighten the pulley bolt (30-35 Ft. Lbs. / 41-47 Nm).
- Install the drive belt tensioner arm (B) and tighten the arm bolt (E) on the engine.
- Install the return spring (C) on the swing plate.
- Install the tensioner spring (A) on the tensioner arm.
- Operate all controls to make sure that the drive belt is installed correctly and that all components are moving correctly.
To install the belt cover
- Install the belt cover (B) on the frame (C) and tighten the two screws (A). (Fig. 75)
- Install the discharge chute.
To remove the auger belt

- Remove the 5/16” nut and the cable cover (E) from the frame. (Fig. 77)
- Remove the top 5/16” bolts and lower ¼” bolts (D) from the 2 sides of the frame. Do not discard the bolts.
- Loosen but do not remove the lower 5/16” bolts (C) on the 2 sides of the frame.
- Remove the auger belt (B) from the engine pulley (A).
- Tilt the rear section down. The front section will tilt forward at the same time. The bottom bolt is a hinge between the front and rear sections.
- Put a wooden block below the hinge point to set the product in the tilted position.
- Move the auger brake arm and remove the auger belt (B) from around the arm.
To install the auger belt

- Move the auger brake arm (G) and put the auger belt around and in the groove of the auger pulley (E). (Fig. 78)
- CAUTION: Make sure that the belt is not caught between the frame and auger housing as you put the unit together.
- Remove the wooden block from below the product.
- Lift the handles to tilt the rear section up. The front section will tilt back and pivot to attach the rear section.
- Make sure that the belt is put in the auger pulley (E) groove correctly.
- Install the 5/16” bolts (C), and tighten (11-16 Nm).
- Install the ¼” bolts (D) and tighten (5-8 Nm).
- Install the auger belt (B) on the engine pulley (A). Make sure that the belt is put correctly around the idler pulley and installed correctly in the engine pulley groove.
- Install the cable cover (F) and the 5/16″ nut on the frame.
- Operate all controls to make sure that the auger belt is installed correctly and that all components are moving correctly.
To adjust the tension of the cable for the discharge chute deflector

- Loosen the jam nuts (B) to adjust the tension of the cable for the discharge chute adjacent to the adjuster turnbuckle (A). (Fig. 79)
- Hold the short section and turn the long section to increase the adjuster.
- Adjust until the cable for the discharge chute deflector (C) has a tight fit. Tighten the jam nuts.
To adjust the auger control cable

- Remove the cable cover on the right hand side of the frame (D). (Fig. 80)
- To remove slack from the auger control cable, unscrew the bottom jam nut (B) and tighten the top jam nut (B) until the auger belt tension has increased.
- Retest the auger engagement. Repeat adjustment as needed until only a small amount of slack remains in the cable when the lever is disengaged.
- Tighten the bottom jam nut to lock in the tension.
Note: You may also tension the auger belt by adjusting the idler pulley as a secondary option. If the adjustment does not resolve the problem, replace the auger belt. See To remove the auger belt.
To adjust the belt tension
- Remove the belt cover. See To prepare for replacement of the belts.

- Loosen the idler pulley nut (A). (Fig. 81)
- Slide the idler pulley closer to the belt to increase the belt tension. Slide it away from the belt to decrease the belt tension.
- Tighten the idler pulley nut (A).
- To make sure that the belt is declutched fully when the auger lever is disengaged, have an assistant stand 10 feet / 3 meters in front of the product, on the opposite side of the chute. The assistant observes the rotation of the auger, and measures the time it takes for the auger to stop rotating when the lever is released. If the auger stops rotating after more than 5 seconds, repeat the adjustment and slide the idler pulley further from the belt.
- When the auger stops rotating after less than 5 seconds, install the belt cover. See To install the belt cover.
To remove the wheels
- Remove the wheel pin (A) and the retainer pin (B).

- Remove the wheel from the axle (C). (Fig. 82)
To clean the product
- Clean plastic parts with a clean and dry cloth.
- Do not use a high pressure washer to clean the product.
- Do not flush water directly on the motor.
- Use a brush to remove leaves, grass and dirt.
Troubleshooting
| Problem | Possible cause | Solution |
| The product does not start | The safety ignition key is not inserted. | Insert the safety ignition key. |
| The product is out of fuel. | Fill the fuel tank with fresh, clean gasoline. | |
| The ON/OFF key is OFF. | Move the ON/OFF key to ON posi- tion. | |
| The choke is in OFF (CLOSE) position. | Move the choke to ON (FULL, OPEN) position. | |
| The primer is not depressed. | Press the primer. | |
| The engine is flooded. | Wait a few minutes before restart- ing, DO NOT prime.
Restart the engine while full throt- tle and the choke in OFF (CLOSE) position. | |
| The spark plug cable is not connected. | Connect the cable to the spark plug. | |
| The spark plug is bad. | Replace the spark plug. | |
| There is water in the fuel or the fuel is too old. | Empty the fuel tank and carburet- or. Fill the fuel tank with fresh, clean gasoline. | |
| There is vapor locked in the fuel line. | Make sure that all the fuel line is below the outlet of the fuel tank. The fuel line should run continuously down from fuel tank to carburetor. | |
| Other causes. | Inspect the starting procedures carefully in this manual. | |
| The fuel switch (if equipped) is in CLOSE (OFF) position. | Turn the fuel switch to OPEN (ON) position. | |
| The throttle is in STOP position. | Move the throttle to FAST position. |
| Decreased power | The spark plug cable is not connected. | Connect the cable to the spark plug. |
| The product throws too much snow. | Decrease the speed and the width of the swath. | |
| The fuel tank cap is covered with ice or snow. | Remove the ice and the snow on and around the fuel tank cap. | |
| The muffler is dirty or clogged. | Clean or replace the muffler. | |
| Improper cable length. | Adjust the cable. | |
| The muffler is blocked. | Make sure that the engine is cool. Clear the blockage. | |
| The air intake of the carburetor is blocked. | Make sure that the engine is cool. Clear the blockage. | |
| The engine idles or runs roughly | The choke is in ON (FULL, OPEN) position. | Move the choke to OFF (CLOSE) position. |
| The fuel line is blocked. | Clean the fuel line. | |
| There is water in the fuel or the fuel is too old. | Empty the fuel tank and carburet- or. Fill the fuel tank with fresh, clean gasoline. | |
| The carburetor needs to be replaced. | Contact an authorized service cen- ter. | |
| The belt is stretched. | Replace the auger v-belt. | |
| Excessive vibration / Handle movement | Some parts are loose. The augers are dam- aged. | Tighten all fasteners. Replace the damaged parts. If vibration re- mains, contact an authorized serv- ice center. |
| The handles are not positioned correctly. | Make sure that the handles are locked into position. | |
| The adjustment lever nuts are loose. | Tighten the nuts until the handle feels safe. | |
| The starter rope handle is hard to pull | The starter rope handle is frozen. | Slowly pull out as much rope out of the starter as possible and release the starter rope handle. If the engine does not start, repeat the procedure or use the electrical starter. |
| The starter rope is interfering with components. | The starter rope should not touch any cables or hoses. |
| Loss of traction drive/ slowing of drive speed
Loss of snow discharge or slowing of snow dis- charge | The belt slips. | Adjust the cable. Adjust the belt. |
| The belt is worn. | Check / replace the belt. Adjust the pulley. | |
| The belt is off the pulley. | Check/reinstall the belt. Adjust the pulley. | |
| The chute deflector is clogged. | Clean the chute deflector. | |
| Foreign objects clog the augers. | Remove the debris or the foreign object from the augers. | |
| The shear pin is broken. | Replace the broken shear pin. | |
| Excessive snow and ice build up in between track components. | Remove snow and ice build up from in between track components. | |
| The friction drive wheel is worn. | Contact an authorized service center. | |
| The friction disc is wet | Let the friction disc dry | |
| Failure of auger rotation after the grip is released | The drive belt is not aligned. | Adjust the drive belt. |
| The discharge deflector is not aligned. | Adjust the discharge deflector. | |
| The lights are not on (if so equipped) | The engine is not running. | Start the engine. |
| The cable connection is loose. | Check the cable connections at the engine and the lights. | |
| The LED is burnt out. | Replace the LED light module. In- dividual LEDs can not be replaced. | |
| The chute rotator is diffi- cult to move | There is debris in the chute rotator mecha- nism. | Clean the internal parts of the chute rotator mechanism. |
| The cables are kinked or damaged. | Make sure that the cables are not kinked. Replace the cables that are damaged. | |
| The product turns to one side | The tire pressure is not equal. | Adjust the tire pressure and fill the tire. |
| The product drives with only one wheel. | Inspect the tire lock pin. | |
| Uneven sled adjustment. | Adjust the skid plates and the sledge. | |
| Uneven skid plates adjustment. | Adjust the skid plates and the sledge. |
Transportation, storage and disposal
Transportation and storage
- For storage and transportation of the product and fuel, make sure that there are no leaks or fumes. Sparks or open flames, for example from electrical devices or boilers, can start a fire.
- Always use approved containers for storage and transportation of fuel.
- Empty the fuel tank before you put the product in storage for a long period of time. Discard the fuel at an applicable disposal location
- Safely attach the product during transportation to prevent damage and accidents.
- Keep the product in a locked area to prevent access for children or persons that are not approved.
- Keep the product in a dry and frost free area.
Disposal
- Obey the local recycling requirements and applicable regulations.
- Discard all chemicals, such as engine oil or fuel, at a service center or at an applicable disposal location.
- When the product is no longer in use, send it to a Husqvarna dealer or discard it at a recycling location.
Technical data
| ST 324 | ST 327 | ST 330 | |
| Dimensions | |||
| Weight, with empty tanks, lb / kg | 232 / 105 | 271 / 123 | 292 / 132 |
| Max Operating Tire Pressure, PSI | 18 | 18 | 20 |
| Engine | |||
| Brand | Husqvarna | Husqvarna | Husqvarna |
| Displacement, cc | 252 | 301 | 389 |
| Fuel type | Unleaded regular, octane rating 86 AKI or higher (maximum 10% ethanol) DO NOT use E85 blended fuels. These engines are not E20/E30/E85 compatible | ||
| Fuel capacity, gallons / liters | 0.69 / 2.61 | 1.45 / 5.49 | 1.45 / 5.49 |
| Oil type (API SJ-SN) | SAE 5W30 (below 0°C (32°F)) | ||
| Oil capacity ounces / liters | 18.6 / 0.55 | 37.2 / 1.1 | 37.2 / 1.1 |
| Electrical system | |||
| Spark plug | F6RTC | ||
| Spark plug electrode gap in / mm | 0.030 / 0.760 | ||
| Noise emissions 4 | |||
| Sound power level, measured dB(A) | <105 | ||
| Sound power level, guaranteed LWA dB(A) | ≤ 105 | ||
| Vibration levels, ahveq5 | |||
| Vibration level on the handle, m/s2 | ≤ 10.13 | ≤ 4.66 | ≤ 4.23 |
- 4 Noise emissions in the environment measured as sound power (LWA) in conformity with EC directives 2000/14/EC and 2005/88/EC.
- 5 Vibration level according to ISO 5349-2 EN 1033.
Declaration of Conformity
EU Declaration of Conformity
We, Husqvarna AB, SE 561 82 Huskvarna, SWEDEN, declare under our sole responsibility that the represented product:
| Description | Snow thrower |
| Brand | Husqvarna |
| Platform / Type / Model | ST 324, ST 327, ST 330 |
| Batch | Serial number dating 2021 and onwards |
complies fully with the following EU directives and regulations:
| Directive/Regulation | Description |
| 2006/42/EC | “relating to machinery” |
| 2011/65/EU | “restriction of use of certain hazardous substances” |
| 2014/30/EU | “relating to electromagnetic compatibility” |
| 2000/14/EC, 2005/88/EC | “relating to outdoor noise” |
Harmonized standards and/or technical specifications applied are as follows: EN ISO 12100:2010, EN ISO 14982:2009, ISO 8437:1997, ISO 3744:2010, EN 1032:2009, EN 50581:2012.
- In accordance with directive 2000/14/EC, Annex V, the declared sound values are stated in the technical data section of this manual and in the signed EU Declaration of Conformity.
- The supplied snow thrower conforms to the example that underwent examination.
- On behalf of Husqvarna AB, SE 561 82 Huskvarna, SWEDEN, 2020–02–07

- Claes Losdal
Responsible for technical documentation
- CE
UK Declaration of Conformity
We, Husqvarna AB, SE-561 82 Huskvarna, Sweden, tel: +46-36-146500, declare on our sole responsibility that the product:
| Description | Snow thrower |
| Brand | Husqvarna |
| Type / Model | ST 324, ST 327, ST 330 |
| Identification | Serial numbers dating 2021 and onwards |
complies fully with the following UK directives and regulations:
| Directive / Regulation | Description |
| 2008/1597 | The Supply of Machinery (Safety) Regulations 2008 |
| 2016/1091 | Electromagnetic Compatibility Regulations 2016 |
| 2001/1701 | The Noise Emission in the Environment by Equipment for use Outdoors Regulations 2001 |
| 2012/3032 | The restriction of the use of Certain Hazardous Substances in Electrical and Electronic Equipment 2012 |
Harmonized standards and/or technical specifications applied are as follows: EN ISO 12100:2010, EN ISO 14982:2009, ISO 8437:1997, ISO 3744:2010, EN 1032:2009, EN 50581:2012.
- In accordance with statutory instrument 2001/1701, conformity assessment procedure, schedule 9. For information relating to noise emissions, refer to Technical data.
- The supplied snow thrower conforms to the example that underwent examination.
- On behalf of Husqvarna AB, SE 561 82 Huskvarna, SWEDEN, 2020–02–07

- Claes Losdal
Responsible for technical documentation
- UKCA
UK Importer
- Husqvarna UK Ltd
- Preston Road, Co. Durham DL5 6UP

































