
38025 1800 Power Curve Snow Thrower
User Manual
38025 1800 Power Curve Snow Thrower
Snowthrower
Model No. 38025 – 69000001 & Up
Operator’s Manual
IMPORTANT: Read this manual carefully. It contains information about your safety and the safety of others. Also, become familiar with the controls and their proper use before you operate the product.
Introduction
Thank you for purchasing a Toro product.
All of us at Toro want you to be completely satisfied with your new product, so feel free to contact your local Authorized Service Dealer for help with service, genuine Toro parts, or other information you may require.
Whenever you contact your Authorized Service Dealer or the factory, always know the model and serial numbers of your product. These numbers will help the Service Dealer or Service Representative provide exact information about your specific product. You will find the model and serial number decal located in a unique place on the product as
shown below.
1. Model and Serial Number Decal
For your convenience, write the product model and
serial numbers in the space below.
Model No: ———————-
Serial No. ———————–
Read this manual carefully to learn how to operate and maintain your product correctly. Reading this manual will help you and others avoid personal injury and damage to the product. Although Toro designs, produces, and markets safe, state-of-the-art products, you are responsible for using the product properly and safely. You are also responsible for training persons who you allow to use the product about the safe operation.
The Toro warning system in this manual identifies potential hazards and has special safety messages that help you and others avoid personal injury, even death.
DANGER, WARNING, and CAUTION are signal words used to identify the level of hazard. However, regardless of the hazard, be extremely careful.
DANGER signals an extreme hazard that will cause serious injury or death if the recommended precautions are not followed.
WARNING signals a hazard that may cause serious injury or death if the recommended precautions are not followed.
CAUTION signals a hazard that may cause minor or moderate injury if the recommended precautions are not followed.
Two other words are also used to highlight information. “Important” calls attention to special mechanical information and “Note” emphasizes general information worthy of special attention.
The left and right side of the machine is determined by standing behind the handle in the normal operator’s position.
Safety
To assure maximum safety, and best performance, and to gain knowledge of the product, it is essential that you or any other operator of the snowthrower read and understand the contents of this manual before the motor is ever started. Pay particular attention to the safety alert symbol
which means CAUTION, WARNING, OR DANGER — “personal safety instruction.” Read and understand the instruction because it has to do with safety. FAILURE TO COMPLY WITH INSTRUCTIONS MAY RESULT IN PERSONAL INJURY.
SAVE THESE INSTRUCTIONS FOR FUTURE REFERENCE!
Safe Operating Practices
Always follow all safety instructions to avoid serious injury or death.
General Operation
- Read this manual carefully before operating the snow thrower. Become familiar with the controls and proper use of the snow thrower. Never allow children under 16 years of age to operate the snow thrower. Never allow adults to operate snowthrowers without proper instructions.
- The operator of the snowthrower is responsible for keeping everyone, especially children and pets, away from the area of operation. The operator is responsible for accidents or hazards occurring to other people or their property. Always direct the discharge chute away from people.
- Thoroughly inspect areas where snowthrowers will be used and remove doormats, sleds, boards, sticks, stones, wire, and debris. Watch for foreign objects while snow throwing.
- Wear adequate winter clothing and rubber boots that will ensure proper footing on slippery surfaces. Do not wear loose-fitting clothing that could possibly get caught in moving parts.
- Keep all shields and safety devices in place. If a shield, safety device, or decal is illegible, damaged, or lost, repair or replace it before beginning operation. Also, tighten any loose nuts, bolts, or screws.
- Do not use snow throwers on gravel or crushed rock surfaces. Flying debris may cause damage or personal injury.
- WARNING – To prevent electric shock, use only a U.L.-approved extension cord suitable for outdoor use in cold temperatures (see page 7 for proper size and use). Replace a damaged extension cord immediately.
- To reduce the risk of electric shock, this appliance has a polarized plug (one blade is wider than the other) (Fig. 7) and will require the use of a polarized extension cord. The appliance plug will fit into a polarized extension cord only one way. If the plug does not fit fully into the extension cord, reverse the plug. If the plug still does not fit, obtain a correct polarized extension cord. A polarized extension cord will require the use of a polarized wall outlet. This plug will fit into the polarized wall outlet only one way. If the plug does not fit fully into the wall outlet, reverse the plug. If the plug still does not fit, contact a qualified electrician to install the proper wall outlet. Do not change the equipment plug, extension cord receptacle, or extension cord plug in any way.
- To prevent disconnection of the snowthrower cord from the extension cord during operation, tie the extension cord to loop in the upper handle before connecting to the snowthrower; refer to page 8, Figure 6 for proper procedures.
While Operating - Keep people and pets at a safe distance away from the snowthrower and area of operation.
- Avoid accidental starting. Don’t carry a plugged-in snow thrower with hand-on the control bar. Keep away from the control bar while plugging in the cord.
- If the extension cord is damaged in any manner while plugged in, remove the extension cord from the wall receptacle.
- Do not abuse the extension cord. Never carry a snow thrower by a cord or pull sharply on the cord to disconnect it from the receptacle. Keep the cord away from heat, oil, and sharp edges.
- Always keep the extension cord away from rotating parts to prevent damage and electric shock.
- Operate the snow thrower only when there is good visibility or light. Always maintain secure footing and balance, and keep a firm grip on the handle. Do not overreach.
- Do not use a snow thrower on a roof.
- Be attentive when using the snow thrower, and stay alert for holes in the terrain and other hidden hazards.
- STAY AWAY FROM THE DISCHARGE OPENING WHILE OPERATING THE SNOW THROWER. Keep your face, hands, feet, and any other part of your body or clothing away from concealed, moving, or rotating parts.
- Never operate the snowthrower near bystanders, glass enclosures, automobiles, trucks, window wells, or a drop-off without proper adjustment of the snow discharge angle; refer to page 9, item 3 for the correct operating procedure.
- Clear snow from slopes by going up and down, never across the face. Use caution when changing directions. Never clear snow from steep slopes.
- Operation of the snowthrower in the handheld position (wheels off the ground) is unsafe except when used in accordance with special instructions in the Operator’s Manual. See page 10, items 6 and 7.
- When using the secondary handle, always turn the chute in the opposite direction from where you are standing.
- Do not force the chute deflector too far forward. A gap will occur between the chute and the chute deflector which will allow snow and anything that may be picked up by the snowthrower to fly in the direction of the operator.
- DO NOT OVERLOAD THE SNOWTHROWER BY CLEARING SNOW AT TOO FAST A RATE. LET THE UNIT DO THE WORK.
- If a solid object is hit or the snowthrower vibrates abnormally, stop the snowthrower and wait for all movement to stop. Disconnect the extension cord and check the snowthrower immediately for possible damage, obstruction, debris in the rotor or lose parts. Vibration is generally a sign of trouble. Repair any damage before operating the snow thrower again.
- Before adjusting, cleaning, repairing, or inspecting the snowthrower, or before unclogging the discharge chute, stop the snowthrower by releasing the control bar and wait for all moving parts to stop. Also, disconnect the cord from the receptacle to prevent accidental starting.
- When using a snow thrower, let it run for a few minutes so ice does not freeze moving parts.
- Disconnect the extension cord from the cord receptacle, turn-key clockwise, and remove the key from the handle if the snow thrower will be left unattended.
Maintenance - Perform only those maintenance instructions described in this manual. Disconnect the cord from the receptacle before performing maintenance procedures to prevent the possibility of accidental starting. If major repairs are ever needed, contact your local Authorized TORO Service Dealer or TORO Service Center for assistance.
- Keep the snowthrower in safe operating condition by keeping nuts, bolts, and screws tight. Check all fasteners frequently to assure they are tight.
- Store snowthrowers indoors when not in use in a dry, locked-up place out of reach of children. Remove the extension cord from the snow thrower and store it with the snow thrower to prevent misplacement. Lock the snow thrower and remove the key from the handle. Store the key in a memorable place.
- At the time of manufacture, the snowthrower conformed to and exceeded safety standards in effect for snowthrowers. Therefore, to assure the best performance and safety, purchase genuine TORO replacement parts and accessories to keep your TORO all TORO. NEVER USE “WILL FIT” REPLACEMENT PARTS AND ACCESSORIES.
Safety and Instruction Decals
Safety decals and instructions are easily visible to the operator and are located near any area of potential danger. Replace any decal that is damaged or lost.


DOUBLE INSULATED — When servicing, use only identical replacement parts.
Read the operator’s manual for operating and safety instructions. Replacement manual available by sending model and serial numbers to the TORO CO. 8111 Lyndale Avi Si, Mpls, MN 55420
DANGER
AVOID INJURY! FROM ROTOR/IMPELLER.
KEEP HANDS, FEET, AND CLOTHING AWAY FROM THE DISCHARGE AREA. DO NOT STEP IN FRONT OF THE MACHINE, OR USE YOUR HANDS TO UNCLOG THE CHUTE. STOP THE MOTOR AND UNPLUG THE CORD BEFORE UNCLOGGING SNOW OR DEBRIS. DO NOT DIRECT DISCHARGE AT OTHERS, USE FOR SNOW REMOVAL ONLY. LTO PREVENTS ELECTRIC SHOCK AND REPLACES THE DAMAGED CORD IMMEDIATELY. j,
LISTED SNOW MOVER 546X
TORO 1800
MODEL 38025
120 VAC 60 HZ 12 AMP
ON THE REAR OF THE SHROUD
(Part No. 73-0450)
Assembly
Install Upper Handle And Chute Crank
Note: Determine the left and right-hand sides of the snow thrower by standing in the normal operating position.
- Stand the snow thrower on wheels and position the upper handle to prepare for handle assembly. Inspect the open internal wiring. If damaged do not assemble. Contact your TORO Service Dealer.
CAUTION
POTENTIAL HAZARD
• Internal wiring could be damaged during assembly.
WHAT CAN HAPPEN
• Damaged wiring could cause serious personal injury when operating the snow thrower.
HOW TO AVOID THE HAZARD
• Use care so electrical wiring will not be damaged during assembly.
• If the wiring is damaged, do not assemble the snow thrower. Contact your TORO Service Dealer. - Carefully insert the right side of the upper tubing over the end of the lower right side tubing (Fig. 1).
- Carefully insert the left side of the upper tubing into the end of the lower left side tubing (Fig. 1).
- Squeeze upper tubes together as shown in Figure 1. Wiggle the upper tubes down until mounting holes in the upper and lower tubing are aligned (Fig. 1).
1. Upper tubing
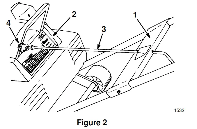
2. Lower tubing - Place the mounting plate over the tubes (Fig. 2). Align mounting plate holes with upper and lower tubing holes.
1. Mounting plate
2. Shroud
3. Chute crank
4. Gear - Insert the end of the chute crank through a hole in a shroud. Turn the chute crank rod lightly until the flattened end drops into the slot in gear. Firmly push the chute crank into gear until it snaps into place (Fig. 2 & 3).
1. Chute crank
2. Chute crank gear - Secure upper and lower tubing and mounting plate together with (2) #10–24 machine screws and locknuts. Position screw heads on the outside of the mounting plate. Be careful not to damage the internal electrical wiring when inserting screws. If the hole is blocked, use a blunt 1/8” punch to carefully route electrical wiring away from aligned holes.
Install Discharge Chute (Fig. 4)
- Position the deflector onto the discharge chute, aligning mounting holes. Insert a rubber washer between the deflector and discharge chute while maintaining hole alignment.
- Secure deflector to discharge chute with (2) 5/16–18 carriage bolts, metal washers, and locknuts. Make sure the square shoulders on the carriage bolts align with the inside square on the discharge chute. Position metal washers to the outside of the deflector as shown in Figure 3. DO NOT OVERTIGHTEN BOLTS.
1. Chute deflector
2. Chute
3. Rubber washer
4. Carriage bolt
5. Metal washer
6. Locknut
Before Starting
Unlocking Snowthrower
- To unlock the snowthrower, push the key into the hole (Fig. 5). While holding the key down, turn the key counterclockwise. The interlock tab rotates away from prongs, allowing the extension cord to be plugged in (Fig. 5). Do not attempt to remove the key when in the unlocked position.
Note: The interlock tab is a safety device to prevent unauthorized use of the snow thrower.
Securing Power Supply Cord
The proper extension cord is a requirement for the safe and efficient use of your appliance. Use only a UL-listed extension cord recommended for outdoor use. Refer to Extension Cord Chart below.
| EXTENSION CORD CHART | ||
| If the length of an extension cord is less than or equal to: | 100 ft. | 150 ft. |
| Assure wire size gauge (A.W.G.) in the cord is: | 16 | 14 |
Note: Use of an extension cord over 150 feet is not recommended.
WARNING
POTENTIAL HAZARD
- Contact with water while operating the unit could cause electric shock.
WHAT CAN HAPPEN
- Electric shock can cause injury or death.
HOW TO AVOID THE HAZARD
- Don’t handle plugs or appliances with wet hands or while standing in water.
- Use only a UL-listed extension cord recommended for outdoor cold weather use. Refer to Extension Cord Chart, page 7.
- Before connecting the extension cord to the snowthrower, tie the extension cord to the loop in the handle as shown in Figure 6. This helps to prevent the extension cord from pulling out of the snow thrower during operation.

WARNING
POTENTIAL HAZARD
• The electrical cord could be damaged.
WHAT CAN HAPPEN
• A damaged electrical cord could cause a
shock or fire.
HOW TO AVOID THE HAZARD
• Thoroughly inspect the electrical cords before using the unit. If the cord is damaged, do not operate the unit. Replace or repair the damaged cord immediately. Contact your TORO service dealer for assistance.
Your unit has a polarized plug. This means one prong in the handle socket is larger than the other (Fig. 7). When inserting the end of a suitable extension cord into the handle socket, be sure to insert the enlarged prong into the wide slot in the extension cord end. See Safety Instructions, item #8, for additional information.
Operation
Before Operating
- Check the condition of the unit. Make sure the rotor turns freely.
Starting/Stopping
- To start the rotor, squeeze the control bar (Fig. 8).

- To stop the rotor, release the control bar.
Operating Tips
WARNING
POTENTIAL HAZARD
- If a snowthrower hits a foreign object while in operation, the object could be thrown in the operator’s or bystander’s direction.
WHAT CAN HAPPEN
- Thrown objects can cause serious personal injury.
- The snow thrower could be damaged.
HOW TO AVOID THE HAZARD
- Keep the area to be cleared and free of all foreign objects which may be picked up and thrown by the rotor blades.
- Always be sure to keep children and pets away from the area of operation.
- Keep the area to be cleared free of stones, toys, or other foreign objects which may be picked up and thrown by the rotor blades. Such items could be covered by snowfall and, therefore, unnoticed until struck by the rotor blades. If an obstruction or a foreign object is hit while operating the snow thrower, stop the unit by releasing the control
bar, unplugging the extension cord, removing the obstruction, and checking the unit for damage. - ADJUSTING DISCHARGE CHUTE—Rotate the chute crank clockwise to move the discharge chute to the left and counterclockwise to move the chute to the right.
Note: The chute crank makes a noise as you turn the crank. This is normal.
The deflector handle on top of the discharge chute controls the height of the snow stream (Fig. 9). Adjust the height of the snow stream by raising or lowering the chute deflector.
WARNING
POTENTIAL HAZARD
• A gap between the chute and the chute deflector will allow snow and anything that may be picked up by the snowthrower to fly in the direction of the operator.
WHAT CAN HAPPEN
• Thrown objects could cause serious personal injury.
HOW TO AVOID THE HAZARD
• Do not force the chute deflector too far forward so a gap appears between the chute and the chute deflector.
• Do not over-tighten deflector mounting nuts so that excessive force is required to adjust the deflector. - Begin snow removal near the electrical outlet and work outward. Blow back and forth, not away and toward the outlet.
When turning at the end of a swath, step over the cord and turn the snow thrower. - Always overlap each swath and discharge snow downwind when possible.
- Shave down large banks of snow by placing the snow thrower on the bank. Lift the snowthrower by the primary and secondary handles only (Fig. 10). Let the unit’s weight shave down the bank in a back-and-forth motion.

- When clearing steps or deep drifts, hold the unit by the primary and secondary handles (Fig. 10) and use a swinging or sweeping motion.
WARNING
POTENTIAL HAZARD
• When using the secondary handle, never direct the snow discharge chute at the operator or bystanders. Foreign objects could be thrown by the snow thrower.
WHAT CAN HAPPEN
• Thrown objects could cause serious personal injury.
HOW TO AVOID THE HAZARD
• When using the secondary handle, always turn the discharge chute in the opposite direction from where you or your bystanders are standing. - Keep the extension cord clear of obstructions, sharp objects, and all moving parts. Do not pull sharply on a cord or abuse it in any manner. Frequently inspect the cord for damage which could result in electric shock. If the cord becomes damaged in any way, replace it.
- In some snow and cold weather conditions, some controls and moving parts may freeze. Therefore, when any control becomes hard to operate, stop the motor by releasing the control bar, disconnect the extension cord and check all parts for freeze-up. DO NOT USE EXCESSIVE FORCE WHEN TRYING TO OPERATE THE CONTROLS IF FROZEN. Free all controls and moving parts before operating.
- When operating the snowthrower, keep the snowthrower wheels one inch off the pavement by tipping the unit forward. This helps prevent snow from building up on wheels.
- AFTER CLEARING SNOW—Let the motor run for a few minutes so ice doesn’t freeze moving parts. After the motor is shut off, wipe ice and snow off the entire unit. Rotate the chute crank several times to clear the mechanism of snow.
- Lock the snow thrower when the unit is not being used. Disconnect the extension cord. Hold the key down, turn clockwise and remove the key from the handle to prevent unauthorized use of the machine. Store the key in a memorable place.
Maintenance
WARNING
POTENTIAL HAZARD
- If the extension cord is plugged into the snowthrower and the key is in the handle, someone could accidentally operate the snowthrower while you are performing maintenance on it.
WHAT CAN HAPPEN
- Operation of the snowthrower, while maintenance is being performed on it, could cause serious personal injury.
HOW TO AVOID THE HAZARD
- Disconnect the extension cord before you do any maintenance. Hold the key down, turn clockwise and remove the key from the handle.
Lubricating Snowthrower
The snow thrower does not have to be lubricated; all bearings are lubricated for the life of the product at the factory.
Replacing Scraper
A replaceable scraper is located at the bottom of the rotor housing.
- Remove (2) screws securing the scraper to the snow thrower (Fig. 11).
- Install a new scraper and fasten it securely with (2) screws.

Replacing Rotor
Note: Determine the left and right sides of the snow thrower by standing in the normal operating position.
- Remove (3) screws securing the right side cover and skid to the snow thrower frame (Fig. 12).

- Using a 3/8” Allen wrench, turn the rotor shaft clockwise (left-hand thread) while holding the rotor (Fig. 13). The Allen wrench may need to be tapped with a hammer to loosen the rotor shaft. Wedge a stick or hammer handle in the rotor to prevent rotation.
Note: If you are unable to remove the rotor shaft by holding the rotor, remove the left side cover and skid (Fig. 14). Hold the hex nut with a 7/8” wrench while unscrewing the rotor shaft (Fig. 15). - Hold the rotor and pull out the rotor shaft.

- Remove rotor. Retain washer on right side of rotor for reassembly. Replace the washer if worn.

- If necessary, insert a new washer into the right side of the new rotor.
- Align the left side of the new rotor with the coupler. The (3) bosses on the rotor end must align with slots on the coupler (Fig. 16). When mounting the coupler to drive hex, coupler tabs must be aligned inside. Slide the right side of the rotor into the mounting position.

- Reinsert the rotor shaft through the rotor. Make sure that shaft fits into the bearing on the right side. Torque to a minimum of 10 ft-lbs.
- Reinstall the cover and skid.
Replacing Belts
Large Belt Replacement
- Remove (3) screws securing the left side plate to the snow thrower frame (Fig. 14). Remove the side plate and skid.
CAUTION
POTENTIAL HAZARD
• Idler spring could fly in your face while being removed.
WHAT CAN HAPPEN
• Contact with a flying spring could cause personal injury.
HOW TO AVOID THE HAZARD
• Wear safety goggles when working with the idler springs. - Remove the idler spring from the idler arm (Fig. 17).

- Rotate the rotor with the left hand while walking (sliding) the belt off the large pulley with the right hand (Fig. 18).

- Slip the new belt over the small pulley. Lift up the idler arm and slip the belt under the idler pulley (Fig. 19). Rotate the rotor with the left hand while walking (sliding) the belt onto the large pulley with the right hand (Fig. 20).


- Reassemble the idler spring, making sure the idler pulley is riding on the belt.
- Reinstall the left side cover and skid with (3) screws.
Small Belt Replacement
- Remove (3) screws securing the left side plate and skid to the snow thrower frame (Fig. 14). Remove the side plate and skid.
- Remove the large belt by slowly walking (sliding) it off the small pulley (Fig. 18). Refer to steps 2-3 in the Large Belt Replacement section.
- Remove the small pulley bolt (left-hand thread) by turning the bolt clockwise, removing (2) washers, and the small pulleys (Fig. 21).
- Remove and discard the small belt (Fig. 21).
1. Bolt (left-hand thread)
2. Washers
3. Small pulley
4. Small belt
5. Motor shaft pulley - Slide (2) washers onto the bolt. Insert bolt through the small pulley. Bolt must ride on bearings in the small pulley.
- Place the new belt on the small pulley.
- Slide belt over motor shaft pulley (Fig. 21).
- When tightening the bolt, the bolt head and washers must be flush against the small pulley. Torque bolt to 25-30 in-lbs. DO NOT OVERTIGHTEN THE BOLT.
- Slip a large belt over the small pulley (Fig. 20). Refer to Large Belt Replacement, steps 4-6.
Storage
- Run the snow thrower for a few minutes to melt any snow that may have accumulated on the unit during use.
- Disconnect the extension cord from the snow thrower.
- Examine the extension cord thoroughly for signs of wear or damage. Replace, if worn or damaged.
- Examine the snowthrower thoroughly for worn, loose, or damaged parts. If parts repair or replacement is necessary, contact your local Authorized TORO Service Dealer for assistance.
- Store the extension cord with the snow thrower to prevent misplacement.
- Store the snowthrower in a clean, dry place. Cover it to provide protection.
Toro Service Support
If your unit requires service or maintenance, your nearest TORO Master Service Dealer is the best dealer to assist you. Refer to the “Yellow Pages” of your local telephone directory in the section titled “Lawn Mowers.” TORO Master Service Dealers are listed under the TORO trademark. If you need help locating a TORO Master Service Dealer near you, call 1-800-421-9684 for assistance.
The Toro Promise
A Full Year Residential Use Warranty
The Toro Company warrants this TORO Product for one year against defects in material or workmanship. To receive a replacement or repair, at Toro’s option, just return the complete unit, postage prepaid, to the seller or any TORO Electric Service Dealer or the TORO Service Center, 5300 Shore-line Blvd., Mound, MN 55364, along with proof of purchase. This warranty covers product defects only. It does not cover incidental or consequential damages. Some states do not allow the exclusion or limitation of incidental or consequential damages, so the above limitation may not apply to you. This warranty gives you specific rights, and you may have other rights which vary from state to state. If all other remedies fail, you may contact us at The Toro Company, Customer Service Department, 8111 Lyndale Ave S, Bloomington, MN, 55420-1196. (Do not return defective products to this address.)
COUNTRIES OTHER THAN THE UNITED STATES, CANADA, OR MEXICO
Customers who have purchased TORO products exported from the United States or Canada should contact their TORO Distributor (Dealer) to obtain guarantee policies for your country, province, or state. If for any reason you are dissatisfied with your Distributor’s service or have difficulty obtaining guarantee information, contact the TORO importer. If all other remedies fail, you may contact us at The Toro Company.
FORM NO. 3318–142 Rev B
Rev. 10/24/97
© The Toro Company – 1996, Rev. 1998
All Rights Reserved
Printed in USA
1. Upper tubing
1. Mounting plate
1. Chute crank
1. Chute deflector







Note: If you are unable to remove the rotor shaft by holding the rotor, remove the left side cover and skid (Fig. 14). Hold the hex nut with a 7/8” wrench while unscrewing the rotor shaft (Fig. 15).






1. Bolt (left-hand thread)

















