Poulan PLN1514 Electric Chain Saw

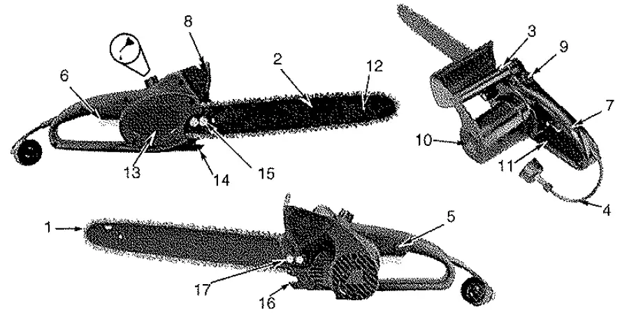
GENERAL INFORMATION

- Saw Chain
- Guide Bar
- Ront Handle
- Power Cord
- Lock-off Button
- Trigger Start/ Stop Switch
- Rear Handle
- Hand Guard
- Oil Tank Cap
- Electric Motor
- Rear Hand Guard
- Guide Bar Nose
- Sprocket Cover
- Chain Catcher
- Bar Retaining Nuts
- Bar Retaining Nuts
- Tension Adjustment Screw
SAFETY FEATURES
Numbers preceding the descriptions correspond with the numbers on preceding page to help you locate the safety feature.
- LOW-KICKBACK CHAIN helps significantly recuse kickback, or the intensity of kickback, due to specially designed depth gauges and Guard likes.
- GUKED BAR Reduced kickback guide bar reduces the intensity of kickback
- LOCK/OFF BUTTON prevents accidental acceleration of the saw motor. The trigger cannot be squeezed unless lock/off button is depressed.
- TRIGGER START/STOP SWITCH stops saw motor when released.
- HAND GUARD protects the operator’s left hand in the event it slips off the front handle while saw is running.
- ELECTRIC MOTOR s double insulated for added safety.
- CHAIN CATCHER reduces the danger of injury in the event saw chain breaks or derails during operation. The catcher is designed to intercept a whipping chain.
SPECIFICATION
- Input 120V, 60Hz, 8Amp
- Peak Horsepower 1.5HP
- Bar Length.. .14″ (35cm)
- Chain Oil Capacity unces (50ml)
- Net Weight 7.5 Ibs. (3.4Kg)
SAFETY PRECAUTIONS
SAFETY PRECAUTIONS FOR CHAIN SAW USERS
WARNING
DANGER! BEWARE OF
KICKBACK!
Kickback can lead to dangerous loss of control of the chain saw and result in
serious or fatal injury to the saw
operator or to anyone standing close by, Always be alert, rotational kickback and pinch kickback are major chain saw operational dangers and the leading cause of most chain saw accidents.
BEWARE OF:
ROTATIONAL KICKBACK
(Figure 2-1A)
A = Kickback path
B = Kickback reaction zone

THE PUSH (PINCH-KICKBACK) AND PULL REACTIONS(Figure 2· 1 B)
A= Pull
B = Sol!d objects
C = Push

KICKBACK may occur when the NOSE or TIP of the guide bar touches an object, or when wood closes ln and pinches the saw chain in the cut. Tip contact in some cases may cause a lightning-fast reverse reaction, kicking the guide bar up and back toward the operator. PlNCH!NG the saw chain along the BOTTOM of the guide bar may PULL the saw forward, away from !tie operator. PINCHING the saw chain along the TOP of the guide bar may PUSH the guide bar rapidly back toward the operator. Any of these reactions may cause you to lose control of the saw, which could result in serious personal injury.
IMPORTANT SAFETY INSTRUCTIONS
WARNING
When using an electric chain saw, basic safety precautions should always be followed to reduce the risk of fire, electric shock, and injury to persons, including the following:
READ ALL INSTRUCTIONS
- Double insulated -No Serviceable Parts Inside.
- To reduce the risk of electric shock, this equipment has a polarized plug (one blade is wider then the other). This plug we fit in a polarized outlet only one way. If the plug does not fit fully in the outlet, reverse tt1e plug .If it still does not fit, contact a qualified electrician to install the proper outlet Do not change or alter the plug in any way.
- With a basic understandings of kickback, you can reduce or eliminate the element of surprise. Sudden surprise contributes to accidents.
- KEEP THE WORK AREA CLEAN: Cluttered areas invite injuries. Do not start cutting until you have a clear work area, secure footing, and a planned retreat path from the falling tree.
- GUARD AGAINST ELECTRIC SHOCK: Prevent body contact with grounded surfaces (i.e., metal pipes, wire fences).
- CONSIDER THE WORK AREA ENVIRONMENT: Use extreme caution when cutting small sized brush and sapling, as slender material may catch tl1e saw chain and be whipped toward you or pull you off balance. Do not operate a chain saw in a tree unless you are specifically trained to do so. When cutting a limb that is under tension, be alert for spring back so that you will not be struck when the tension in the wood fibers is released. Do not expose the chain saw to rain .Do not use the chain saw in damp or wet
locations.Do not use the chain saw in the presence of flammable liquids or gases. - KEEP CHILDREN AND BYSTANDERS AWAY: Do not let visitors contact the chain saw or extension cord. All visitors should be kept away from the work area.
- STORING YOUR CHAIN SAW: When not in use, chain saws should be stored out of the reach of children, in a dry, high or locked-up place. When storing saw, use a scabbard or carrying case.
- DO NOT FORCE THE CHAIN SAW: The chain saw will do a better and safer job when used at the rate for which ii was intended.
- USE THE RIGHT TOOL: Cut wood only .Do not use the chain saw for purposes for which it was not intended. For example, do not use the chain saw for cutting plastic, masonry, or non-building materials.
- DRESS PROPERLY: Do not wear loose clothing or jewelry, as they can get caught in moving parts .Nonskid footwear is recommended when working outdoors. Wear protective hair covering to contain long hair.
- USE SAFETY GEAR: Use safety glasses, safety footwear, snug fitting clothing safety chaps protective gloves, and hearing protection and head gear.
- STAY ALERT: Watch what you are doing. Use common sense. Do not operate the chain saw when you are tired. Keep all parts of your body
away from the saw chain when the motor is operating. Before you start the saw, make sure the saw chain is not contacting anything. - MAINTAIN YOUR CHAIN SAW: Inspect the chain saw cords periodically and, if damaged, have them repaired by an authorized service facility. Keep the cord clear of the chain and operator at all times. Never carry the saw by the cord or pull it to disconnect from receptacle. Keep the cord from oil and sharp edges. Inspect the extension cords periodically and replace if damaged. Keep tools sharp and clean for better and safer performance. Follow instructions for lubricating and changing accessories. Keep handles dry, clean and free from oil and grease.
- DISCONNECT THE CHAIN SAW: Disconnect the chain saw when not in use, before servicing, and when changing accessories and attachments such as saw chain and guard.
- OUTDOOR EXTENSION CORDS: Use only extension cords that are intended for outdoor use and which are so marked.
- CHECK DAMAGED PARTS: Before further use of the chain saw, a guard or other part that is damaged should be carefully checked to determine that it will operate properly and perform its intended function. Check for alignment of moving parts, binding of moving parts, breakage of parts, mounting, and any other conditions that may affect its operation. A guard or other part that is damaged should be properly repaired or replaced by an authorized service center, unless
otherwise indicated in this instruction manual. - CARRYING THE SAW: Carry the saw by the front handle with the saw stopped. Keep your finger off the switch, and make sure that the guide bar and saw chain are to the rear.
- GUARD AGAINST KICKBACK:
WARNING
Kickback may occur when the nose or tip of the guide bar touches an object, or when the wood closes in and pinches the saw chain in the cut. Tip contact in some cases may cause a lightning-fast reverse action, kicking the guide bar rapidly back towards the operator .Pinching the saw chain along the top of the guide bar may push the guide bar rapidly back towards the operator .Either of these reactions may cause you to !ode control of the saw, which could result in serious injury to the user. The following precautions should be followed to minimize kickback.- GRIP SAW F!RML Y:Hold the chain saw firmly with both hands when the motor is running .Keep a good firm grip on the saw with both hands, the right hand on the rear handle, and the left hand on the front handle.
- Do not over reach.
- Keep proper footing and balance at all times.
- Do not let the nose of the guide bar contact a log, branch, ground or nether obstruction.
- Do not cut above shoulder height.
- Use devices, such as low-kickback chain, guide bar nose guards, chain brakes and special guide bars, which reduce the risks associated with kickback.
- Use only replacement bars and cha- ins specified by the manufacturer or the equivalent.
- There are no other replacement components for achieving kickback protection.
- POWER SUPPLY: Connect the chain saw to correct voltage:be sure that the voltage supplied is the same as that specified on the nameplate of the tool.
- DO NOT operate a chain saw that is damaged, improperly adjusted, or not completely and securely assembled. Be sure that the saw chain stops moving when the trigger is released.
- DO NOT attempt operations beyond your capacity or experience.
- DO NOT operate a chain saw with one hand! Serious injury to the operator, helpers, or bystanders may result from one-handed operation. A chain saw is intended for two-handed use.
- TO REDUCE potential for electric
shock, do not operate the saw on wet or slippery surfaces, or during snow storms, rain storms, and other adverse weather conditions. - DO NOT allow dirt, debris or sawdust to build up on the motor or outside air vents.
- Follow the manufacturer’s sharpening and maintenance instructions for the saw chain.
- Cut at high motor speeds.
- Operation of a chain saw sl10uld be restricted to mature, properly instructed individuals.
- Your chain saw is intended for occasional homeowner use, !I is not made for heavy continuous use.
- DO NOT FORCE a small saw to do a job requiring a heavier duty unit.
- EXAMINE THE ELECTRICAL SWITCHES .Do not use the chain saw if the switches do not properly turn on and off. Do not attempt tmake any repairs to the electric switches. Take your saw to a Poulan Authorized Service Center.
- MAINTAIN EXTENSION CORDS. Inspect the extension cords periodically and replace if damaged. Only use power cords t11at are suitably marked for outdoor use.
- DO NOT OPERATE YOUR CHAIN SAW near or around flammable liquids or gases, whether in or out doors. An explosion and/or fire may result.
- This electric powered saw is intended for infrequent use by homeowner’s, cottagers and campers, and for such general applications such as clearing, pruning, cutting firewood, etc. lit is not intended for prolonged use .lf the intended use involves prolonged periods of operation, this may cause circulatory problems in the user’s hands due to vibration. It may be appropriate to use a saw having an anti-vibration feature.
- NEVER REMOVE, modify or make inoperative any safety device furnished with your unit.
- Safety clothing required by your safety organizations, government regulations, or your employer should beused; otherwise, snug fitting clothing, safety footwear, and hand and ear protection should be worn.
- When felling, keep at least two(2) tree lengths between yourself and your fellow workers.
- All chain saw service, other than the items listed in the user manual safety and maintenance instructions, should be performed by competent chain saw personnel. Do not attempt to repair it yourself; there are no user serviceable parts inside,
NOTE: Low-kickback saw chain is chain that has met the kickback performance requirements of ANSI 8175.1-1991 and is in accordance with CSA 262.3.Do not use other replacement claim unless it has met these requirements for your specific model. - DO NOT USE ANY OTHER CUTTING ATTACHMENT OR ACCESSORIES. Use only Poulan replacement parts and accessories, which are designed specifically to enhance the performance and maximize the safe operation of your cha- in saw. Failure to do so may cause poor performance and possible injury. Use only the chain and bar supplied with tl1isproduct.Do not use any other cutting attachment. Use of such attachments will void your factory warranty and could result in serious bodily injury.
WARNING! This chain saw ?an improper be use dangerous, can cause careless or serious or even fatal injury,
Read and understand the instruction manual before using the chain saw.
Double insulated -When servicing use only identical replacement parts. Replace damaged cord immediately.![]()
To reduce shock hazard, do not expose unit to water or operate on wet ground.
Contact of the guide bar tip with any object st1ould be avoided. Tip contact may cause the guide bar to move suddenly upward and backward, which may cause serious injury.
Always use both hands when operating the chain saw.
There may be other replacement components for achieving Kickback protection.
Hearing protection should be worn.
ASSEMBLY INSTRUCTIONS
INTRODUCTION
Thls unit is designed for occasional use by the homeowner and should not be used for commercial purposes nor
should the saw be subjected to heavy continuous use.
Your new chain saw can be used for a variety of projects such as cutting
firewood, making fence posts, felling small trees, limbing, pruning at ground level, and !ight carpentry. Cut only wood or wood products with your saw.
UNPACKING
- Remove all items from carton.
- Check all items for any shipping damage. If you find any damage or if any parts are missing, promptly inform dealer where you bought the pole saw.
ASSEMBL Y REQUIREMENTS
Your new chain saw will require adjustment of the chain and filling the oil tank with lubricating oil before the unit is ready for operation. Do not start the saw motor until the unit is properly prepared. Read all instructions carefully. Do not install any other size bar and chain than what is recommended by the manufacturer for your model PLN1514.
GUIDE BAR I SAW CHAIN
REPLACEMENT INSTALLATION
WARNING
Whenever handling the saw chain, wear work gloves for protection against sharp cutting edges.
- slide Remove sprocket bar nuts, support push bar down. bolts (See in and Flg.3-4A)
- Remove old guide bar and chain.
- Using a straight screwdriver, turn the chain adjustment sc1·ew counterclockwise as far as it will go, or until tang is to the end of its travel.
- Loop saw chain over drive sprocket with the cutting edges of the chain pointing in the direction of rotation.
- Place the slotted end of guide bar over the bar bolt so the tang list into the lower hole in the guide guide bar.
- Make sure t!1e cl1ain follows the slot in the guide bar, Slide the sprocket support up and push the bar bolts 1hrough the sprocket support.
- Install the bar retaining nuts hand tight, (Proceed to saw chain tension Adjustment).

SAW CHAIN TENSION
ADJUSTMENT
Proper tension of the saw chain is extremely important and must be checked before starting, as well as
during, any cutting operation .Taking the time to make needed adjustments to the saw chain will result in improved
cutting performance and prolonged chain life.
NOTE: A new chain and bar will need readjustment after as few as 5 cuts. This is normal during the break-in period, and the interval between future
adjustments will lengthen quickly (Figure 3-SA).
CAUTION
If a chain is TOO LOOSE or TOO TIGHT, the bar chain and saw bearings will wear more rapidly. Study Figure 3-5A for information concerning correct cold tension (A), correct warm tension (B), and as a guide for when saw chain needs adjustment (C).
TO ADJUST SAW CHAIN TENSION:
- loosen the bar retaining nuts (D) so they are hand tights.(See Fig.3-58)
- Holding the nose of the bar up, use the screwdriver or scrunch if provided in your User’s Kit to turn the guide bar adjustment screw (E) (Fig.3•5C) clockwise to lighten the chain Turning the screw COUNTER-CLOCKWISE
LOOSENS THE CHAIN on the guide bar. - After adjustment and while wearing heavy duty work gloves, move the saw chain back and forth on the
guide bar to be sure the chain
moves freely and is in proper mesh with sprocke LDo not move chain
with bare hands.
NOTE: lf the chain is difficult to rotate or if it binds on the guide bar, too muct1 tension has been applied and must be adjusted. To decrease tension, turn the adjustment screw counterclockwise slowly. While moving the chain back and forth until it moves freely. - Holding the nose in upper position, securely tighten the bar retaining nuts (70 inch lbs.)


OIL/NG CHAIN
To oil chain, press oil cap .Oil with feed onto guide bar and chain. Press oil cap at !east once before each cut .Always check oil Level before using pole
saw. Do not attempt to operate the oiler while cutting with the pole saw.
FILL/NG OIL TANK
Using a funnel, fill oil tank with Poulan Chain, Bar and Sprocket oil. Wipe up any spills. Make sure no dirt gets into the olla tank.
SELECTING THE PROPER
EXTENSIONCORD FOR YOUR SAW MODEL
Minimum Gauge Wire

- When using the chain saw, an extension cord of adequate size must be used for safety and to prevent loss of power and overheating
- The extension cord must be specifically intended for outdoor use and marked SW-A, SOW-A,
OPERATING INSTRUCTIONS
TO START SAW
- PLEASE READ ALL WARNINGS.
- Make sure oll reservoir is full.
WARNING
Ensure the extension cord is of the proper size and type for your saw. - Plug the cord (A) into the appropriate size extension cord (B).Plug the extension cord into a 110/120 volt AC, 15 AMP receptacle (Figure 4-1A).
WARNING
Make sure the extension cord does not come in contact with the guide bar and saw chain. - Grip the saw with both hands, left hand holding the front handle and the right hand holding the rear handle. Thumbs and fingers should encircle both handles (Figure 4-1 B).
- With your RIGHT THUMB, depress the LOCK/OFF button (C) on the side of the rear handle, and at the same time squeeze the trigger. To stop the saw, release the trigger
NOTE: lt is not necessary to maintain pressure on the LOCK/OFF button one the trigger is squeezed and the motor is running. The LOCK/OFF button Is a safety device to avoid accidental starting.

TO STOP MOTOR
The saw motor will automatically stop when the trigger is released. The LOCK/OFF button will have to be depressed and the trigger squeezed to restart the motor.
CHAIN AND BAR LUBRICATION
Always check oil level before using saw. To oil chain, press oil cap.Do not attempt to operate the oiler while cutting with the saw. Oil will feed onto guide bar and chain. Press oil cap at least once before each cut. Check oil level often.
CAUTION
Never starve the bar and chain of lubrication oil. Running the saw DRY or with TOO LITTLE OIL will decrease cutting efficiency, shorten chain saw life, and cause rapid dulling of the chain and excessive wear of the bar from overheating. Too little oil is evidenced by smoke or bar discoloration.
NOTE: The saw chain stretches during use, particularly when it is new, and occasional adjustment will be required. A new chain requires more frequent adjustment during the break-in period. This is normal. See Section 3-5 for Saw Chain Tension Adjustment instructions.
WARNING/ CAUTION
A loose chain can jump off the bar while you are cutting, as well as wer the bar and chain. A chain that is too tight can damage the saw.Either situation, chain too loose or too tight, could cause serious persona! injury.
EXTENSION CORDS
When using an electric chain saw, plug it into the extension cord only when you are ready to cut wood. Connect the extension cord to a 11 0/120 voltage outlet.
NOTE: To prevent disconnection of the extension cord, tie a loose knot before connecting the ends together (Figure 4·4A).
CAUTION
A cord that is hot to the touch is overloaded.
- When using the chain saw, an extension cord of adequate size must be used for safety and to prevent loss of power and overheating.
- The extension cord must be specifically intended for outdoor use and marked SW-A, SOW-A, STW-A, STOW-A, SJW-A, SJOW-A, SJTOW-A, STJW, or SJTW.
- Inspect the extension power cord for loose or exposed wires an damaged insulation. If damaged, replace before using the appliance.
WARNING
Do not operate your chain saw in a wet or damp environment. Do not expose the saw to rain, snow or sleet. Moisture will cause short
circuits. Replace or repair any damaged or frayed extension cords before using your saw. Keep the cord away from the cutting area and position the cord so that it will not be caught on branches or other objects during cutting.
SAVE THESE
INSTRUCTIONS
DOUBLE INSULATION [g] NO
SERVICEABLE PARTSINSIDE
Do not use if the cord or plug is damaged. Your appliance is double
insulated to help protect against electric shock. Double insulation construction consists of two(2) separate “layers”of electrical insulation. Appliances built a double this insulation system are not intended to be grounded .As a result, the extension cord used with your appliance can be plugged into any conventional 120 volt electrical outlet. Normal safety precautions must be observed when operating an electrical appliance The double insulation system is only for added protection against injury resulting from a possible internal electrical insulation failure.
WARNING
Your double insulated appliance has no serviceable parts inside. Do not attempt to repair it yourself. For service information, contact the Poulan Product Service Department toll-free number listed on the back cover of this manual.
GENERAL CUTTING INSTRUCTIONS
FELLING
Felling is the term for cutting down a
tree. Sma!! trees up to 6-7″(15-18cm) in diameter are usually cut in a single cut. Larger trees require notch cuts.Notch cuts determine the direction the tree will fall.
FELLING A TREE:
WARNING
A retreat path {A) should be planned and cleared as necessary before cuts are started. The retreat path should extend back and diagonally to the rear of the expected line of fall, as illustrated in Figure 5-1A.
CAUTION
If felling a tree on sloping ground, the chain saw operator should keep on the up side of the terrain, as the tree ls likely to roll or slide downhill after it is felled.
NOTE: Direction of fall (B) is controlled by the notching cut. Before any cuts are made, consider the location of larger branches and natural lean of the tree to determine the way the tree will fall.

WARNING
Do not cut down a tree dL1ring high or ct1anging winds or if there is a danger to property. Consult a tree professional. Do not cut down a tree if there is danger of striking utility wires; no Ufy the utility company before making any cuts.
GENERAL GUIDELINES FOR FELLING TREES:
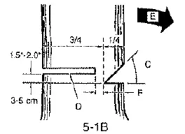
Normally feeling consists of 2 main cutting operations, notching (C) and making the felling cut (0). Start making the upper notch cut (C) on the side of the tree facing the felling direction (E).Be sure you don’t make the lower cut too deep into the trunk. The notch {C) should be deep enough to create a hinge (F) of sufficient widtt1 and strength .The notch should be wide enough to direct the fall of the tree for as long as possible.
WARNING
Never walk in front of a tree that has been notched. Make the felling cut (D) from the other side of the tree and 1.5″-2.0″(3-5crn) above the edge of the notct1 (C) (Figure5• 1B).

Never saw completely through the trunk. Always leave a t1inge.The hinge guides the tree. If the trunk is completely cut through, control over the felling direction is lost. Insert a wedge or felling lever in the cut well before the tree becomes unstable and starts to move. This will prevent the guide bar from binding in the telling cut if you have misjudged the falling direction. Make sure no bystanders have entered the range of the falling tree before you push it over.
WARNING
Before making the final cut, always recheck the area for bystanders, animals or obstacles.
FELLING CUT:
- Use wooden or plastic wedges (G) to prevent binding the bar or chain (H) in the cut .Wedges also control felling (Figure 5-1 C).
- When diameter of wood being cut is greater than the bar length, make 2 cuts as shown (Figure 5-1D).
WARNING
As the felling cut gets close to the hinge, the tree should begin to fall. When tree begins to fall, remove saw from cut, stop engine, put chain saw down, and leave area along retreat path (Figure 5·1A).


LIMBING
Limbing a tree is the process of removing !tie branches from a fallen tree.Do not remove supporting limbs (A) until after the log is bucked (cut) into lengths {Figure 5-2A). Branches under tension should be cut from the bottom up to avoid binding the chain saw.
WARNING
Never cut tree limbs while standing on tree trunk.

BUCKING
Bucking is cutting a fallen log into lengths. To make sure the performance, the diameter of wood would be recommended to be the limit of max. 15cm or 6″. Make sure you have a good filing and stand upt1ill of the log when cutting on sloping ground. It possible, the log should be supported so that the end to be cut off is not resting on the ground. !t the log is supported at both ends and you must cut in the middle, make the undercut. This will prevent the log from pinching the bar and chain. Be careful that the chain dies not cut into the ground when bucking as this causes rapid dulling of the chain. When bucking on a slope, always stand on the uphill side.
- Log supported along entire length:Cut from top (overbuck), being careful to avoid cutting into the ground (Figure 5-3A).
- Log supported on one(1) end: First, cut from bottom (underback) 1/3 diameter of log to avoid splintering. Second, cut from above {overbulk) to meet first cut and avoid pinching (Figure 5-3B).
- .Log supported on both ends: First, overbuck 1/3 diameter of log to avoid splintering. Second, underbuck to meet first cut and avoid pinching (Figure 5-3C).
NOTE: The best way to hold a log while bucking is to use a sawhorse. When this is not possible, the log should be raised and supported by the limb stumps or by using supporting logs. Be sure the log being cut Is securely supported.

BUCKING USING A
SAWHORSE
For persona! safety and ease of cutting, the correct position for vertical bucking is essential (Figure 5·4A).
VERTICAL CUTTING:
- Hold the saw firmly with both hands and keep the saw to the right of your body while cutting.
- Keep the left arm as straight as possible.
- Keep weight on both feet
CAUTION
While the saw is cutting, be sure the chain and bar are being properly lubricated.

BAR/CHAIN MAINTENANCE
GUIDE BAR MAINTENANCE
WARNING
Ensure that the power cord is disconnected before pe1iorming any maintenance on your saw, Proper maintenance of the guide bar,as explained In this sectlon ls essential to keep your saw in good working order.
GUIDE BAR MAINTENANCE :
Most guide bar problems can be prevented merely by keeping the chain saw well maintained. Incorrect filing and non-uniform cutter and depth gauge settings cause most guide bar problems, primarily resulting in uneven bar wear. As the bar wears unevenly, the rails widen, which may cause chain clatter and difficulty in making straight cuts,
Insufficient guide bar lubrication and operating the saw witt1 a chain that is TOO TIGHT will contribute to rapid bar wear (see Section 6-2). To help minimize bar wear, the following guide bar maintenance is recommended.
BAR WEAR· Turn guide bar frequently at regular intervals (for example, after 5 hours of use), to ensure even wear on top and bottom of bar.
BAR GROOVES Bar grooves (or rails which support and carry the chain) should be cleaned if the saw has been heavily used or if tile saw chain appears dirty .Rails sl1ould always be cleaned every time the saw chain is removed.
OIL PASSAGES-OH passages at bar pad should be cleaned to ensure proper lubrication of the bar and chain during operation, This can be done using a soft wire small enougl1 to insert into the oil discharge hole.
TO CLEAN GUIDE BAR RAILS
- Remove sprocket cover, bar and chain (see Section 3-4).
- Using a screwdriver, putty knife, wire brush or other similar instrument, clear residue from tile rails on the guide bar. This will keep the oil passages open to provide proper lubrication to the bar and chain (Figure 6-1A).
- Reinstall the bar, chain and bar bolt retaining nuts. (See Section 3·4).

CHAIN MAINTENANCE
INSTRUCTIONS
WARNING
Unless you have experience and specialized training for dealing with kickback (see Safety Precautions), always use a low-kickback saw chain, which significantly reduces the danger of kickback. Low-kickback saw chain does not completely eliminate kickback .A low-kickback or “safety chain”, should never be regarded as total protection against injury.
A low kick saw chain should always be used in combination with other kickback protection devices such as a hand guard and reduced kickback guide bar supplied with the your unit.
Always use a replacement saw chain designed as “low-kickback”or a saw chain which meets the low-kickback performance.
A standard saw chain (a chain which does not have the kickback reducing guard links) should only be used by an experienced professional chain saw operator.
WHAT IS A LOW-KICKBACK SAW CHAIN?
A low-kickback saw chain is a chain which has met the kick-back performance requirements of ANS! B175.1.Do not use other replacement chain unless it has met these requirements for your specific model. By keeping the saw chain in good working condition and correctly serviced as recommended, you will be able to maintain the safety system of your chain saw.
WARNING
Never remove, modify or make inoperative any safety device furnished with your unit.The hand guard, reduced kickback guide bar and !ow kick back saw chain are major safety features provided for your protection.
WARNING
Always wear heavy duty protection work gloves and disconnect the extension cord when working on the saw chain. CHAIN TENSION: Check the chain tension frequently and adjust as often as necessary to keep the chain snug on the bar, but loose enough to be pulled around by hand.(See Section 3-5, Saw Chain Tension Adjustment).
BREAKING IN A NEW SAW
CHAIN
A new chain and bar will need readjustment after as few as five {5) cuts. This is normal during the break-in period, and the interval between future adjustments will begin to lengthen quickly. Over a period of time, however, the moving parts of the saw chain will become worn, resulting in what is called CHAIN STRETCH. This is normal. When it is no longer possible to obtain correct chain tension adjustment, a link will have to be removed to shorten the chain. See your Poulan Authorized Service Center to have this repair performed.
WARNING / CAUTION
Never have more than 3 finks removed from a loop of chain this could cause damage to the sprocket.
PREVENTIVE MAINTENANCE
WARNING
SERVICING A DOUBLE INSULATED CHAIN SAW !n this double insulated chain saw, two {2) systems of insulation, instead of grounding, are provided. No grounding means is provided on a double insulated chain saw, nor should a means for grounding be added to the chain saw .No serviceable parts are inside. A double insulated chain saw is marked with the words, “DOUBLE INSULATION” or “DOUBLE INSULATED”. The symbol [g] (square within a square) may also be marked on the chain saw.
- Place switch in OFF position and unplug the power supply before the chain sawis serviced, cleaned, or maintenance is performed.
- Keep the air intake clean and air vents free of debris to avoid overheating the motor.
- Clean with a damp sponge and mild soap. Do not squirt with a water hose or douse with water or other liquids.
- Inspect the saw ct1ain for proper tension before each use and frequently during cutting,Stiarpen as required.
- Clean the guide bar and bar pad to ensure free path for oil.
- Turn the bar over after each use to achieve even wear.
- No motor ubication is necessary. The motor is equipped witt1 lifetime lubricated bearings.
- If the saw does not operate, turn switch to OFF position and disconnect the extension cord, first from the power supply, then from the saw. Check the power supply for blown fuses or tripped circuit breakers. If it still does not operate, contact tt1e Poulan Product Service Department, through the toll-free number listed on the back cover of this manual, for service information. Do not attempt to repair it yourself. No serviceable
parts are inside.
CHAIN REPLACEMENT INFORMATION
| Drive Links | Bar | Chain | ||||||
| PIN | I | Lenqth | PIN I | Length | I Gauoe | I | Pitch | |
| 49 DL | 966-051201 | I | 14″ | 966-051501 I | 14 | I o.o5″ | 318″ | |
There may be other quality equivalent replacement components for achieving kickback protection.
LIMITED WARRANTY
Poulan, a division of Husqvarna Consumer Outdoor Products N.A., Inc., warrants to the original consumer purchaser that each new Poulan brand electric or cordless product is free from defects in material and workmanship and agrees to repair or replace under this warranty any defective Poulan brand electric product within one {1) year from the original date of purchase. If your Poulan brand electric or cordless product should fail within the limited warranty period, you may return it in complete condition, prepaid, with proof of purchase to the dealer from whom it was purchased for repair or replacement at the option of Poulan This warranty is not transferable and does not cover damage or liability caused by improper handling, improper maintenance or alteration, or the use of accessories and/or attachments not specifically recommended by Poulan for this product. This warranty does not cover parts that will wear and require replacement with reasonable use during the warranty period. This warranty does not cover pre-delivery setup or normal adjustments explained in the instruction manual. Should you have any unanswered questions regarding this warranty,
please contact:
Poulan , a division of Husqvarna Consumer Outdoor Products N.A., lnc. 1030 Stevens Creek Road Augusta, GA 3090 1-800-554-6723 In Canada, contact Poulan 850 Matheson Blvd. West Mississauga, Ontario L5V 0B4 Giving the model number, serial number and date of purchase of your product and the name and address of the authorized dealer from whom it was purchased. THIS WARRANTY GIVES YOU SPECIFIC LEGAL RIGHTS, AND YOU MAY HAVE OTHER RIGHTS WHICH VARY FROM STATE TO STATE. NO CLAIMS FOR CONSEQUENTIAL OR OTHER DAMAGES WILL BE ALLOWED, AND THERE ARE NO OTHER EXPRESS WARRANTIES EXCEPT THOSE EXPRESSLY STIPULATED HEREIN. SOME STATES DO NOT ALLOW LIMITATIONS ON HOW LONG AN IMPLIED
WARRANTY LASTS OR THE EXCLUSION OR LIMITATIONS OF INCIDENTAL OR CONSEQUENTIAL DAMAGES, SO THE ABOVE LIMITATIONS OR EXCLUSION MAY NOT APPLY TO YOU.
Tt1is is a limited warranty within the meaning of that term as defined in the Magnuson-Moss Act of 1975. The policy of Poulan is to continuously improve its products. Therefore, Poulan reserves the rigl1t to change, modify, or discontinue models, designs, specifications, and accessories of all products at any time without notice or obligation to any purchaser.




















