WATTS LF25AUB-Z3 Water Pressure Reducing Valves

Engineering Specification
Job Name
Contractor
Job Location
Approval
Engineer
Contractor’s P.O. No.
Approval
Representative
Water Pressure Reducing Valves**
Sizes: 1⁄2″ – 2″
Series LF25AUB-Z3 Water Pressure Reducing Valves are designed to reduce incoming water pressure to a sensible level to protect plumbing system components and reduce water consumption. This series is suitable for water supply pressures up to 300psi (20.7 bar) and may be adjusted from 25 – 75psi (172 – 517 kPa). The LF25AUB-Z3 features Lead Free* construction to comply with Lead Free* installation requirements. The standard setting is 50psi (345 kPa). All parts are quickly and easily serviceable without removing the valve from the line. The standard bypass feature permits the flow of water back through the valve into the main when pressures, due to thermal expansion on the outlet side of the valve, exceed the pressure in the main supply.
Features
Standard construction includes Z3 sealed spring cage and stainless steel corrosion resistant adjusting & cage screws

- Union inlet connection
- Integral stainless steel strainer
- Replaceable seat module
- Lead Free* cast copper silicon alloy construction
- Serviceable in line
- Bypass feature controls thermal expansion pressure***
- High temperature resistant reinforced diaphragm for hot water
Specifications
A Water Pressure Reducing Valve with integral strainer shall be installed in the water service pipe near its entrance to the building where supply main pressure exceeds 60psi (413 kPa) to reduce it to 50psi (345 kPa) or lower. The water pressure reducing valve shall be constructed using Lead Free* materials. Lead
Free* regulators shall comply with state codes and standards, where applicable,requiring reduced lead content. The valve shall feature a Lead Free* cast copper silicon alloy suitable for water supply pressures up to 300psi (20.7 bar). Provision shall be made to permit the bypass flow of water back through the valve into the main when pressures, due to thermal expansion on the outlet side of the valve,exceed the pressure in the main supply. Water Pressure Reducing Valve with built-in bypass check valves will be acceptable. Approved valve shall be listed to ASSE 1003 and IAPMO and certified to CSA B356. Valve shall be a Watts Series
LF25AUB-Z3.
NOTICE
Product is for interior or exterior applications. Product should not be buried directly in the ground. For exterior applications where the valve will be situated in a vault or pit or be in contact with the ground, the valve should be installed in a meter box/vault, accessible for repair and adjustment, per local code.
The information contained herein is not intended to replace the full product installation and safety information available or the experience of a trained product installer. You are required to thoroughly read all installation instructions and product safety information before beginning the installation of this product.
The wetted surface of this product contacted by consumable water contains less than 0.25% of lead by weight.
A water saving test program concluded that reducing the supply pressure from 80-50psi (551-345 kPa) resulted in a water savings of 30%.
The bypass feature will not prevent the pressure relief valve from opening on the hot water supply system with pressure above 150psi (10.3 bar).
Watts product specifications in U.S. customary units and metric are approximate and are provided for reference only. For precise measurements,please contact Watts Technical Service. Watts reserves the right to change or modify product design, construction, specifications, or materials without prior notice and without incurring any obligation to make such changes and modifications on Watts products previously or subsequently sold.
Pressure – Temperature
- Temperature Range: 33°F – 180°F (0.5°C – 82°C)
- Maximum Working Pressure: 300psi (20.7 bar)
- Adjustable Reduced Pressure Range: 25–75psi (172 – 517 kPa)
- Standard Reduced Pressure Setting: 50psi (345 kPa)
Options
Add Suffix
- “ ” Threaded female union inlet x NPT female outlet
- S Solder union inlet x NPT female outlet
- QC Quick-Connect union inlet (1⁄2″, 3⁄4″, 1″)
- LF Double union body less fittings (3⁄4″, 1″, 11⁄4″)
- DU Double Union – NPT threaded union female inlet and outlet
- S-DU Double Union –Solder union inlet and outlet
- DU-PEX Double Union –PEX union inlet and outlet
- DU-QC Double Union – Quick-Connect inlet and outlet (1⁄2″, 3⁄4″, 1″)
- DU-PR Double Union – Press union inlet and outlet
- DU-CEF Double Union – PEX CEF (F1960) union inlet and outlet
- G Gauge tapping, 1⁄4″ (1⁄2″, 3⁄4″), 1⁄8″(11⁄4″-2″)
- GG Gauge tapping and 160psi (11 bar) gauge
- HP High pressure range 75–125psi (5.2 – 8.6 bar) †
- LP Low pressure range 10–35psi (69 – 241 kPa) †
- Z6 Water meter threaded connections and 71⁄2″ (190mm) lay length for new or existing meter box installations, For 5⁄8″, 5⁄8″
x 3⁄4″ or 3⁄4″ meter setters or resetters
† Not available on G or GG models
Noryl® is a registered trademark of SABIC Innovative Plastics™
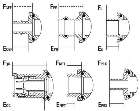
Dimensions — Weights

A1 – SINGLE UNION LF25AUB LESS FITTING
A2 – DOUBLE UNION LF25AUB LESS FITTINGS VALVES MAY BE ORDERED WITH 0,1,OR 2 UNION CONNECTIONS USING ANY COMBINATION OF NPT, SOLDER, PEX,QUICK CONNECT, CEF (F1960), OR PRESS
CONNECTIONS REQUIRED
“E” DIMENSIONS ARE APPROXIMATE
ENGAGEMENT LENGTHS
Standards
Meets requirements of ASSE Standard 1003: ANSI A112.26.2: CSA Standard B356; Southern Standard Plumbing Code and listed by IAPMO. Military Standard MIL-V-18146B Type I.
Capacity


| SIZE | ||||||||||||||||||
| in | in. | A1 | mm | in. | A2 | mm | in. | C | mm | in. | D | mm | in. | FΔ | mm | in. | G | mm |
| 1⁄2 | 55⁄16 | 135 | 51⁄16 | 129 | 7 | 178 | 11⁄2 | 38 | 97⁄16 | 240 | 31⁄8 | 79 | ||||||
| 3⁄4 | 55⁄16 | 135 | 53⁄16 | 132 | 7 | 178 | 11⁄2 | 38 | 97⁄16 | 240 | 31⁄8 | 79 | ||||||
| 1 | 6 | 152 | 53⁄4 | 146 | 8 | 203 | 13⁄4 | 44 | 107⁄16 | 265 | 35⁄8 | 92 | ||||||
| 11⁄4 | 81⁄4 | 210 | 715⁄16 | 202 | 9 | 229 | 21⁄8 | 54 | 117⁄16 | 291 | 35⁄8 | 92 | ||||||
| 11⁄2 | 81⁄4 | 210 | 81⁄16 | 205 | 91⁄2 | 241 | 23⁄8 | 60 | 1115⁄16 | 303 | 41⁄16 | 103 | ||||||
| 2 | 87⁄8 | 225 | 811⁄16 | 221 | 111⁄4 | 286 | 31⁄4 | 83 | 13 11⁄16 | 348 | 43⁄4 | 121 | ||||||
| SIZE DIMENSIONS WEIGHT | |||||||||||||
| in | FNPT in. mm | FS in. mm | FPEX in. mm | FQC in. mm | FPR in. mm | FCEF in. mm | ENPT in. mm | ES in. mm | EPEX in. mm | EQC in. mm | EPR in. mm | ECEF in. mm | lbs. kgs. |
| 1⁄2 | 5⁄8 16 | 1⁄2 13 | 5⁄8 16 | 11⁄2 38 | 11⁄4 32 | 7⁄8 22 | 1⁄2 13 | 1⁄2 13 | – – | 13⁄8 35 | 11⁄8 29 | 3⁄4 19 | 3.5 1.6 |
| 3⁄4 | 5⁄8 16 | 3⁄4 19 | 5⁄8 16 | 111⁄16 43 | 17⁄16 37 | 11⁄8 29 | 9⁄16 14 | 3⁄4 19 | 5⁄8 16 | 19⁄16 40 | 13⁄16 30 | 15⁄16 24 | 3.5 1.6 |
| 1 | 3⁄4 19 | 15⁄16 24 | 13⁄16 21 | 13⁄4 44 | 11⁄2 38 | 17⁄16 37 | 11⁄16 17 | 15⁄16 24 | 13⁄16 21 | 15⁄8 41 | 13⁄16 30 | 13⁄16 30 | 6.5 3.0 |
| 11⁄4 | 3⁄4 19 | 1 25 | – – | – – | 11⁄2 38 | 13⁄4 44 | 11⁄16 17 | 1 25 | – – | – – | 13⁄16 30 | 11⁄2 38 | 10 4.5 |
| 11⁄2 | 7⁄8 22 | 11⁄16 27 | – – | – – | 13⁄4 44 | 115⁄16 49 | 11⁄16 17 | 11⁄16 27 | – – | – – | 13⁄8 35 | 13⁄4 44 | 10 4.5 |
| 2 | 15⁄16 24 | 15⁄16 33 | – – | – – | 2 51 | – – | 3⁄4 19 | 15⁄16 33 | – – | – – | 19⁄16 40 | – – | 15 6.8 |
Dimension includes optional gauge
Nominal dimensions are shown. Allowances must be made for manufacturing tolerances.
USA: T: (978) 689-6066 • F: (978) 975-8350 • Watts.com
Canada: T: (888) 208-8927 • F: (905) 481-2316 • Watts.ca
Latin America: T: (52) 55-4122-0138 • Watts.com

















