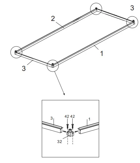
502344375 Wall Greenhouse Goodiy
OVERVIEW












Note
- Read instructions carefully before assembling.
- The greenhouse must be positioned and fixed on a flat level surface. Use the product against the wall after installation (no panel on the back wall).
- Ensure that the product is properly anchored to the ground if a windy place.
- Shelves not included.
- UV-unprotected side with white film, pls tear-off the white film before assembling.UV-protected side with transparent film, this side of panel must place towards the sun. Pls do not tear-off the transparent film.
- Sharp edges and corners can cause injury. It is recommended to wear protective glasses and gloves.
- It is suggested that two people assemble the product together.
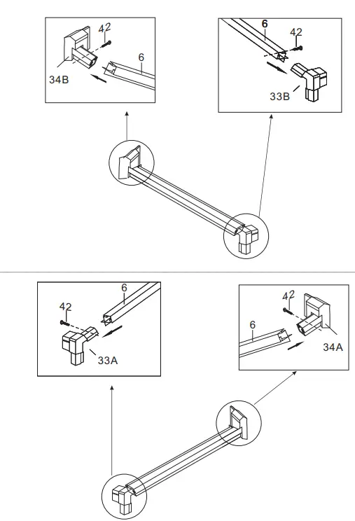
Plastic Parts
Hardware


































