OUTSUNNY 845-329 Aluminum Sliver 3 Tier Greenhouse

IMPORTANT
You must read these instructions carefully before you start to assemble this greenhouse. Please ensure that you find all parts in the carton box in the correct type and quantity as mentioned in the list illustrated in every page accordingly.
Please carry out the steps in the order set out in these instructions.
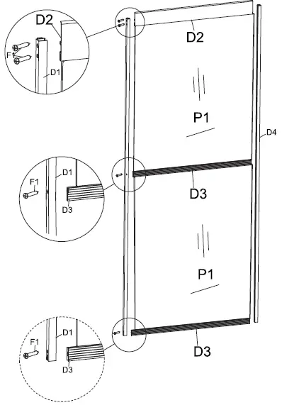
Do not tighten the steps in the greenhouse until completing on the assembly of the polycarbonate panels.
Keep these instructions in a safe place for future reference.
IMPORTANT, RETAIN FOR FUTURE REFERENCE: READ CAREFULLY
ASSEMBLY & INSTRUCTION MANUAL
SAFETY ADVICE
- We strongly recommend the use of work gloves during assembly.
- Do not attempt to assemble the greenhouse in windy or wet conditions,
- Do not touch overhead power cables with the aluminum profiles.
- Always wear shoes and safety goggles when working with extruded aluminum. Dispose of all plastic bags safety-keep them out of reach of small children.
- The greenhouse must be positioned and fixed on a flat level surface.
- Do not lean against or push the greenhouse during construction.
- Keep children away from the assemble area.
- Do not position your greenhouse in an area exposed to excessive wind.
- Do not attempt to assemble this greenhouse if you are tired ,have taken drugs or alcohol or if you are prone to dizzy spells.
- If using a step ladder or power tools ensure that you follow the manufactures safety advice.
- Hot items such as recently used grills, blowtorches etc. must not be stores in the greenhouse.
- Ensure there are no hidden pipes or cables in the ground before inserting the pegs.
GENERAL ADVICE
This is a multi-part assembly, Allow at least 30 minutes for assembly.
Selecting a site-choose a sunny level position away from overhanging trees.
If you are fixing your greenhouse directly to a solid concrete foundation use the pre drilled holes in the metal base supplied.
The component parts should be checked and laid out close at hand.
Keep all small parts(screws etc.)in a bowl so they do not get lost.
Note that the door is hinged on the right hand side and therefore opens to the right. Keep roof clear of snow and leaves.
CARE & MAINTENANCE
When your greenhouse needs a clean, use a mild detergent solution and risen with cols clean water.
Do NOT use acetone, abrasive cleaners or other special detergents to clean the clear panels.
TOOLS & EQUIPMENT REQUIRED
Silicone sealant & applicator bradawl crosshead screwdriver step ladder.
Tape measure large hammer scissors Work gloves Drill spirit level Lubricant see over for contents plastic or rubber mallet 0.08″ metal drill bit If help is required seek professional advise within store.
PART LIST


DOOR



WINDOW

“hexagonal screw” installation
Place the “hexagonal screw” into the groove, turn clock wise until its top spurning.
Adjust the “hexagonal screw” by hand and twist so threads fixit in place.
Place other parts on “hexagonal screw” and assemble nut.

































