
Series LFM115 Pressure Reducing Control Valve
User Manual
Submittal Package
ES-ACV-LFM115
Engineering Specification, Installation, Operation and Maintenance
Series LFM115 / LFM6115
Pressure Reducing Control Valve
Sizes: 1¼” to 24″
WARNING
Read this Manual BEFORE using this equipment. Failure to read and follow all safety and use information can result in death, serious personal injury, property damage, or damage to the equipment. Keep this Manual for future reference.
WARNING
The local building or plumbing codes may require modifications to the information provided. You are required to consult the local building and plumbing codes prior to installation. If the information provided here is not consistent with local building or plumbing codes, the local codes should be followed. This product must be installed by a licensed contractor in accordance with local codes and ordinances.
WARNING
Need for Periodic Inspection/Maintenance: This product must be tested periodically in compliance with local codes, but at least once per year or more as service conditions warrant. All products must be retested once maintenance has been performed. Corrosive water conditions and/or unauthorized adjustments or repair could render the product ineffective for the service intended. Regular checking and cleaning of the product’s internal and external components helps assure maximum life and proper product function.
NOTICE
For Australia and New Zealand: Pipeline strainers should be installed between the upstream shutoff valve and the inlet of the backflow preventer.
It’s important that this device be tested periodically in compliance with local codes, but at least once per year or more as service conditions warrant. If installed on a fire sprinkler system, all mechanical checks, such as alarm checks and backflow preventers, should be flow tested and inspected internally in accordance with NFPA 13 and NFPA 25.
Watts product specifications in U.S. customary units and metrics are approximate and are provided for reference only. For precise measurements, please contact Watts Technical Service. Watts reserves the right to change or modify product design, construction, specifications, or materials without prior notice and without incurring any obligation to make such changes and modifications on Watts products previously or subsequently sold.
Engineering Specification
LEAD-FREE*
Series LFM115
Pressure Reducing Control Valve
Full Port Ductile Iron Single Chamber Valve
Features
- Throttles to reduce high upstream pressure to constant lower downstream pressure
- Reducing setpoint is adjustable
Standard Components
1–Main Valve (M100 – Single Chamber)
2–Pressure Reducing Control
3–Fixed Orifice
X–Isolation Cocks
Options and Accessories
FC Flo-Clean Strainer (Standard 1¼” 4″)
Y Y-Strainer (Replaces Flo-Clean)
ACS Adjustable Closing Speed (Replaces Fixed Orifice)
AOS Adjustable Opening Speed (Standard 1¼” 4″)
P Position Indicator
L Limit Switch
Operation
The Pressure Reducing Automatic Control Valve (ACV) is designed to automatically reduce a fluctuating higher upstream pressure to a constant lower downstream pressure regardless of varying flow rates. It is controlled by a normally open, pressure reducing pilot designed to: 1) Open (allowing fluid out of the main valve cover chamber) when downstream pressure is below the adjustable setpoint, and 2) Close (allowing fluid to fill the main valve cover chamber) when downstream pressure is above the adjustable setpoint. A decrease in downstream pressure causes the valve to modulate toward an open position, raising downstream pressure. An increase in downstream pressure causes the valve to modulate toward a closed position, lowering downstream pressure.
*The wetted surface of this product contacted by consumable water contains less than 0.25% of lead by weight.
NOTICE
The information contained herein is not intended to replace the full product installation and safety information available or the experience of a trained product installer. You are required to thoroughly read all installation instructions and product safety information before beginning the installation of this product.
ACV Schematic – Series LFM115
M Series Basic Valves
Pressure Reducing Control Valve
Full Port Ductile Iron Single Chamber Basic Valve
This Watts Automatic Control Valve (ACV) is a full port, single chamber basic valve that incorporates a one-piece disc and diaphragm assembly. This assembly is the only moving part within the valve allowing it to open, close, or modulate as commanded by the pilot control system.
Watts ACV Main Valves are Lead-Free. The Watts ACV piloting system contains Lead-Free
* components, ensuring all of our configurations are Lead-Free compliant.
Globe Pattern Single Chamber Basic Valve (M100)
Angle Pattern Single Chamber Basic Valve (M1100)
Standard Materials
Body and Cover: Ductile Iron ASTM A536
Coating: NSF Listed Fusion Bonded Epoxy Lined and Coated
Trim: 316 Stainless Steel
Elastomers: Buna-N (standard) EPDM (optional) VitonTM (optional) Nut, Spring and Stem: Stainless Steel
Anti-Scale (Optional): Xylan Coated Stem and Seat
VitonTM is a trademark of The Chemours Company FC, LLC
Operating Pressure
Threaded = 400psi (27.6 bar)
150# Flanged = 250psi (17.2 bar)
300# Flanged = 400psi (27.6 bar)
Grooved End = 400psi (27.6 bar)
Operating Temperature
Buna-N: 160°F (71°C) Maximum
EPDM: 300°F (140°C) Maximum
VitonTM: 250°F (121°C) Maximum
Epoxy Coating**: 225°F (107°C) Maximum
** Valves can be provided without internal epoxy coating consult the factory
Basic Valve Body Options
ACV Schematic – Series LFM115
Flow Data
| Valve Size | 11/4 | 11/2 | 2 | 21/2 | 3 | 4 | 6 | 8 | 10 | 12 | 14 | 16 |
| Inches Maximum Continuous -0 Flow Rate Gpm (Water) | 95 | 130 | 210 | 300 | 485 | 800 | 1850 | 3100 | 5000 | 7000 | 8500 | 11100 |
| Maximum Intermittent a) Flow Rate Gpm (Water)a) is | 119 | 161 | 265 | 390 | 590 | 1000 | 2300 | 4000 | 6250 | 8900 | 10800 | 14100 |
| Minimum Flow Rate Gpm (Water) | 3 | 5 | 6 | 9 | 15 | 16 | 17 | 25 | 55 | 70 | 190 | 400 |
| Cv Factor GPM (Globe) | 26 | 26 | 48 | 75 | 112 | 188 | 387 | 764 | 1215 | 1734 | 2234 | 3131 |
| Or Factor GPM (Angle) | 26 | 27 | 57 | 91 | 125 | 207 | 571 | 889 | 1530 | 1945 |
- Maximum continuous flow based on the velocity of 20 ft. per second.
- Maximum intermittent flow based on the velocity of 25 ft. per second.
- Minimum flow rates are based on a 20-40 psi pressure drop.
- The Cv Factor of a value is the flow rate in US GPM at 60°F that will cause a 1psi drop in pressure.
- Cv factor can be used in the following equations to determine Flow (Q) and Pressure Drop (P):
Q (Flow) = CvP
P (Pressure Drop) = (Q/Cv)2 - The Cv factors stated are based upon a fully open valve.
- Many factors should be considered in sizing control valves including inlet pressure, outlet pressure, and flow rates.
- For sizing questions including cavitation analysis consult Watts with system details.

Valve Cover Chamber Capacity

ACV Schematic – Series LFM115
M100 Basic Valve
| Item | Description | Material |
| 1 | Pipe Plug | Lead Free Brass |
| 2 | Cover | ASTM A536 65-45-12 Epoxy Coated Ductile Iron |
| 3 | Cover Bearing | ASTM A276 304 Stainless Steel |
| 4 | Stud with Cover Nut and Washer | ASTM A570 Gr.33 Zinc Plated Steel |
| 5 | Body | ASTM A536 6545-12 Epoxy Coated Ductile Iron |
| 6 | Spring | ASTM A276 302 Stninless Steel |
| 7 | Stern Nut | ASTM A276 304 Stainless Steel |
| 8 | Lock Washer | ASTM A276 304 Stainless Steel |
| 9 | Stem Washer | ASTM A276 304 Stainless Steel |
| 10 | Diaphragm Washer | ASTM A536 65-45-12 Epoxy Coated Ductile Iron |
| 11 | Diaphragm* | Buna-N (Nitrile) |
| 12 | Disc Retainer | ASTM A536 65-45-12 Epoxy Coated Ductile Iron |
| 13 | Seat Disc’ | Buna-N (Nitrile) |
| 14 | Spacer Washer x5 | NY300 Fiber |
| 15 | Disc Guide | ASTM A743 CF8M (316) Stainless Steel |
| 16 | Shaft | ASTM A276 304 Stainless Steel |
| 17 | Seat Ring” | ASTM A743 CF8M (316) Stainless Steel |
| 17A | Seat Screw” (8″ and Larger) | ASTM A276 304 Stainless Steel |
| 18 | Seat Gasket* | Buna-N (Nitrite) |
* Contained in Main Valve Repair Kit
**Note: 6 inch and Smaller Valves, Seat Ring is threaded
NOTICE
Installation: If the unit is installed in any orientation other than horizontal (cover up) OR extreme space constraints exist, consult customer service prior to or at the time of order.
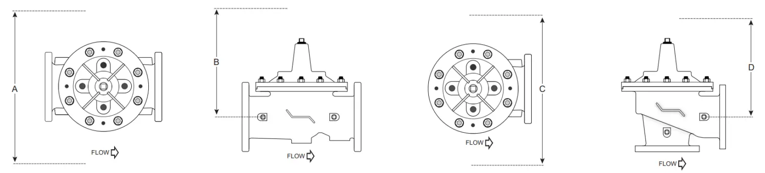
Dimensions
| Valve Size | Globe Thread | Globe 150# | Globe 300# | Cover To Center | Angle Thread | Angle 150# | Angle 300# | Angle Thread | Angle 150# | Angle 300# | Port Size NPT | Port Size NPT | Shipping Weights* | |||||||||||
| A | B | C | D | E | F | G | H | I | J | K | L | |||||||||||||
| in. | in. | mm | in. | mm | in. | mm | in. | mm | in. | mm | in. | mm | in. | mm | in. | mm | in. | mm | in. | mm | in. | in. | lbs. | kgs. |
| 11/4 | 71/4 | 184 | 51/2 | 140 | 3/8 | 1/4 | 20 | 9 | ||||||||||||||||
| 11/2 | 71/4 | 184 | 81/2 | 216 | 51/2 | 140 | 31/4 | 83 | 17/8 | 48 | 3/8 | 1/4 | 25 | 11 | ||||||||||
| 2 | 93/8 | 238 | 93/8 | 238 | 10 | 254 | 63/4 | 171 | 43/4 | 120 | 43/4 | 121 | 5 | 127 | 31/4 | 83 | 31/4 | 83 | 31/2 | 89 | 3/8 | 1/2 | 40 | 18 |
| 21/2 | 11 | 279 | 11 | 279 | 115/8 | 295 | 71/2 | 191 | 51/2 | 140 | 51/2 | 140 | 57/8 | 149 | 4 | 102 | 4 | 102 | 45/16 | 110 | 1/2 | 1/2 | 65 | 29 |
| 3 | 121/2 | 318 | 12 | 305 | 131/4 | 337 | 81/4 | 210 | 61/4 | 159 | 6 | 152 | 63/8 | 162 | 41/2 | 114 | 4 | 102 | 43/8 | 111 | 1/2 | 1/2 | 95 | 43 |
| 4 | 15 | 381 | 155/8 | 397 | 105/8 | 270 | 71/2 | 191 | 77/8 | 200 | 5 | 127 | 55/16 | 135 | 3/4 | 3/4 | 190 | 86 | ||||||
| 6 | 20 | 508 | 21 | 533 | 13 | 330 | 10 | 254 | 101/2 | 267 | 6 | 152 | 61/2 | 165 | 3/4 | 3/4 | 320 | 145 | ||||||
| 8 | 253/8 | 645 | 263/8 | 670 | 16 | 406 | 123/4 | 324 | 131/4 | 337 | 8 | 203 | 81/2 | 216 | 1 | 1 | 650 | 295 | ||||||
| 10 | 293/4 | 756 | 311/8 | 791 | 17 | 430 | 147/8 | 378 | 159/16 | 395 | 85/8 | 219 | 95/16 | 237 | 1 | 1 | 940 | 426 | ||||||
| 12 | 34 | 864 | 351/2 | 902 | 207/8 | 530 | 17 | 432 | 173/4 | 451 | 133/4 | 349 | 141/2 | 368 | 1 | 11/4 | 1500 | 680 | ||||||
| 14 | 39 | 991 | 401/2 | 1029 | 241/4 | 616 | 1 | 11/2 | 1675 | 760 | ||||||||||||||
| 16 | 413/8 | 1051 | 431/2 | 1105 | 251/4 | 640 | 1 | 2 | 3100 | 1406 | ||||||||||||||
| Valve Size | Globe GroovedA | Cover To CenterB | Angle GroovedC | Angle GroovedD | Port Size (npt)E | Port Size (npt)F | Shipping Weights* | |||||
| in. | in. | mm | in. | mm | in. | mm | in. | mm | in. | in. | lbs. | kgs. |
| 11/4 | 81/2 | 216 | 51/2 | 140 | 41/4 | 108 | 31/4 | 83 | 3/8 | 1/4 | 25 | 11 |
| 11/2 | 81/2 | 216 | 51/2 | 140 | 41/4 | 108 | 31/4 | 83 | 3/8 | 1/4 | 25 | 11 |
| 2 | 9 | 229 | 61/2 | 165 | 43/4 | 121 | 31/4 | 83 | 3/8 | 1/2 | 40 | 18 |
| 21⁄2 | 11 | 279 | 71/2 | 191 | 51⁄2 | 140 | 4 | 102 | 1/2 | 1/2 | 65 | 29 |
| 3 | 121⁄2 | 318 | 81/4 | 210 | 6 | 152 | 41/4 | 108 | 1/2 | 1/2 | 95 | 43 |
| 4 | 15 | 381 | 105/8 | 270 | 71/2 | 191 | 5 | 127 | 3/4 | 3/4 | 190 | 86 |
| 6 | 20 | 508 | 133/8 | 340 | 3/4 | 3/4 | 320 | 145 | ||||
| 8 | 253⁄8 | 645 | 16 | 406 | 1 | 1 | 650 | 295 | ||||
ACV Standard Components – Series LFM115
LEAD-FREE*
Model LFCP15
Pressure Reducing Pilot
Size: 3/8″ NPT
The Model LFCP-15 is a direct-acting, diaphragm-actuated Pilot that automatically reduces a higher upstream (inlet) pressure to a constant downstream (outlet) pressure. It is normally held open by the force of the adjustable spring setting above the diaphragm.
The Pilot modulates towards a closed position when outlet pressure exceeds the spring setpoint, lowering the delivery pressure. It modulates towards an open position when the outlet pressure falls below the spring setpoint, increasing the delivery pressure.
When a Model LFCP-15 is installed in the piping circuit of an Automatic Control Valve, its throttling action causes the Main Valve to throttle open or closed accordingly. Turning the adjustment screw clockwise raises the control setpoint, increasing main valve outlet pressure. Turning the adjustment screw counterclockwise lowers the control setpoint, decreasing Main Valve outlet pressure.
The Model LFCP-15 is equipped with one 3/8″ NPT inlet and two outlet ports for ease of installation. The unused outlet port may be plugged or used as a pressure gauge connection.

Specifications
| Body Material: | Lead Free Copper Silicon Alloy CF8M (316) Stainless Steel (optional) |
| Seat: | 316 Stainless Steel |
| Elastomers: | Buna-N (standard) VitonTM (optional) EPDM (optional) |
| Inlet Pressure Rating: | 400psi (27.6 bar) maximum |
| Adjustment Range: | 30-300psi (2.1 – 20.7 bar) (standard) 2-30psi (0.15-2 bar) (optional) |
VitonTM is a trademark of The Chemours Company FC, LLC
*The wetted surface of this product contacted by consumable water contains less than 0.25% of lead by weight.
Item | Description |
| 1 | Adjusting Screw |
| 2 | Nut |
| 3 | Spring Housing |
| 4 | Cap Screw |
| 5 | Body |
| 6 | Seat |
| 7 | Spring Guide |
| 8 | Spring |
| 9 | Nut |
| 10 | Belleville Washer |
| 11 | Diaphragm Washer |
| 12 | Diaphragm* |
| 13 | Yoke |
| 14 | Disc and Retainer Assembly* |
| 15 | O-Ring* |
| 16 | Bottom Cap |
Model BV
Ball Valve
Size: ¼” 1″ NPT
Model BV Ball Valves are used in pilot lines to provide a positive shutoff in any override or maintenance situation for simple troubleshooting. This 2-piece, the full port valve features bottom-loaded stems, PTFE seats, and packing.
| Size | Dimensions | Weight | ||||||
| C | H | L | ||||||
| in. | in. | mm | in. | mm | in. | mm | lbs. | kg. |
| 1/4 | 113/16 | 46 | 37/16 | 87 | 13/4 | 45 | 0.4 | 0.2 |
| 3/8 | 113/16 | 46 | 37/16 | 87 | 13/4 | 45 | 0.4 | 0.2 |
| 1/2 | 113/16 | 46 | 37/16 | 87 | 115/16 | 50 | 0.4 | 0.2 |
| 3/4 | 21/4 | 57 | 4 | 101 | 25/16 | 59 | 0.8 | 0.3 |

Specifications
| Standard Material: | Copper Silicon Alloy Body and Adaptor Chrome Plated Ball |
| Optional Material: | Stainless Steel Housing, Body and Adaptor Stainless Steel Ball |
| Pressure Rating: | 600psi (41 bar) Non Shock |
| Temp Rating: | -40°F – 400°F |
*The wetted surface of this product contacted by consumable water contains less than 0.25% of lead by weight. Model LF60
Flo-Clean Strainer
Size: ¼” 3/4″ NPT
Model LF60 Flo-Clean Strainers are used to filter the fluid passing through the pilot circuit, and provide protection to pilot circuit speed controls and pilots. It is installed in the inlet body port of the Main Valve, exposing the strainer element to mainline flow. The currents and flow across the screen create a self-scouring effect, cleaning the filter element.
Valve inlet with Filter installed
Specifications
| Body Material: | Lead Free Brass (standard) Stainless Steel (optional) |
| Pressure Rating: | 400psi (27.6 bar) |
| Filter Element: | Monel |
| Screen Mesh: | 40 Mesh (standard) |

| A | B |
| Male Pipe Thread in. | Female Pipe Thread in. |
| 1/4 | 1/8 |
| 3/8 | 1/4 |
| 1/2 | 3/8 |
*The wetted surface of this product contacted by consumable water contains less than 0.25% of lead by weight.
ACV Options and Accessories – Series LFM115
LEAD-FREE*
Model LF60-1
Y-Pattern Strainer
Size: ¼” 3/4″ NPT
Model LF60-1 Y-Pattern Strainers are used to filter the fluid passing through the pilot circuit, and provide protection to pilot circuit speed controls and pilots. The filter element can be accessed for cleaning by removing the clean-out cap, or may be cleaned by installing an optional “blow-down” ball valve.
Dimensions
SIZE | DIMENSIONS | WEIGHT | ||||
| in. | A | B | lbs. | kgs. | ||
| in | mm | in | mm | |||
| 1/4 | 211/16 | 68 | 111/16 | 43 | 1.7 | 0.77 |
| 3/8 | 211/16 | 68 | 111/16 | 43 | 1.7 | 0.77 |
| 1/2 | 3 | 76 | 2 | 51 | 1.7 | 0.77 |
| 3/4 | 35/16 | 84 | 25/16 | 59 | 1.7 | 0.77 |

Specifications
| Body Material: | Lead-Free Copper Silicon Alloy CF8M (316) Stainless Steel (optional) |
| Retainer Cap: | Lead-Free Copper Silicon Alloy |
| Cap Gasket: | EPDM |
| Pressure Rating: | 400psi (27.6 bar) |
| Filter Element: | 304 Stainless Steel |
| Mesh Options: | 60 Mesh (standard) 100 Mesh (optional) |
*The wetted surface of this product contacted by consumable water contains less than 0.25% of lead by weight.
ACV Options and Accessories – Series LFM115
LEAD-FREE*
Model LFFC
Flow Control
Size: ½” NPT
A Flow Control is an adjustable device used for tuning valve performance. It can be installed to either control the opening or close the speed of the automatic control main valve. When the flow is in the direction of the needle the flow control is an adjustable restriction. In the free flow direction, the seat moves out of the flow path to all unrestricted flow.

Specifications
| Size: | 1/2″ NPT |
| Body Material: | Lead-Free Brass Stainless Steel (optional) |
| Seat: | Lead-Free Brass |
| Needle: | Stainless Steel (304) |
| Elastomers: | Buna-N (standard) |
*The wetted surface of this product contacted by consumable water contains less than 0.25% of lead by weight.
LEAD-FREE*
Model 50
Position Indicator
When specified as an option on a Control Valve, the Model 50 Position Indicator is installed in the topmost cover port of the Main Valve and allows for visual indication of valve position. The Model 50 is also very useful during valve start-up and troubleshooting procedures.
Stainless steel indicating rod threads into the tapped portion of the Main Valve stem and moves inside of a cylindrical Pyrex sight tube. The indicating rod travels up and down, following the Main Valve stem movement. The housing protects the sight tube and indicating rod, and allows visibility on two sides. The screw driver-operated test cock installed on the top of the Model 50 housing provides a controlled method of removal of air from the cover chamber during start-up or troubleshooting of the Main Valve.
Item | Description |
| 1 | Test Cock |
| 2 | Housing |
| 3 | Gasket |
| 4 | Pyrex Sight Tube |
| 5 | Body |
| 6 | Indicating Rod |
| 7 | Stem Adaptor (8″ or Larger) |

Specifications
| Standard Material: | Stainless Steel Housing and Body Stainless Steel Indicating Rod Lead-Free Test Cock Pyrex Sight Tube |
| Optional Material: | Stainless Steel Test Cock |
| Pressure Rating: | 400psi (27.6 bar) |
*The wetted surface of this product contacted by consumable water contains less than 0.25% of lead by weight.
Dimensions
Valve Size (in) | Dimension (in) |
| 11/4 – 11/2 | 73/8 |
| 2 | 47/8 |
| 21/2 | 47/8 |
| 3 | 47/8 |
| 4 | 5 |
| 6 | 5 |
| 8 | 57/8 |
| 10 | 57/8 |
| 12 | 71/4 |
| 14 | 71/4 |
| 16 | 71/4 |
| 18* | 71/4 |
| 20* | 71/4 |
| 24* | 71/4 |
Model 51
Single Limit Switch
The Model 51 Single Limit Switch provides a visual indication of valve position, as well as a remote electrical indication of “valve open” or “valve closed”. The single pole double throw MicroSwitch can be connected to open or close an electrical circuit when the valve opens or closes.
The adjustable collar is normally set to contact the trip arm when the main valve is closed. The collar can be positioned on the stem by loosening the set-screw to actuate the switch at the desired point of valve travel.

Specifications
| Body Material: | Stainless Steel |
| Elastomers: | Buna-N (standard) EPDM (optional) VitonTM (optional) |
| Enclosure: | NEMA 1, 3, 4 and 13 General Purpose (standard) NEMA 1,7 and 9 Explosion Proof (optional) |
| Electrical: | Form C SPDT Switch 15 amp. 125, 250 or 480 VAC ½ amp. 125 VDC ¼ amp. 250 VDC ½” Conduit Connection |
VitonTM is a trademark of The Chemours Company FC, LLC
*The wetted surface of this product contacted by consumable water contains less than 0.25% of lead by weight.
Parts List
Item | Description |
| 1 | Limit Switch |
| 2 | Bracket |
| 3 | Stem |
| 4 | Trip collar |
| 5 | Set Screw |
| 6 | Cap |
| 7 | Wiper Ring* |
| 8 | O-Ring* |
| 9 | Guide |
| 10 | O-Ring* |
| 11 | Polypak* |
| 12 | Locknut |
| 13 | Body |
| 14 | Pin |
| 15 | Coupling |
Installation, Operation, and Maintenance – Series LFM115
Installation
- Prior to installation, flush the line to remove debris.
- Install valve so the flow arrow matches flow through the line, and gauges to monitor valve inlet and outlet pressures. A Position Indicators can be installed to provide a visual indication of valve position and operation without disassembly.
- Install isolation valves upstream and downstream of the main valve.
Note: If using butterfly valves, ensure the valve disc does not contact the main valve. - Provide adequate clearance for valve servicing and maintenance. Refer to valve servicing dimensions on the next page.
- Avoid installing valves 6″ and larger in the vertical position (main valve stem horizontal). Automatic Control Valves (ACVs) are designed for horizontal in-line installation, with the cover facing up (main valve stem vertical). Slow operation or premature stem and guide wear may occur if the valve is not installed according to factory recommendations. Consult the factory for a detailed engineering review prior to ordering if the valve is to be installed other than horizontally in-line.
- If the valve is equipped with a pilot control system, extra precautions should be made during installation to protect the piping circuit from damage. Only remove the pilot control system from the valve if necessary. Tubing and fittings should be kept clean, and replaced exactly as removed. Consult appropriate hydraulic schematic to ensure proper re-assembly.
- After installation, vent entrapped air from the valve cover and pilot system by following the instructions in the Setting the Pressure Reducing Control section on the following page.
Valve Servicing Dimensions

The following tables detail the recommended minimum valve servicing dimensions.
Globe
| Size (in) | 11/4 | 11/2 | 2 | 21/2 | 3 | 4 | 6 | 8 | 10 | 12 | 14 | 16 | 20 | 24 |
| A (in) | 16 | 16 | 20 | 22 | 22 | 24 | 32 | 34 | 38 | 44 | 48 | 52 | 56 | 56 |
| B (in) | 10 | 10 | 12 | 14 | 14 | 16 | 24 | 26 | 28 | 30 | 34 | 40 | 48 | 48 |
Angle
| Size (in) | 11/4 | 11/2 | 2 | 21/2 | 3 | 4 | 6 | 8 | 10 | 12 | 14 | 16 |
| C (in) | 16 | 16 | 20 | 22 | 22 | 24 | 32 | 34 | 38 | 44 | 48 | 52 |
| D (in) | 10 | 10 | 12 | 14 | 14 | 16 | 24 | 26 | 28 | 30 | 34 | 40 |
Setting the Pressure Reducing Control
Note: Starting up the system will require bleeding air and draining water from the valve.
Take proper precautions to protect your space from water damage.
STEP 1
Start with the upstream and downstream isolation valves in your system closed, labeled 1 and 2 in Figure 1 respectively.
Begin by backing the adjusting screw on the LFCP15 pilot valve all the way out by loosening the lock nut and turning the adjusting pin just until it comes off the tension (See Images 1 and 2 below).
Ensure the inlet and outlet shutoffs on the pilot system are open.
If your valve includes speed control, loosen the lock nut. Set the valve to its fully closed position and back it off approximately 1½ to 2 turns from fully closed (See Images 3 and 4 to the right).
The speed control can be fine-tuned once the valve startup has been completed.
STEP 2
To ensure proper operation, any trapped air will need to be bled off the valve cover during startup. If your ACV includes a bleed valve, as shown to the right, use a flat head screwdriver to slowly open the valve (See Images 5 and 6 to the right and below). If your valve does not include a bleed valve, bleed air by loosening a fitting on the valve or a plug, at the highest point of the valve assembly.
STEP 3
Pressure the line, by opening the upstream isolation valve slowly (see valve number one in Figure 2 below). Air is vented through the air bleed valve or loosened fitting. Tighten the fitting when liquid begins to vent. Repeat the process until no air is trapped in the system.
STEP 4
Slowly open the downstream isolation valve, labeled number 2 in Figure 2, to establish flow through the system.
STEP 5
Fine-tune the Pressure Reducing Control to the desired pressure set point by turning the adjustment screw IN, clockwise to increase or OUT, and counterclockwise to decrease downstream pressure (Shown in Image 7 to the right). When desired pressure set point is achieved tighten the adjusting stem locknut.
STEP 6
Opening Speed Flow Control Adjustment: The Opening speed flow control allows free flow into the cover and restricted flow out of the cover of the main valve. If recovery of the pressure is slow upon increased downstream demand, turn the adjustment screw OUT, counterclockwise (Shown in Image 8 to the right), increasing the rate of opening. If recovery of downstream pressure is too quick, as indicated in a rapid increase in pressure, possibly higher than the desired setpoint, turn the adjustment screw IN, clockwise, decreasing the rate of opening.
STEP 7
Note: If the main valve comes equipped with closing speed control, otherwise ignore this step.
Closing Speed Needle Valve Adjustment: The closing speed needle valve regulates fluid pressure into the main valve cover chamber, controlling the valve closing speed. If the downstream pressure fluctuates slightly above the desired set point, turn the adjustment screw OUT, counterclockwise, increasing the rate of closing.
Installation, Operation and Maintenance – Series LFM115
Automatic Control Valve Maintenance Schedule
To ensure peak performance and longevity of your automatic control valve, Watts/Ames recommends following the below standard maintenance schedule.
- Monthly Maintenance
– Visual inspection of valve(s) for leaks
–Inspect for proper operation(s); exercise valve. - Quarterly Maintenance
–Conduct monthly inspections.
–Validate/Re-establish necessary setpoints of controls/pilots. - Annual Maintenance
–Conduct monthly & quarterly inspections.
–Inspect & clean all strainers.
–Inspect valve coating, and touch up as required. - 3-5 Year Maintenance
–Conduct monthly, quarterly, & annual maintenance.
–Inspect & replace valve elastomers (diaphragm, O-rings, valve/pilot seats)
— Re-establish necessary set points of controls/pilots.
Troubleshooting Guide
WARNING
Warning: The valve cannot be serviced under pressure. Upstream and downstream Isolation Valves must be installed to protect system piping. Accurate diagnosis and troubleshooting require the valve to open fully and may subject downstream piping and equipment to high pressure and/or flow rates. The downstream Isolation Valve should be kept closed while diagnosing the valve.
Extreme caution should be used while performing the troubleshooting techniques listed below.
Recommended tools for diagnosis: (3) PRESSURE GAUGES, installed to monitor the inlet pressure, outlet pressure, and cover chamber pressure. If included, a POSITION INDICATOR should be installed to visually assess the position of the disc & diaphragm assembly.
Test 1: Diaphragm Seal Test
- Close upstream & downstream isolation valves. Close pilot isolation valves or remove pilot control tubing to isolate the valve cover from incoming fluid & pressure. Remove the uppermost cover plug, test cock, or limit switch.
- With the valve cover chamber vented to the atmosphere, partially open the upstream isolation valve, allowing incoming pressure to lift the disc & diaphragm assembly. A volume of water will be displaced from the cover chamber as the valve opens; consult valve specification sheets for approximate cover capacity. A continuous flow of water from the open port indicates a damaged diaphragm or loose disc & diaphragm assembly. Disassemble valve and replace diaphragm or tighten disc & diaphragm assembly.
Test 2: Seat Seal Test
- Close downstream isolation valve and install pressure gauges on an open inlet and outlet port of the main valve.
- Open upstream isolation valve to allow pressure onto the valve cover. Allow valve to fully close.
- Monitor downstream pressure gauge; reading should hold steady below incoming pressure. If pressure on the downstream side rises to match upstream pressure, leakage is occurring through the seat of the main valve. Disassemble valve, inspect and repair/replace any required parts.
a. If gauge pressure rises to match outlet pressure (downstream of closed isolation valve) yet remains below inlet pressure, the isolation valve may be leaking as opposed to the main valve seat.
Test 3: Freedom of Movement/Valve Travel Test
- Close upstream and downstream isolation valves. Install valve position indicator.
- Partially open the upstream isolation valve and allow the cover to fill with fluid & pressure, closing the valve fully. Mark the position indicator’s full closed position.
- Isolate cover chamber from receiving fluid and pressure by closing isolation valves or removing control tubing.
- Carefully vent cover chamber to the atmosphere by opening test cock or removing a cover plug. Observe the valve position indicator as the valve travels to the full-open position. The disc & diaphragm assembly should move freely from fully closed to fully open position without binding or “grabbing” at any point during its movement.
a. The disc & diaphragm assembly may momentarily “hesitate” while traveling from fully closed to fully open position this is a normal characteristic of diaphragm operated control valves and does not indicate mechanical binding or improper valve operation.
b. A continuous discharge of water from the cover chamber after venting to the atmosphere indicates leakage past the diaphragm. - If necessary, disassemble the valve and inspect/repair disc & diaphragm assembly.
Troubleshooting Guide
Issue | Possible Cause | Corrective Action | Notes |
| Main Valve will not open | Closed isolation valves in the pilot system. | Check isolation valves, and ensure open. | |
| Insufficient supply pressure. | Check upstream pressure. | Depending on the water source, supply pressure may not be controlled by the valve operator. | |
| Main valve stem assembly corroded/ damaged. | Inspect stem assembly, clean/ replace if necessary. | ||
| Blockage in pilot system. | Inspect & clean any installed pilot system strainers, and check orifice/speed controls for blockages. | ||
| Missing fixed orifice assembly. | Verify installation of the orifice; replace if required/missing. | A pilot valve inlet isolation valve can be used as a makeshift orifice assembly by partially opening from fully closed position. | |
| Improperly configured opening speed control (if equipped). | Adjust opening speed control to verify functionality, adjust as required. | The standard setting for opening speed control is 11/2 – 21/2 turns open from the full closed position. Can be adjusted in the field. | |
| Main Valve will not close | Closed isolation valves in the pilot system | Check isolation valves, and ensure they open. | |
| Diaphragm is damaged | Conduct diaphragm seal test, repair, and replace if necessary. | ||
| Main valve stem assembly corroded/ damaged. | Inspect stem assembly, clean/ replace if necessary. | ||
| Blockage in the main valve. | Perform freedom of movement test; if the valve does not close, disassemble and remove the blockage. | ||
| Worn/damaged valve seat. | Perform seat sealing check; disassemble and inspect/repair seat if required. |
Valve Disassembly Instructions
Before undertaking valve disassembly, it is recommended to gather the following tools to aid you during the process:
- Small & large adjustable wrenches
- Screwdriver set
- Machinist fine metal file · Fine wire brush
- Bench vise
- Basic valve IO&M manual · Hammer & dull cold chisel · Heavy-duty ratchet & socket set
- Hexagonal wrench set
- 320 grit/fine Emery cloth
- Appropriate technical bulletins for valve start-up procedures.

- Isolate the valve from line pressure and depressurize it to ensure safe working conditions. Disconnect any electrical connections if so equipped.
- Carefully remove Position Indicator or Limit Switches if equipped. Remove all tubing, fittings, and Control Pilots necessary to easily access and remove the cover. Remove cover nuts and washers.
- Remove the cover. If the cover is not free to be removed, loosen it by tapping upward along its outside edge with a dull cold chisel, pictured above.
a. Large valves may require the installation of lifting “eye” bolts in order to facilitate cover removal; installation ports are provided on the cover for this purpose. - Remove the Disc and Diaphragm Assembly from the valve body by lifting it straight up.
a. Large diameter valves may require a lifting “eye” bolt to be installed in the valve stem accessory threads located on the very top of the valve stem. - Before removing the Stem Nut, examine stem threads for mineral build-up. Remove deposits with a fine wire brush. Extreme care should be taken not to damage the finish on stem guiding surfaces when disassembling. Avoid applying pipe wrenches to the top or bottom stem guide surfaces.
- After removing the Stem Nut, the remainder of the Disc & Diaphragm Assembly should disassemble easily. Polish stem guide surfaces with fine emery cloth to remove any mineral deposits and inspect for excessive wear. Remove any mineral build-up from other components with a wire brush or by using a Mineral Dissolving Solution. Inspect parts for wear and replace if necessary.
- Inspect valve seat. If the seat is not damaged, removal is not necessary. Valve seats 6″ and smaller are threaded into the body of the valve and require a seat removal tool (Figure 3) (Table 1 details the tool dimensions for seat removal). Valve seats 8″ and larger are held in the valve body with stainless steel cap screws. Remove seat retaining screws and lift the seat straight up (Figure 4).

Table 1: Seat Removal Tool Dimension
Size | A | B | C | D | E (Dia.) | F |
| in | Pipe Size (in) | Min. Length (in) | in | in | in | in |
| 11/4 | 1 | 3.12 | 0.38 | 0.25 | 0.44 | 0.55 |
| 11/2 | 1 | 3.12 | 0.38 | 0.25 | 0.44 | 0.50 |
| 2 | 11/4 | 3.38 | 0.38 | 0.25 | 0.44 | 0.50 |
| 21/2 | 2 | 4.0 | 0.38 | 0.38 | 0.56 | 0.62 |
| 3 | 21/2 | 4.5 | 0.50 | 0.38 | 0.56 | 0.62 |
| 4 | 3 | 5.0 | 0.50 | 0.44 | 0.56 | 0.62 |
| 6 | 5 | 6.50 | 0.62 | 0.44 | 0.56 | 0.62 |
*Schedule 40 steel pipe
8. Replace Seat Disc, Diaphragm, and Spacer Washers provided in the Main Valve repair kit (refer to Table 2 or 3 for the correct repair kit part number). Re-assemble in the reverse order of disassembly.
Table 2: Full Port Valve (M100/M1100) Repair Kits
| Size (in) | 11/4 | 11/2 | 2 | 21/2 | 3 | 4 | 6 | 8 | 10 | 12 | 14 | 16 |
| P/N | 0677-01 | 0677-01 | 0677-02 | 0677-03 | 0677-04 | 0677-05 | 0677-06 | 0677-07 | 0677-08 | 0677-09 | 0677-10 | 0677-11 |
Table 3: Reduced Port Valve (M6100 / M61100) Repair Kits
| Size (in) | 3 | 4 | 6 | 8 | 10 | 12 | 16 | 20 & 24 |
| P/N | 0677-02 | 0677-04 | 0677-05 | 0677-06 | 0677-07 | 0677-08 | 0677-09 | 0677-11 |
9. Re-Install Disc and Diaphragm Assembly in the valve, taking care not to damage the lower guide area in the center of the valve seat.
10. Re-install Cover Spring. Replace Valve Cover and tighten Cover Nuts in a crossing pattern to ensure even distribution. Test the Disc and Diaphragm Assembly for smooth travel by following the Freedom of Movement Test procedure in the previous section.
11. Test the integrity of the Seat Seal by following the Seat Seal Test procedure in the previous section.
12. Return valve to service by following instructions in the Setting the Pressure Reducing Control section matching the valve function.
Limited Warranty:
Watts Regulator Co. (the “Company”) warrants each product to be free from defects in material and workmanship under normal usage for a period of one year from the date of original shipment. In the event of such defects within the warranty period, the Company will, at its option, replace or recondition the product without charge.
THE WARRANTY SET FORTH HEREIN IS GIVEN EXPRESSLY AND IS THE ONLY WARRANTY GIVEN BY THE COMPANY WITH RESPECT TO THE PRODUCT. THE COMPANY MAKES NO OTHER WARRANTIES, EXPRESS OR IMPLIED. THE COMPANY HEREBY SPECIFICALLY DISCLAIMS ALL OTHER WARRANTIES, EXPRESS OR IMPLIED, INCLUDING BUT NOT LIMITED TO THE IMPLIED WARRANTIES OF MERCHANTABILITY AND FITNESS FOR A PARTICULAR PURPOSE. The remedy described in the first paragraph of this warranty shall constitute the sole and exclusive remedy for breach of warranty, and the Company shall not be responsible for any incidental, special or consequential damages, including without limitation, lost profits or the cost of repairing or replacing other property which is damaged if this product does not work properly, other costs resulting from labor charges, delays, vandalism, negligence, fouling caused by foreign material, damage from adverse water conditions, chemical, or any other circumstances over which the Company has no control. This warranty shall be invalidated by any abuse, misuse, misapplication, improper installation or improper maintenance or alteration of the product. Some States do not allow limitations on how long an implied warranty lasts, and some States do not allow the exclusion or limitation of incidental or consequential damages. Therefore the above limitations may not apply to you. This Limited Warranty gives you specific legal rights, and you may have other rights that vary from State to State. You should consult applicable state laws to determine your rights.
SO FAR AS IS CONSISTENT WITH APPLICABLE STATE LAW, ANY IMPLIED WARRANTIES THAT MAY NOT BE DISCLAIMED, INCLUDING THE IMPLIED WARRANTIES OF MERCHANTABILITY AND FITNESS FOR A PARTICULAR PURPOSE, ARE LIMITED IN DURATION TO ONE YEAR FROM THE DATE OF ORIGINAL SHIPMENT.
USA: T: (978) 689-6066
- F: (978) 975-8350
- Watts.com Canada:
- T: (888) 208-8927
- F: (905) 481-2316
- Watts.ca
Latin America: T: (52) 55-4122-0138
Watts.com



















