HILTI HIT-MM PLUS Adhesive anchor

Adhesive mortar for anchor and rebar fastenings
Suitable for use in hollow and solid clay brick, sand-lime block, concrete, concrete block, cellular concrete, and natural stone
Read the instructions for use and safety instructions before using this product.
- Expiry date: see the imprint on the manifold (month/year). Do not use expired mortar!
- Transport and storage: cool, dry, and dark, +5 °C to 25 °C.
- Foil pack temperature: must be between +5 °C and 40 °C during application.
- Base material temperature: must be between 0 °C and 40 °C during application
- Exception in solid clay brick: between +5 °C and 40 °C.
- The foil pack opens automatically at the start of dispensing.
Installation instructions
Illustration of the sequence of operations: see pictograms 1-17
Detailed setting data: for hollow materials see table 1; for solid materials see tables 2 and 3.
- Drill the hole with a rotary hammer. Check to determine whether the material is solid or hollow (with cavities). Use of a diamond coring tool to drill the hole is not permissible.

- Clean the drilled hole immediately before setting the anchor: 2 x blowing – 2 x cleaning with a wire brush – 2 x blowing. Holes must be free of dust, water, ice, oil/grease, and other contaminants. Inadequate hole cleaning = poor load-bearing values.

- Base materials with cavities ➔ Use a mesh sleeve – either HIT-SC composite mesh sleeve or HIT-S metal mesh sleeve. Do not use damaged sleeves.
- HIT-SC: First fit the centering cap, check that it engages (5) and then insert the mesh sleeve in the drilled hole (7).
- HIT-SC sleeve combinations: Fit the centering cap on the outer mesh sleeve (5), connect the outer mesh sleeve to the inner mesh sleeve (6), check that parts are well engaging, and then insert the combined sleeves in the hole (7).

- Place the foil pack in the foil pack holder. Caution! Never use damaged foil packs and/or damaged or very dirty foil pack holders.

- Screw the mixing nozzle tightly onto the foil pack. Do not modify the mixing nozzle in any way, unless specified by Hilti. A new mixing nozzle must be used with each new foil pack.

- Insert the foil pack holder, with the foil pack, in the dispenser.

- Discard the initial quantity of mortar: Do not use the initial quantity of mortar dispensed from the mixing nozzle for making fastenings. The quantity of mortar to be discarded depends on the size of the foil pack. See pictogram 11. The initial quantity of mortar must be discarded each time the mixing nozzle is changed.

- Filling the HIT-SC plastic mesh sleeve: Fill the mesh sleeve with mortar from the centering cap until the mortar escapes at the centering cap (filling control) (13). Filling HIT-SC mesh sleeve combinations: Push the mixing nozzle through the centering cap and through the bottom of the outer mesh sleeve (if necessary: use mixer extension). Fill the inner mesh sleeve (12). For the number of triggers pulls required: see table 1. Then pull the mixing nozzle back to the centering cap of the outer mesh sleeve and fill the outer mesh sleeve until mortar escapes from the centering cap (filling control) (13).

- Filling the HIT-S metal mesh sleeve: Insert the mixing nozzle to the bottom of the mesh sleeve and then retract the mixing nozzle approx. 10 mm after each trigger pull of the dispenser.

- Solid materials: Fill the drilled hole without trapping air! Insert the mixing nozzle to the base of the borehole (use an extension for deep holes) and then retract the nozzle, step by step, after each trigger pull of the dispenser. Fill the hole to approx. 2/3 with mortar.
- Push the fastening element into the mortar-filled hole or mesh sleeve up to anchoring depth “hef” in ac-cordance with tables 1-3. Afterward, the annular gap must be completely filled with mortar. Observe the working time “tgel”, which varies according to the temperature of the base material.

- Once the working time “tgel”, has elapsed, do not move or apply a load to the fastening element until the curing time “tcure” has passed.

- A load may be applied to the fastening element only after the curing time “tcure” has elapsed.

Filling




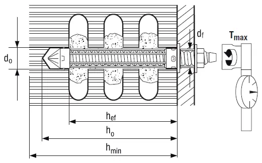
Setting details/HIT-V, HAS, HAS-E, HIT-IC threaded rods
HIT-V, HAS
HIT-IC
| Table 1: Setting details | HIT-V, HAS, HAS-E, threaded rods | ||||||||
| Anchor size | M6 | M8 | M10 | M12 | |||||
| Sieve sleeve | HIT-SC… | 12×50 | 12×85 | 16×50 | 16×85 | 16×50 | 16×85 | 18×50 | 18×85 |
| do Drill bit diameter 1) | mm | 12 | 12 | 16 | 16 | 16 | 16 | 18 | 18 |
| ho Hole depth | mm | 60 | 95 | 60 | 95 | 60 | 95 | 60 | 95 |
| hef Effective anchoring depth | mm | 50 | 80 | 50 | 80 | 50 | 80 | 50 | 80 |
| hmin Min. base material thickness | mm | 80 | 115 | 80 | 115 | 80 | 115 | 80 | 115 |
| df Max. Clearance hole | mm | 7 | 7 | 9 | 9 | 12 | 12 | 14 | 14 |
| Tmax Max. tightening torque | Nm | 3 | 3 | 3 | 3 | 4 | 4 | 6 | 6 |
| Filling volume | ml | 12 | 24 | 18 | 30 | 18 | 30 | 18 | 36 |
| MD 2000/2500 HDM 330/500 | approx. number of trigger pulls | 2 | 4 | 3 | 5 | 3 | 5 | 3 | 6 |
| ED 3500 HDE 500 | approx. number of trigger pulls | 3 | 6 | 4 | 7 | 4 | 7 | 4 | 9 |
| Table 1: Setting details | HIT-IC | |||
| Anchor size | M8 | M10 | M12 | |
| Sieve sleeve | HIT-SC… | 16×85 | 18×85 | 22×85 |
| do Drill bit diameter 1) | mm | 16 | 18 | 22 |
| ho Hole depth | mm | 95 | 95 | 95 |
| hef Effective anchoring depth | mm | 80 | 80 | 80 |
| hmin Min. base material thickness | mm | 115 | 115 | 115 |
| df Max. Clearance hole | mm | 9 | 12 | 14 |
| hs Length bolt engagement | mm | min. 10 – max. 75 | ||
| Tmax Max. tightening torque | Nm | 3 | 6 | 6 |
| Filling volume | ml | 30 | 36 | 45 |
| MD 2000/2500 HDM 330/500 | approx. number of trigger pulls | 5 | 6 | 8 |
| ED 3500 HDE 500 | approx. number of trigger pulls | 7 | 9 | 11 |
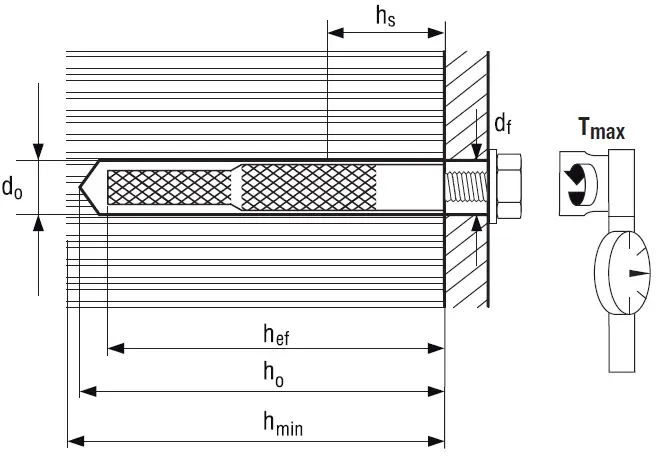
Setting details/HIT-V,HAS, HAS-E, HAS-R
HIT-V, HAS
| Table 2: Setting details | HIT-V | HAS, HAS-E, HAS-R | ||||||
| Anchor size | M8 | M10 | M12 | M8 | M10 | M12 | M16 | |
| do Drill bit diameter | mm | 10 | 12 | 14 | 10 | 12 | 14 | 18 |
| ho Hole depth | mm | 85 | 85 | 85 | 85 | 95 | 115 | 130 |
| hef Effective anchoring depth | mm | 80 | 80 | 80 | 80 | 90 | 110 | 125 |
| hmin Min. base material thickness | mm | 115 | 115 | 115 | 115 | 120 | 140 | 170 |
| df Max. Clearance hole | mm | 9 | 12 | 14 | 9 | 12 | 14 | 18 |
| Tmax Max. tightening torque | Nm | 5 | 8 | 10 | 5 | 8 | 10 | 10 |
| Filling volume | ml | 4 | 5 | 7 | 4 | 6 | 10 | 15 |
| MD 2000/2500 HDM 330/500 | approx. number of trigger pulls | 1 | 1 | 2 | 1 | 1 | 2 | 3 |
| ED 3500 HDE 500 | approx. number of trigger pulls | 1 | 2 | 2 | 1 | 2 | 3 | 4 |
Setting details/HIT-IC, HIS-N/-RN
HIT-IC
HIS-N/-RN
| Table 3: Setting details | HIT-IC | HIS-N/-RN | |||||
| Anchor size | M8 | M10 | M12 | M8 | M10 | M12 | |
| do Drill bit diameter | mm | 14 | 16 | 18 | 14 | 18 | 22 |
| ho Hole depth | mm | 85 | 85 | 85 | 95 | 115 | 130 |
| hef Effective anchoring depth | mm | 80 | 80 | 80 | 90 | 110 | 125 |
| hmin Min. base material thickness | mm | 115 | 115 | 115 | 120 | 150 | 170 |
| df Max. Clearance hole | mm | 9 | 12 | 14 | 9 | 12 | 14 |
| hs Length bolt engagement | mm | min. 10 – max. 75 | min. 8- max.20 | min. 10- max.25 | min. 12- max.30 | ||
| Tmax Max. tightening torque | Nm | 5 | 8 | 10 | 5 | 8 | 10 |
| Filling volume | ml | 6 | 6 | 6 | 6 | 10 | 16 |
| MD 2000/2500 HDM 330/500 | approx. number of trigger pulls | 1 | 1 | 1 | 1 | 2 | 3 |
| ED 3500 HDE 500 | approx. number of trigger pulls | 2 | 2 | 2 | 2 | 3 | 4 |
Setting details HIT-V, HAS, HIS-N/-RN
HIT-V, HAS
HIS-N/-RN
| Table 4: Setting details | HIT-V, HAS | HIS-N/-RN | ||||||
| Anchor size | M8 | M10 | M12 | M16 | M8 | M10 | M12 | |
| do Drill bit diameter | mm | 10 | 12 | 14 | 18 | 14 | 18 | 22 |
| ho Hole depth | mm | 85 | 95 | 115 | 130 | 95 | 115 | 130 |
| hef Effective anchoring depth | mm | 80 | 90 | 110 | 125 | 90 | 110 | 125 |
| hmin Min. base material thickness | mm | 115 | 120 | 140 | 170 | 120 | 140 | 170 |
| df Max. Clearance hole | mm | 9 | 12 | 14 | 18 | 9 | 12 | 14 |
| hs Length bolt engagement | mm | – | – | – | – | min. 8- max.20 | min. 10- max.25 | min. 12- max.30 |
| Tmax Max. Tightening torque | Nm | 10 | 20 | 40 | 80 | 10 | 20 | 40 |
| Filling volume | ml | 4 | 6 | 10 | 15 | 6 | 10 | 16 |
| MD 2000/2500 HDM 330/500 | approx. number of trigger pulls | 1 | 1 | 2 | 3 | 1 | 2 | 3 |
| ED 3500 HDE 500 | approx. number of trigger pulls | 2 | 2 | 3 | 4 | 2 | 3 | 4 |
Rebar

| Setting Parameter | Symbol Unit | Ø 8 | Ø 10 | Ø 12 | Ø 13 | Ø 14 | Ø 16 |
| Rebar Diameter Setting Detail | d mm | 9 | 11,5 | 13,5 | 15 | 16 | 18,5 |
| Drill bit diameter | d0 mm | 12 | 14 | 16 | 18 | 18 | 20 |
| Effective anchoring depth | hef mm | 80 | 90 | 110 | 120 | 125 | 145 |
| Min. base material thickness | hmin mm | hef + 50 mm | |||||
Partly-used foil packs may be reused within 4 weeks. Leave the used mixing nozzle screwed on and store the partly-used foil pack in accordance with storage instructions. Before reuse, screw on a new mixing nozzle and discard the initial quantity of mortar dispensed, as described at paragraph 11.
Hilti accepts no liability for loss or damage caused by:
- storage or transport not in accordance with the specified conditions
- failure to observe the instructions for use and the setting data
- inadequate design of the anchor points (number of anchors, load-bearing capacity/dimensions)
- the inadequate load-bearing capacity of the base material or use of the product on base materials other than those recommended
- incorrect use
- other influences of which Hilti is not aware or on which Hilti has no influence, e.g. use with products from third parties (e.g. climbing anchors).
Note:
Hilti HIT-MM PLUS is not tested for use with climbing anchors. Applications of this kind are carried out at the user’s own risk.
Safety instructions

Contains: dibenzoyl peroxide, hydroxypropyl methacrylate
- R 36 Irritating to eyes.
- R43 May cause sensitization by skin contact.
- R 7 May cause fire.
- S 3 Keep in a cool place.
- S 24/25 Avoid contact with skin and eyes.
- S 26 In case of contact with the eyes, rinse immediately with plenty of water and seek medical advice.
- S 28 After contact with the skin, wash immediately with plenty of water and soap.
- S 36/37/39 Wear suitable protective clothing, gloves, and eye/face protection.
Disposal instructions
- Empty packs: May be disposed of via the local Green Dot collecting system or EAK waste material code 150106 (mixed packaging materials)
- Full or only partially emptied packs must be disposed of as special waste in accordance with official regulations.
EAK waste material code: 200127* paint, inks, adhesives, and resins containing dangerous substances. Or EAK 080409* waste adhesives and sealants containing organic solvents or other dangerous substances.
Contact Information
Hilti (China)Distribution Ltd.
6/F, Building 29 No. 69 Gui Qing Road, Cao He Jing PRC-Shanghai 200233 Tel +86 21 6485 3158 Fax +86 21 6485 0311.
Hilti Deutschland GmbH
Hiltistr. 2 D-86916 Kaufering Tel +49 8191 90-0 Fax +49 8191 90-1122.
Hilti Danmark A/S
Stamholmen 153 DK-2650 Hvidovre Tel +45 44 88 8000 Fax +45 44 88 8084.
Hilti France S.A.
Rond Point Mérantais 1, rue Jean Mermoz 78778 Magny-les-Hameaux Tel +33 1 3012 5000 Fax +33 1 3012 5012.
Hilti (Gt. Britain) Ltd.
1 Trafford Wharf Road Trafford Park GB-M17 1BY Manchester Tel +44 161 886 1000 Fax +44 161 872 1240.
Hilti (Poland) Sp. z o.o.
ul. Pulawska 491 PL-02-844 Warszawa Tel +48 22 320 5500 Fax +48 22 320 5501.
Motek AS
Oestre Aker vei 61 Postboks 81, Oekern NO-0508 Oslo 5 Tel +47 23052500 Fax +47 22 640 063.
Hilti Far East Private Ltd.
No 20 Harbour Drive, #06-06/08 PSA Vista SGP-Singapore 117612 Tel +65 65860303 Fax +65 67773755.
Hilti Slovakia spol. s r.o.
Galvaniho 7 SK-82104 Bratislava Tel +421 248 221 211 Fax +421 248 221 255.
Hilti, Inc.
5400 South 122nd East Ave. US-Tulsa, OK 74146 Tel +1 918 872 3000 Fax +1 918 254 0522.
Hilti (Ukraine) Ltd.
Bozhenka str. 86 UA-03680 Kyiv Tel +380 44 390 5564 Fax +380 44 390 5565.
Made in Germany
www.hilti.com Hilti = registered trademark of Hilti Corporation, Schaan, LI Printed in Germany © 2012 Right of technical changes reserved S.E. & O.































