SMC Heat Resistant Solid State Auto Switch Installation Guide
Safety Instructions
These safety instructions are intended to prevent hazardous situations and/or equipment damage. These instructions indicate the level of potential hazard with the labels of “Caution”, “Warning” or “Danger”.
They are all important notes for safety and must be followed in addition to International Standards (ISO/IEC)*1), and other safety regulations.
- ISO 4414: Pneumatic fluid power — General rules relating to systems.
ISO 4413: Hydraulic fluid power — General rules relating to systems.
IEC 60204-1: Safety of machinery — Electrical equipment of machines .(Part 1: General requirements)
ISO 10218: Manipulating industrial robots -Safety. etc.
Caution
Caution indicates a hazard with a low level of risk which, if not avoided, could
result in minor or moderate injury
Warning
Warning indicates a hazard with a medium level of risk which, if not avoided,
could result in death or serious injury.
Danger
Danger indicates a hazard with a high level of risk which, if not avoided, will
result in death or serious injury
Warning
- The compatibility of the product is the responsibility of the person who designs the equipment or decides its specifications.
Since the product specified here is used under various operating conditions, its compatibility with specific equipment must be decided by the person who designs the equipment or decides its specifications based on necessary analysis and test results.
The expected performance and safety assurance of the equipment will be the responsibility of the person who has determined its compatibility with the product.
This person should also continuously review all specifications of the product referring to its latest catalog information, with a view to giving due consideration to any possibility of equipment failure when configuring the equipment - Only personnel with appropriate training should operate machinery and equipment.
The product specified here may become unsafe if handled incorrectly.
The assembly, operation and maintenance of machines or equipment including our products must be performed by an operator who is appropriately trained and experienced. - Do not service or attempt to remove product and machinery/equipment until safety is confirmed.
- The inspection and maintenance of machinery/equipment should only be performed after measures to prevent falling or runaway of the driven objects have been confirmed.
- When the product is to be removed, confirm that the safety measures as mentioned above are implemented and the power from any appropriate source is cut, and read and understand the specific product precautions of all relevant products carefully.
- Before machinery/equipment is restarted, take measures to prevent unexpected operation and malfunction.
- Contact SMC beforehand and take special consideration of safety measures if the product is to be used in any of the following conditions.
- Conditions and environments outside of the given specifications, or use outdoors or in a place exposed to direct sunlight.
- Installation on equipment in conjunction with atomic energy, railways, air navigation, space, shipping, vehicles, military, medical treatment, combustion and recreation, or equipment in contact with food and beverages, emergency stop circuits, clutch and brake circuits in press applications, safety equipment or other applications unsuitable for the standard specifications described in the product catalog.
- An application which could have negative effects on people, property, or animals requiring special safety analysis.
- Use in an interlock circuit, which requires the provision of double interlock for possible failure by using a mechanical protective function, and periodical checks to confirm proper operation.
Caution
- The product is provided for use in manufacturing industries.
The product herein described is basically provided for peaceful use in manufacturing industries.
If considering using the product in other industries, consult SMC beforehand and exchange specifications or a contract if necessary.
If anything is unclear, contact your nearest sales branch.
Limited warranty and Disclaimer/Compliance Requirements
The product used is subject to the following “Limited warranty and Disclaimer” and “Compliance Requirements”.
Read and accept them before using the product.
Limited warranty and Disclaimer
- 1. The warranty period of the product is 1 year in service or 1.5 years after the product is delivered, whichever is first.*2)
Also, the product may have specified durability, running distance or replacement parts.
Please consult your nearest sales branch. - For any failure or damage reported within the warranty period which is clearly our
responsibility, a replacement product or necessary parts will be provided.
This limited warranty applies only to our product independently, and not to any other
damage incurred due to the failure of the product. - Prior to using SMC products, please read and understand the warranty terms and
disclaimers noted in the specified catalog for the particular products. *2) Vacuum pads are excluded from this 1 year warranty.
A vacuum pad is a consumable part, so it is warranted for a year after it is delivered. Also, even within the warranty period, the wear of a product due to the use of the
vacuum pad or failure due to the deterioration of rubber material are not covered by the limited warranty.
Compliance Requirements
- The use of SMC products with production equipment for the manufacture of weapons of mass destruction (WMD) or any other weapon is strictly prohibited.
- The exports of SMC products or technology from one country to another are govemed by the relevant security laws and regulation of the countries involved in the transaction. Prior to the shipment of a SMC product to another country, assure that all local rules goveming that export are known and followed.
Operator
- This operation manual is intended for those who have knowledge of machinery using pneumatic equipment, and have sufficient knowledge of assembly, operation and maintenance of such equipment. Only those persons are allowed to perform assembly, operation and maintenance.
- Read and understand this operation manual carefully before assembling, operating or providing maintenance to the product.
Warning
- Do not disassemble, modify (including changing the printed circuit board) or repair.
An injury or failure can result. - Do not operate the product outside of the specifications.
Do not use for flammable or harmful fluids.
Fire, malfunction, or damage to the product can result.
Verify the specifications before use. - Do not operate in an atmosphere containing flammable or explosive gases.
Fire or an explosion can result.
This product is not designed to be explosion proof. - If using the product in an interlocking circuit:
- Provide a double interlocking system, for example a mechanical system.
- Check the product regularly for proper operation.
Otherwise malfunction can result, causing an accident.
- The following instructions must be followed during maintenance:
- Turn off the power supply.
- Stop the air supply, exhaust the residual pressure and verify that the air is released before performing maintenance work.
Otherwise an injury can be caused.
Caution
- Do not touch terminals and printed circuit board inside the product.
Otherwise it can cause electric shock, malfunction or damage to the product can result. - After maintenance is complete, perform appropriate functional inspections.
Stop operation if the equipment does not function properly.
Safety cannot be assured in the case of unexpected malfunction.
NOTE
Follow the instructions given below when designing, selecting and handling the product.
- The instructions on design and selection (installation, wiring, environment, adjustment, operation, maintenance, etc.) described below must also be followed.
- Product specifications
- DC power supply to be used together must be UL 1310 class 2 power supply unit or UL recognized power supply with UL 1585 class 2 transformer.
- Use the specified voltage.
Otherwise failure or malfunction can result. - Do not place two or more actuators close together.
When using two or more actuators closely in parallel, keep a distance of at least 40 mm between the actuator tubes to prevent magnetic interference from affecting the product, which can cause malfunction. (If the distance is specified for the actuator, use that value.) - Detection by an Auto switch mounted in a mid-stroke position depends on the piston speed. Conditions must satisfy the equation below.
Wherein;
Maximum detectable piston speed = V [mm/s]
- Design the product to prevent reverse current when the circuit is opened or the product is forced to operate for operational check.
Reverse current can cause malfunction or damage to the product. - Reserve a space for maintenance.
Allow sufficient space for maintenance when designing the system.
- Product handling
- Installation
- Tighten to the specified tightening torque.
If the tightening torque is exceeded the mounting screws and brackets may be broken. If the tightening torque is insufficient, the product can be displaced. (Refer to “Mounting and Installation”.) - Be sure to ground terminal FG when using a commercially available switch-mode power supply.
- Never mount an actuator equipped with Auto switch in a location that will be used as a foothold.
The product may be damaged if excessive force is applied by stepping or climbing onto it. - Do not drop, hit or apply excessive shock to the Auto switch.
Otherwise damage to the internal parts can result, causing malfunction.
- Tighten to the specified tightening torque.
- Wiring
- Do not pull hard on the lead wire. In particular, never lift an Auto switch actuator by holding the lead wires.
Otherwise damage to the internal parts can result, causing malfunction. - Avoid repeatedly bending or stretching the lead wire, or placing heavy load on them.
Repetitive bending stress or tensile stress can cause the sheath of the wire to peel off, or breakage of the wire.
If the lead wire can move, fix it near the body of the product. - Wire correctly.
Incorrect wiring can break the product. - Do not perform wiring while the power is on.
Otherwise damage to the internal parts can result, causing malfunction. - Do not route wires and cables together with power or high voltage cables.
Otherwise the product can malfunction due to interference of noise and surge voltage from power and high voltage cables to the signal line. Route the wires (piping) of the product separately from power or high voltage cables. - Confirm proper insulation of wiring.
Poor insulation (interference from another circuit, poor insulation between terminals, etc.) can lead to excess
voltage or current being applied to the product, causing damage. - Design the system to prevent reverse current when the product is forced to operate for operational check.
Depending on the circuit used, insulation may not be maintained when operation is forced, allowing reverse current to flow, which can cause malfunction and damage the product. - Keep wiring as short as possible to prevent interference from electromagnetic noise and surge voltage.
Do not use a cable longer than 100 m. - Do not cut the lead wire between the sensor and amplifier.
It may malfunction after connecting it again.
- Do not pull hard on the lead wire. In particular, never lift an Auto switch actuator by holding the lead wires.
- Environment
- Pay attention to use the product in an atmosphere with accumulation of iron waste or close contact with magnetic substances.
When a large amount of iron waste such as machining chips or spatter has accumulated, or a magnetic substance(something attracted by a magnet) is brought into close proximity with the actuator, it may cause the Auto switch to malfunction due to weakening. - Do not use the product in an environment that is constantly exposed to the splash of water.
This can cause insulation failure or malfunction due to swelling of the potting resin. - Do not use in a place where the product could be splashed by oil or chemicals.
If the product is to be used in an environment containing oils or chemicals such as coolant or cleaning solvent, even for a short time, it may be adversely affected. (insulation failure, malfunction due to swelling of the potting resin, or hardening of the potting resin, or hardening of the lead wires) - Do not use the product in an environment where corrosive gases or fluids could be splashed.
Otherwise damage to the product and malfunction can result. - Do not use in an area where surges are generated.
If there is equipment which generates a large amount of surge (solenoid type lifter, high frequency induction furnace, motor, etc.) close to the actuator, this may cause deterioration or breakage of the internal circuit of the Auto switch. Avoid sources of surge generation and crossed lines. - Do not use a load which generates surge voltage.
When a surge-generating load such as a relay or solenoid is driven directly, use an Auto switch with a built-in surge absorbing element. - The product is CE marked, but not immune to lightning strikes. Take measures against lightning strikes in the system.
- Mount the product in a place that is not exposed to vibration or impact.
Otherwise failure or malfunction can result. - Do not use the product in an environment that is exposed to temperature cycle.
Heat cycles other than ordinary changes in temperature can adversely affect the inside of the product. - Do not expose the product to direct sunlight.
If using in a location directly exposed to sunlight, shade the product from the sunlight. Otherwise failure or malfunction can result. - Keep within the specified ambient temperature range.
Otherwise malfunction can result. - Do not operate close to a heat source, or in a location exposed to radiant heat. Otherwise malfunction can result.
- Pay attention to use the product in an atmosphere with accumulation of iron waste or close contact with magnetic substances.
- Adjustment and Operation
- Adjust the Auto switch in the middle of the operating range and then fix it.
Adjust the position of the Auto switch so that the piston stops in the middle of the operating area (where Auto switch
is in ON status).
Mounting the Auto switch close to the edge of the operating range can cause operation to be unstable. - Turn the power on after connecting a load.
If switched on with no load, excess current may flow, causing the product to break instantly
- Adjust the Auto switch in the middle of the operating range and then fix it.
- Maintenance
- Turn off the power supply, stop the supplied air, exhaust the residual pressure and verify the release of air before performing maintenance.
There is a risk of unexpected malfunction. - Perform regular maintenance and inspections.
There is a risk of unexpected malfunction. - Do not touch the terminals while the power is on.
Otherwise malfunction and damage to the product can result. - Do not use solvents such as benzene, thinner etc. to clean the Auto switch.
They could damage the surface of the body and erase the markings on the body.
Use a soft cloth to remove stains.
For heavy stains, use a cloth soaked with diluted neutral detergent and fully squeezed, then wipe up the stains again with a dry cloth.
- Turn off the power supply, stop the supplied air, exhaust the residual pressure and verify the release of air before performing maintenance.
- Other
- Contact SMC for information regarding water resistance, lead wire bend resistance.
- Contact SMC if there is a problem with the product’s ON/OFF positions (hysteresis).

- The resin housing can be discolored due to the operating environment.
Due to the characteristics of the material used, the resin housing can be discolored by sunlight, but there is no effect in strength and other characteristics.
- Installation
Model Indication and How to Order

Summary of Product parts
- Names of products

- Definition and terminology
Term Meaning 2 2-color indication Display method in which a red LED turns on when it is in the operating position, and a green LED turns on when it is in the optimum operating range. 
C Current leakage The current flowing to the load when the Auto switch turns off. H Hysteresis The difference between the points when the Auto switch turns on and off, which is provided to prevent chattering. 
I Internal voltage drop The voltage applied between the COM and signal line when the Auto switch turns on. L Load current The current flowing to the load when the Auto switch turns on. M Most sensitive position The center position of the sensor unit (which gets the strongest reaction of the sensor unit), which means the center position of an operating range as well. N Non-polarity A 2-wire type of connection which do not need care for polarity.
Like 2-wire connection, it is necessary to put a load to either of (+) or (-).S Sequence controller (PLC) The device to perform sequence control, which performs controlling such as receipt of inputs from the Auto switch along with programming and sending of the output to other machines. Solid state Auto switch Auto switch which generates on and off outputs with or without mechanical contact such as a transistor.
Mounting and Installation
- Installation
When mounting the Auto switch to the actuator, the appropriate mounting bracket should be used.
“How to mount” depends on the actuator type and bore size.
Please refer to the actuator catalogue.
For new Auto switch applications, confirm that the actuator includes a magnet before assembling the Auto switch and bracket.- Sensor unit
- Tightening torque
Use a watchmaker driver whose grip diameter is 5 to 6 mm when tightening the mounting screw.
M2.5 mount screw tightening torque shall be 0.05 to 0.15 Nm.
- Setting the detection position
Position the actuator at the end of the stroke.
Set the Auto switch in the center of position where the Auto switch green light is ON.
(Detecting actuator end)
Based on A and B dimensions in the actuator catalogue, set the Auto switch position.
During installation, perform adjustment while checking the operating conditions of the Auto switch.
- Tightening torque
- Amplifier unit
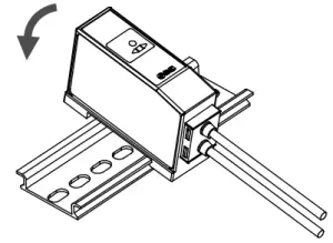
It needs for DIN terminal when mount to the Auto switch amplifier unit.- How to mount DIN terminal
As described below, hand the hook on the bottom of the body on DIN rail, and then push and hold them along with arrow mark.
For removal, pull them along with arrow mark by standard driver.
Remove
Mount
- Internal circuit
D-M9NJ#
D-M9PJ#
[Note] Please contact SMC if using AND connection.
- How to mount DIN terminal
- Sensor unit
Maintenance
How to reset the product for power loss or forcible de-energizing
Regarding set up, contents of the program may be maintained by customer’s application systems. Be sure to confirm safety when returning operation of the actuator because it could have been stopped in an unstable condition.
Troubleshooting
When the Auto switch in operation, identify the trouble with the following flow chart.
A failure of the Auto switch might depend on the operating environment (application etc.) and needs to be given a test by contacting to us separately.
Trouble list
| Trouble No. | Trouble | Possible cause | Investigation to find possible cause | Countermeasure |
| 1 | The Auto switch output does not turn off. The operation LED does not go off. | Malfunction due to magnetic field | The effect of magnetic field generated by adjacent actuator | Place a magnetic shield plate to the actuator. |
| Improper setting (mounting) position *: Narrow angle | The presence of the following conditions
| Displace the Auto switch set position from the center of the actuator operating range. | ||
| 2 | The Auto switch output does not turn off. The operation LED does not light up. | Product failure | Replace the Product. | |
| 3 | The Auto switch output does not turn off. The operation LED operates properly. | Incorrect wiring | Condition of connected part (connector contact pin and crimping terminal) | Correct wiring. (Perform wiring of connected part again.) |
| Trouble No. | Trouble | Possible cause | Investigation to find possible cause | Countermeasure |
| 4 | The Auto switch output does not turn on. The operation LED does not light up. | Power supply failure | Power supply voltage (zero or extremely low) | Adjust power supply voltage to a given value. (Refer to page 17 “Power supply voltage or Load voltage” in Specifications.) |
| Incorrect wiring | Voltage (load) applied to the Auto switch | Correct wiring. (Refer to page 11 “Internal circuit”.) | ||
| Improper setting (mounting) position | Detection close to the limit of Auto switch operating angle | Move the Auto switch to proper position (near the center of the Auto switch operating angle). | ||
| Displacement from set position | Looseness of the Auto switch unit or Auto switch mounting screw | Fix to proper position at the appropriate torque. | ||
| Displacement of the actuator stopping angle | Deviation of the actuator stopping angle (position) | Stabilize stop position. | ||
| Lowering of magnetic force for detection (demagnetization) | The presence of magnetic filed source near the actuator (electric welding machine conductor and strong magnet, etc.) | Place a magnetic shield plate between magnetic filed source and the actuator. | ||
| The effect of magnetic field generated by adjacent actuator (placed within 20mm) | Separate the actuator (by 40mm or more). Place a magnetic shield plate. | |||
| The presence of deposit of magnetic material (cutting chip) on the actuator | Remove the magnetic deposit. | |||
| Breakage of lead wire | The presence of repeated bending stress to a part of lead wire (bending radius, tensile force to the lead wire) | Correct wiring. (Adjust tensile force and enlarge bending radius.) | ||
| 5 | The Auto switch output does not turn on. The operation LED operates properly. | Incorrect wiring | Condition of connected part (connector contact pin and crimping terminal) | Correct wiring. (Perform wiring of connected part again.) |
| Trouble No. | Trouble | Possible cause | Investigation to find possible cause | Countermeasure |
| 6 | The operation is unstable. (chattering) | Improper setting (mounting) position | Detection close to the limit of Auto switch operating angle | Move the Auto switch to proper position (near the center of the Auto switch operating angle). |
| Displacement from set position | Looseness of the Auto switch unit or Auto switch mounting screw | Fix to proper position at the appropriate torque. | ||
| Incorrect wiring | Condition of connected part (connector contact pin and crimping terminal) | Correct wiring. (Perform wiring of connected part again.) | ||
| Breakage of lead wire | The presence of repeated bending stress to a part of lead wire (bending radius, tensile force to the lead wire) | Correct wiring. (Adjust tensile force and enlarge bending radius.) | ||
| Malfunction due to magnetic field | The presence of a magnetic field source near the actuator (actuator, electric welding machine conductor, motor, magnet etc.) | Place a magnetic shield plate between magnetic field source and the actuator, or separate magnetic field source from the actuator. Mounting bracket, bolt, mounting frame, and tools are changed to non-magnetic materials. | ||
| The Auto switch operates at multiple points. | Malfunction due to magnetic field | The effect of a magnetic field generated by adjacent actuator | Place a magnetic shield plate to the actuator. | |
| The load does not work. | Operating angle range detection at intermediate position | Satisfaction of the following relations by the actuator rotation speed Load operating time [s] < Auto switch operating angle range [mm]/Actuation operating speed [mm/s] | Decrease the actuating speed until specifications can be satisfied. |
Specification
- Specifications
Model D-M9NJ D-M9PJ Output type NPN type PNP type Power supply voltage 20 to 26 VDC Current consumption 25 mA or less Load voltage 28 VDC or less – Load current 40 mA or less Internal voltage drop 0.8 V or less Leakage current 100 µA or less at 24 VDC Indicator light Operating range: The red LED lights up.
Proper operating range: The green LED lights up.Lead wire Heat resistant lead wire (between sensor unit and amplifier unit) f3.4 Oilproof heavy-duty vinyl code (amplifier unit grommet) f3.4, 0.2 mm2, 3-wire, 3000 mm Impact resistance Sensor unit: 1000 m/s2, Amplifier unit: 300 m/s2 Insulation resistance 50 MΩ or more under the test voltage 500 VDC (between lead wire and case) Withstand voltage 1000 VAC, 1 min. (between lead wire and case) Ambient temperature Sensor unit: 0 to 150 oC, Amplifier unit: 0 to 60 oC Enclosure Sensor unit: IP67, Amplifier unit: IP63 (IEC60529) Standards CE, RoHS - Dimensions


4-14-1, Sotokanda, Chiyoda-ku, Tokyo 101-0021 JAPAN
Tel: + 81 3 5207 8249
Fax: +81 3 5298 5362
URL https://www.smcworld.com
Note: Specifications are subject to change without prior notice and any obligation on the part of the manufacturer.
© 2015-2020 SMC Corporation All Rights Reserved.































