
PAW-BTANK50L-2
SAFETY INSTRUCTIONS
1.1 General information
- Read the following safety instructions carefully before installing, maintaining, or adjusting the buffer tank.
- Personal injury or material damage may result if the product is not installed or used in an intended manner.
- Keep this manual and other relevant documents where they are accessible for future reference.
- The manufacturer presupposes compliance (by the end-user) with the safety, operating and maintenance instructions supplied and with the installation manual and relevant standards and regulations in effect at the date of installation.
Symbols used in this manual:
| Could cause serious injury or death | |
| Could cause minor or moderate injury or damage to property | |
| DO NOT | |
| SHALL BE DONE |
This document shall be kept in a suitable place where it is accessible for future reference.
1.2 Safety instructions for users
| The appliance may be used by children older than 8 years old, elderly persons, and persons with physical, sensory, or mental disabilities or lacking experience and knowledge, if they are under supervision or taught about the safe use of the appliance and if they are aware of the potential dangers. | |
| Children shall not play with the appliance. | |
| Children shall not clean or perform maintenance on the appliance without supervision. | |
| Installation shall be carried out in accordance with the valid regulations and according to the instructions of the manufacturer and by qualified staff. | |
| In a closed, pressurised system of installation, it is obligatory to install a safety valve on the system with rated pressure of max. 0.3 MPa (3 bar) (see the label), which prevents the elevation of pressure in the buffer by more than 0.1 MPa (1 bar) above the rated pressure. | |
| The outlet of the safety valve shall be installed facing downwards and in a non-freezing area. | |
| To ensure the proper functioning of the safety valve, the user shall perform regular controls to remove the limescale and make sure the safety valve is not blocked. | |
| Do not install a stop valve between the buffer and the safety valve, because it will impair the pressure protection of the buffer! | |
| If the system has to be switched off, please drain any water from the buffer to prevent freezing. | |
| Please do not try to fix any defects of the buffer on your own. Call the nearest authorized service provider. | |
PRODUCT DESCRIPTION
2.1 Product identification
Identification details for your product can be found on the type plate fixed to the product. The type plate contains details of the product in accordance with EN 12897:2016 as well as other useful data. See Declaration of Conformity at the manufacturers’ for more information. The product is designed and manufactured in accordance with:
• Pressure vessel standard EN 12897:2016
The manufacturer is certified according to the following standards:
• Welding quality EN ISO 3834-2
• Quality ISO 9001
• Environment ISO 14001
• Work environment OHSAS 18001
2.2 Intended use
The PAW-BTANK50L-2 is designed for use as a buffer tank for both heating and cooling systems.
2.3 CE marking
The CE mark shows that the product complies with the relevant Directives. See Declaration of Conformity at the manufacturers’ website for more information.
The Product complies with the following directive(s):
• Pressure Equipment Directive PED 2014/68/EU The safety valve(s) used must be CE marked and conform to PED 2014/68/EU.
Technical data
| Product No. | Product code: | Capacity persons | Weight kg. | DiaxHeight- mm. | Freight vol. m3 | Thermostat setting °C | Volume 40°C | Heat-up time At 65°C | Heat loss W |
| 80341985 | PAW-BTANK5OL-2 | – | 17 | es430x636 | 0,18 | – | – | – | 35 |
ERP data – Technical Data Sheet
| Brand | Model-no. | Model name | ERP profile | ERP Rating | AEC – kWh/a | Thermostat setting C | Heat loss W | Actual volume L | |
| PAW | 80341985 | PAW-BTANK50L-2 | B | 35 | 48 | ||||
| Directive: 2010/30/EU Regulation: EU 812/2013 | Directive 2009/125/EC Regulation: EU 814/2013 | ||||||||
| Heat loss tested acc. to standard: EN 12897: 2015 | |||||||||
INSTALLATION INSTRUCTIONS
3.1 Products covered by these instructions
80341985 PAW-BTANK50L-2
3.2 Included in delivery
| Ref no. | Pcs. | Description |
| 1 | 1 | Buffer tank with sensor bracket |
| 2 | 1 | Manual (this document) |
| 3 | 1 | An automatic air vent (included) |
| 4 | 1 | Drain cock (included) |
| 5 | 1 | Stainless steel wall bracket (included) |
| 6 | 2 | 1″ brass plug with o-ring seal (included) |
3.2.1 Spare parts list
| Ref no. | Part No. | Description |
| 3 | 765063 | 1/2″ M Automatic air vent |
| 4 | 514178 | 1/4″ M Drain cock |
| 6 | 514177 | 1″ M Brass plug with o-ring seal |
3.3 Product dimensions
All dimensions in mm.
| Product | A | B | C | D | E | 0 |
| PAW-BANKS-2 | 716 | 636 | 230 | 192 | 96 | 430 |
Tolerance +/- 5 mm
3.3.1 Delivery
The product shall be transported carefully as shown, with packaging. Use the handles in the box.
CAUTION
Pipe stubs, valves, etc. shall not be used to lift the product as this could cause malfunctions.
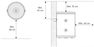
3.4 Requirements for installation location and positioning
| The product shall be placed in a room with a drain to prevent any damages in case of water escaping from the product. | |
| The product shall be placed in a dry and permanently frost-free position. | |
| The product shall be placed on a floor or wall suitable for the total weight of the product when in operation. See table in page 5. Wall bracket is supplied. | |
| The product must have clearance for servicing of 40 cm in front of the unit / 10 cm over the top connection. | |
| The product shall be easily accessible for servicing and maintenance. | |


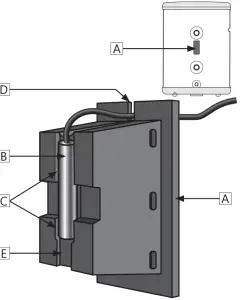
3.4.1 Temperature sensor installation
The product is equipped with a temperature sensor bracket which allows installation of a 6 or 8 mm. temperature sensor. To install the temperature sensor follow the instructions below.
1. Remove temperature sensor bracket (A) from the tank body by gripping it and pulling it straight out.
2. Insert temperature sensor (B) firmly into the appropriate grooves in the sensor bracket and place the temperature sensor cable in the cable slot (D).
An 8 mm. sensor (shown) fits in the upper grooves (C) while a 6 mm. sensor fits in the lower groove (E).
3. Refit the sensor bracket into the tank body, ensuring the bracket is inserted fully to establish proper contact between the sensor and the stainless steel inner tank surface. Make sure the sensor cable is positioned properly in the cable slot (D) to avoid potential damage to the cable.
3.5 Pipe installation
The product is designed to be permanently connected to the heating system, max. pressure 3 bar / 0,3 MPa. Approved pipes of the correct size should be used for installation. The relevant standards and regulations must be followed.
| No. | Dimension | Connection description |
| 1 | 1/2″ BSPP female | Venting |
| 2 | 1″ BSPP female | Flow/ret. connection upper |
| 3 | 1″ BSPP female | Flow/ret. connection lower |
| 4 | 1/4″ BSPP female | Drain |

3.5.1 Pipe and plug fitting
A) Run pipes of the suitable size to the connections shown (2 and 3), and affix them with a suitable sealant.
B) Unused connections must be plugged securely. Use the provided 1” brass plugs. Ensure the o-ring seal (6) is placed correctly in the o-ring groove (5) before fitting.
C) Fit Automatic air vent valve to venting connection (1) after filling. See pt. 4.1.
D) Fit Drain cock to drain connection (4).
3.5.2 Torque settings
| Component | Torque | |
| Automatic air vent valve – 1/2″ | 5 Nm (+/-1 – hand force) | |
| Drain cock- 1/4″ | 6 Nm (+/-1) | |
| Brass plug – 1″ | 40 Nm (+/-5) | |
3.5.3 Fitting instructions
| The product shall be placed in a room with a drain to prevent any damages in case of water escaping from the product. | |
| The product shall be properly aligned vertically and horizontally, on a floor or wall suitable for the total weight of the product when in operation. See type plate. | |
| The product must have clearance for servicing of 40 cm in front of the unit / 10 cm over the top connection. | |
| A CE-marked safety valve with a set pressure 3 bar must be fitted in the system. | |
INITIAL COMMISSIONING
4.1 Filling with water
First, check that all pipes are connected correctly.
Then do the following:
A) Vent the system, preferably at its highest point.
B) Open water supply to the product. When water flows out of the vent the system is full.
C) Fit the Automatic air vent valve (1) to the top connection, max. torque 5 Nm.
4.2 Control points
A) Check that all pipe connections to/from the
product are tight and not leaking.
B) Check that the product is standing/hanging
level vertically and horizontally.
4.3 Draining
WARNING
The water temperature in the product is high and could cause scalding. Special care should therefore be taken when emptying the product.
A) Disconnect the power supply.
B) Shut off the incoming water supply.
C) Open the air vent valve (2). Leave open while emptying (prevents vacuum).
D) The product is emptied via the drain cock (2). After emptying, close the drain cock (2).
E) Close air vent valve (1).
4.4 Handover to end-user
| THE INSTALLER MUST: |
| Brief the end-user on safety and maintenance instructions. |
| Brief the end-user on settings and emptying the product. |
| Hand this installation manual over to the end-user. |
| Enter contact details on the type plate on the product. |
WARRANTY CONDITIONS
WARRANTY
1. Scope
The Distributor warrants for 2 years from the date of purchase, that the Product will: i) conform to specification, ii) be free from defects in materials and workmanship, subject to conditions below.
The warranty only applies to Products purchased by a consumer, that has been installed for private use and that has been sold by the Distributor or a designated retailer where the Products have been originally sold by the Distributor.
The warranty does not apply to Products purchased by commercial entities or for Products that have been installed for commercial use. These shall be subject only to the mandatory provisions of the law. The conditions and limitations set out below shall apply.
2. Coverage
If a defect arises and a valid claim is received within the statutory warranty period, at its option and to the extent permitted by law, the Distributor shall either; i) repair the defect, or; ii) replace the product with a product that is identical or similar in function, or; iii) refund the purchase price.
Any exchanged Product or component will become the legal property of the Distributor. Any valid claim or service does not extend the original warranty. The replacement Product or part does not carry a new warranty.
3. Conditions
The warranty applies only if the conditions set out below are met in full:
- The Product has been installed by a professional installer, in accordance with the instructions in the installation manual and all relevant Codes of Practice and Regulations in force at the time of installation.
- The Product has not been modified in any way, tampered with, or subjected to misuse and no factory-fitted parts have been removed for unauthorized repair or replacement.
- The Product has only been connected to a closed heating circuit filled with domestic water in compliance with the European Drinking Water Directive EN 98/83 EC. The
water should not be aggressive, i.e. the water chemistry shall comply with the following: - Chloride < 250 mg / L
- Total Dissolved Solids (TDS) < 500 mg / L
- Saturation Index (LSI) @ 80°C < 0,8
- pH level < 9,5 / > 6,0
- Any disinfection has been carried out without affecting the Product in any way whatsoever. The Product shall be isolated from any system chlorination.
- Service and/or repair shall be done according to the installation manual and all relevant codes of practice. Any replacement parts used shall be original spare parts supplied by the Distributor.
- Any third-party costs associated with any claim have been authorized in advance by the Distributor in writing.
- The purchase invoice and/or installation and servicing invoice, a water sample as well as the defective product is made available to the Distributor upon request.
Failure to follow these instructions and conditions may result in product failure, and water escaping from the Product.
Limitations
The warranty does not cover:
- Any fault or costs arising from incorrect installation, incorrect application, lack of regular maintenance in accordance with the installation manual, neglect, accidental or malicious damage, misuse, any alteration, tampering or repair carried out by a non-professional, any fault arising from the tampering with or removal of any factory-fitted safety components or measures.
- Any consequential damage or any indirect loss caused by any failure or malfunction of the Product whatsoever.
- Any pipework or any equipment connect- ed to the Product.
- The effects of frost, lightning, voltage variation, lack of water, dry boiling, excess pressure or chlorination procedures.
- Damage caused during transportation. The buyer shall give the carrier notice of such damage.
- Costs arise if the Product is not immediately accessible for servicing.
These warranties do not affect the Buyer’s statutory rights.
DISPOSING OF THE PRODUCT
Information for users on collection and disposal of old equipment:
6.1 Disposal
The shown symbols on the products, packaging, and/or accompanying documents mean that used electrical and electronic products should not be mixed with general household waste.
For proper treatment, recovery, and recycling of old products, please bring them to applicable collection points in accordance with your national legislation and the Directives 2002/96 EC and 2006/66 EC.
By disposing of these products correctly, you will help save valuable resources and prevent any potential negative effects on human health and the environment which could otherwise arise from inappropriate waste handling.
For more information about the collection and recycling of old products, please contact your local municipality, your waste disposal service or the point of sale where you purchased the item(s). Penalties may be applicable for incorrect disposal of this waste, in accordance with national legislation.
6.1.1 For business users in the European Union:
If you wish to discard electrical and electronic equipment, please contact your dealer or supplier for further information.
6.1.2. Information on disposal in other countries outside the European Union
These symbols are only valid in the European Union. If you wish to discard these items, please contact your local authorities or dealer and ask for the correct method of disposal.
© This installation manual and all its content is protected by copyright and may be reproduced or distributed only with written consent from the manufacturer. We reserve the right to make changes without notice.
Manufactured by OSO Hotwater AS
Industriveien 1 – 3300
Hokksund – Norway
Tel: +47 32 25 00 00
E-mail: [email protected]
www.osohotwater.com


















