GIRA 2473 00 RTC 24 V with NC, NO Contact 1-Way Switch and Control Light

Safety instructions
Electrical devices may only be mounted and connected by electrically skilled persons. Serious injuries, fire or property damage possible. Please read and follow manual fully. Danger of electric shock. During installation and cable routing, comply with the regulations and standards which apply for SELV circuits. This manual is an integral part of the product, and must remain with the end customer.
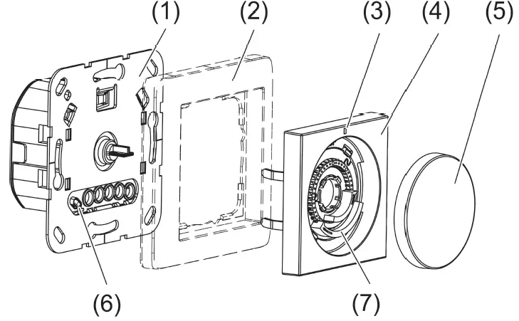
Device components

- Device components
- Room temperature controller insert
- Cover frame
- Status LED
- Central plate
- Control knob
- Internal temperature sensor
- Adjustment rings temperature limit
- During renovation work, the temperature sensor (6) must not become dirty or be painted over.
Intended use
- Electronic room temperature controller for controlling electrothermal valve drives for AC 24 V
- Control of the room temperature in closed rooms
- Mounting in appliance box with dimensions according to DIN 49073
Product characteristics
- Manually setting a comfort temperature
- Manually switching off the temperature control
- Input terminal for activation of reduction temperature (ECO) via central clock
- Input terminal for activating the cooling mode via central control
- Internal temperature sensor
- Frost protection function
- Temperature drop detection (adjusting to frost protection temperature when window is opened)
- Controller output working method: pulse width modulation (PWM) or two-point switchable
- Adaptation to valve type (deenergized opened or deenergised closed, switch-able)
- Offset adjustment (correction value for measured temperature)
- Valve protection function (once a week opening and closing of valve)
Functional description
Lowering mode (ECO)
In many areas of the building it makes sense for the temperature to be set to a lower level at certain times rather than to heat permanently to the comfort temperature. By connecting the input terminal Ø to 24 V, the temperature is reduced by 4 °C. This should be controlled by a central clock.
Cooling mode
Modern heat pump systems often also provide the option of cooling rooms. In cooling mode, it is possible to change the cooling temperature using the control knob. Switching between heating and cooling mode is done via the control knob or by wiring the input terminal “C” with 24 V.
Temperature drop detection
In the event of a sharp drop in temperature, e.g. after opening a window, the system regulates to the frost protection temperature of 5 °C for a maximum of 30 minutes. Pressing or turning the control knob cancels the operation.
Offset
This function allows the adjustment of the position of the control knob so that it cor-responds to the room temperature. Thus, the indication of the temperature via the control button is comparable in different rooms. An adaptation of up to +/- 3 °C is possible.
Controller adaptation
Depending on the heating system, the control behaviour can be adjusted.
Pulse width modulated control (factory setting): Optimised for electrothermal valve drives (see Technical data): The output is not permanently actuated, but for a time period (pulse width) that depends on the difference between setpoint and actual tem-perature. This method brings the actual temperature gradually closer to the setpoint temperature.
Two-point control: The output remains switched on until the selected setpoint temper-ature has been exceeded by 0.5 °C. The output will not be switched on again until the setpoint value is undercut by 0.5 °C. Since most heating systems respond very slowly, this type of control can entail temperature overshooting.
Setting the valve type
Depending on the electrothermal valve drive used, an adaptation to the valve type must be made. There are valve drives where the valve is opened (deenergised opened) or closed (deenergised closed, factory setting) when no supply voltage is applied.
Operation
Brief overview
| Function | Control knob | Status LED | LED colour |
| Change room temperature | … turn right or left | maximum 2 minutes | Red = heating mode Blue = cooling mode Orange = frost protection (10 seconds) |
| Display operating mode | … press briefly | 10 seconds. | Red = heating mode Blue = cooling mode Orange = frost protection |
Increasing or reducing the room temperature
- Turn the control knob to the right or left. If the setpoint temperature is not reached, the LED lights up for a maximum of 2 minutes in the colour of the current operating mode. In the middle position, the device regulates to approx. 20 °C setpoint temperature. The room temperature reached depends on the installation location of the device and the ambient conditions. The lowest setpoint temperature is approx. 5 °C and the highest setpoint temperature is approx. 30 °C.

Adjustment rings for temperature limit
Indication of the current operating mode
- Press the control knob briefly.
The LED lights up for 10 seconds in the colour of the current operating mode. Orange = frost protection, blue = cooling mode, red = heating mode.
Switching off the temperature control
- Press the control knob for longer than 2 seconds until the LED lights up orange.
The device has switched to frost protection. The frost protection prevents the temperature from falling below 5 °C. Each time the control knob is turned, the LED lights up orange for 10 seconds.
- To activate the temperature control, press the control knob again for more than two seconds.
The device switches back to the previous operating mode. The LED lights up for 10 seconds.
Red = heating mode, blue = cooling mode.
Manual switching between heating and cooling mode
If 24 V is present at the input terminal C, manual switching to heating mode is not possible.
- Press the control knob for longer than 4 seconds until the LED flashes red in active heating mode or flashes blue in cooling mode.
- Briefly press the control knob again to change the operating mode.
- Press the control knob for longer than one second until the LED lights up continuously to accept the displayed operating mode.
After 10 seconds without actuation, the displayed operating mode is automatically adopted.
Red = heating mode, blue = cooling mode.
Information for electrically skilled persons
Selecting a suitable installation location.
- Recommended installation height: 1.50 m on interior walls
- Do not mount the device near sources of interference, such as ovens, refrigerators, draughts (e.g. next to the door) or direct sunlight. This affects the tem-perature measurement of the internal temperature sensor.
- Do not mount the device within shelf walls or behind curtains and similar covers
- Do not use the device in multiple combinations with heat-generating devices such as dimmers
DANGER!
Mortal danger of electric shock. Disconnect the device. Cover up live parts.
Connecting and fitting the device
- Connect electrothermal valve drive (10) to insert (1) according to connection diagram .

- Connection example of the insert
Observe the conductor cross-sections.
- Clampable conductor cross-section
- Optionally, connect the lowering mode input Ø via a switching contact of a central clock (8).
If 24 V is applied to the input, the setpoint temperature is reduced by 4 °C.
- Optionally, connect the cooling input C via a switching contact of the heating system (9).
If 24 V is applied to input C, the cooling mode is active. If 24 V is switched off, the device automatically switches to heating mode.
After each switchover, the LED lights up for 10 seconds in the colour of the current operating mode.
- Fit device in appliance box; terminals must be at the bottom.
- Fit cover frame (2), central plate (4) and control knob (5).
- Switch on supply voltage.
Commissioning
Setting the control mode and valve type
Default setting:
- Pulse width modulated control (PWM)
- Valve type deenergised closed (NC)
This setting can be used with most heating systems without adaptation.
Changing the settings
- Press the control knob for longer than 20 seconds.
The LED flashes green for PWM control and green/blue for 2-point control.
- Press the control knob briefly: The control behaviour is changed.
- Press the control knob for longer than one second: The control behaviour is saved.
Adapting the valve type.
The LED flashes red for valve type “deenergized closed” (NC) and red/blue for valve type “deenergized opened” (NO).
- Press the control knob briefly: The valve type is changed.
- Press the control knob for longer than one second: The valve type is saved. The setting mode is exited automatically.
- After approx. 2 minutes without any operation the menu is exited without sav-ing.
Setting the temperature limits
The room temperature controller has a setting range of 5 … 30 °C. The adjustment rings on the central plate can be used to limit the temperature setting range.
- The specified temperature values may deviate from the actual room temperat-ure depending on the installation location.
- Pull the control knob (5) off the central plate (4) so that the adjustment rings (7) are visible (see figure 4). The temperature values shown in the picture are for orientation purposes.
- Turn the large blue adjustment ring clockwise to the desired minimum temper-ature. Each notch corresponds to a change of about 1 °C.
- Turn the small red adjustment ring anticlockwise to the desired maximum tem-perature.
- Replace the control knob, observing the coding of the control knob and rotary axle.
Setting the offset
This function allows the adjustment of the position of the control knob so that it cor-responds to the room temperature. Thus, the indication of the temperature via the control button is comparable in different rooms. An adaptation of up to +/- 3 °C is possible.
- This setting is only possible if the lower temperature limit has not been raised by the blue setting ring (see Setting the temperature limits).
Precondition: The desired setpoint temperature has been reached in the room.
- Turn the control knob to 5 °C (left stop) and press twice in quick succession (double-click).
The LED flashes quickly, alternately red and green.
- Turn the control knob to the desired position for the current room temperature and press it for longer than one second.
The control knob position is saved and the LED lights up green for 5 seconds. If the LED flashes red for 5 seconds, the change was greater than +/- 3 °C and the adaptation is discarded.
Technical data
| Rated voltage | AC 24 V SELV (± 10%) |
| Mains frequency | 50 / 60 Hz |
| Standby power | max. 0.1 W |
| Connected load | max. 24 W |
| Connection: Thermal valve drive 24 V~ ordering no.: 2179 00 | |
| Number valve drive | 1 … 5 |
| Ambient temperature | -5 … +45 °C |
| Storage/transport temperature | -25 … +70 °C |
| Cable length inputs | max. 100 m |
| Controller class (EU 811/2013) | IV |
| Contribution to energy efficiency | 2% |
| Data according to EN 60730-1 | |
| Type of action | 1.Y |
| Degree of soiling | 2 |
| Measured surge voltage | 1500 V |
Warranty
The warranty is provided in accordance with statutory requirements via the specialist trade. Please submit or send faulty devices postage paid together with an error description to your responsible salesperson (specialist trade/installation company/elec-trical specialist trade). They will forward the devices to the Gira Service Center.
Gira
Giersiepen GmbH & Co. KG
Elektro-Installations-
Systeme
Industriegebiet Mermbach
Dahlienstraße
42477 Radevormwald
Postfach 12 20
42461 Radevormwald
Deutschland
Tel +49(0)21 95 – 602-0
Fax +49(0)21 95 – 602-191
www.gira.de
[email protected]























