Installation instructions only for qualified electricians
Wireless operating unit
5212 16
http://b.gira.de/521203
General safety instructions
This product contains batteries. Do not swallow batteries. Risk of burns from hazardous materials. Immediately seek medical attention if batteries have been swallowed or inserted into any part of the body. Keep new and used batteries away from children. Danger of acid burns from bursting or leaking batteries. Risk of explosion if the battery is replaced with a different type of battery. These instructions are part of the product and must remain with the end customer.
Observe the commissioning order
Commissioning order for the security system Alarm Connect:
- Mount the alarm control unit and put it into commission (battery and 230 V connection).
- Configure the project in the GPA and transfer it to the alarm control unit memory.
- Install all other devices, put them into commission (insert batteries, etc.), and check the wireless connection to the alarm control unit.
- After successful verification, set the alarm control unit to operation mode. Failure to observe the commissioning sequence will render the commissioning of the safety system unsuccessful.
Product features
The wireless operating unit is the interface between the system and the end user in the security system Alarm Connect. The following actions can be carried out using the wireless operating unit:
- Display and acknowledge alarms and status messages.
- Change the status of the security area (e.g. to “externally armed”)
- Trigger a manual alarm (e.g. panic alarm) by entering a code.
Sticker with Hardware ID
The device comes with two stickers with the Hardware ID. You can use one of the two stickers for your site map and simply scan the Hardware ID with an appropriate scanner during configuration in GPA.
Included in delivery
- 1 x wireless operating unit
- 1 x set of mounting hardware
- 1 x mounting frame
- 4 x batteries
- 1x operating instructions
- 2 x sticker with Hardware ID
Ensure the package contents are complete and undamaged. Please see “Warranty” in case of any defects.
Required accessories
- Alarm control unit Connect (item no. 5201 00)
Accessories
- 12 V DC flush-mounted power supply (item no. 5219 00)
- Door module (item no. 5216 00)
- Device carrier, surface-mounted (item no. 5213 16)
Device description

Front
- Status LED
- Display
- Control panel Rear
- Tamper contact (sabotage contact)
- Battery compartment (under cover)
- Adapter interface
Mounting frame

- Mounting frame
- Contact surface for tamper contact
Power supply via internal batteries
Wireless operating unit with battery supply
If the internal batteries are used for the power supply, the continuous illumination feature of the display is deactivated to ensure that the internal batteries last as long as possible.
Wireless operating unit with external power supply
If a flush-mounted power supply DC 12 V is used, the internal batteries are only used for emergency power supply in the event of a mains power failure.
If a flush-mounted power supply is used, the mounting frame must be replaced with the surface-mounted device carrier (see accessories).
Selecting the installation site
Note the following:
- One wireless operating unit per security area (VdS specification).
- Do not mount in a directly visible location.
- Recommended mounting height (Display): ca. 1.5 m.
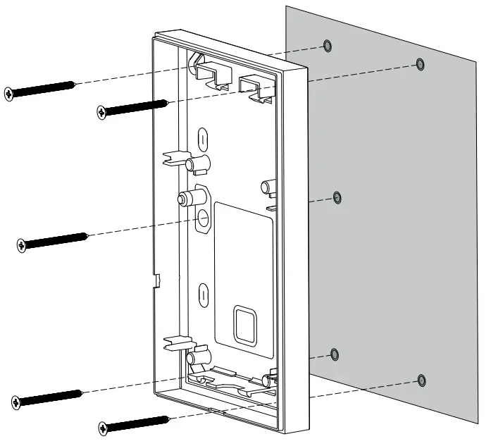
Mounting the wireless operating unit
The assembly process is shown below with the enclosed mounting frame.
- Detach the wireless operating unit from the mounting frame with the unlocking tool (included with the alarm control unit Connect). The tamper alarm is triggered.

- Align the mounting frame, mark the drilling holes, drill and insert wall plugs.

- The disconnecting surface of the tamper contact (see arrow) must be secured with a screw.

Commissioning the control unit
Conditions for device commissioning
The project must first be successfully commissioned in GPA (see “Commissioning order”).
Gira Project Assistant (GPA)
The security system Alarm Connect is configured via GPA. The following settings are made in GPA for the wireless operating unit:
- Enter hardware ID.
- Assign device name.
- Set up users and assign rights.
- Put the project into commission.
- Parameterize the wireless operating unit in GPA and put the project into commission.
- Open the battery compartment and insert the batteries (observe polarity and charge status! Only insert new batteries. Do not mix batteries at different states of charge). Wait for the initialization phase. The wireless motion detector is automatically detected by the alarm control unit Connect.
Batteries inserted too early
If the units have been activated before start-up, they are in “sleep mode” and can no longer connect to the alarm center. Inthis case, the batteries must be removed and reinserted.
- Attach the wireless control unit to the mounting frame (attach from above and swivel in from below).

Status LED
| Behavior | Meaning |
| Lights up continuously green* | Operating mode |
| Lights up continuously red | |
| Alternates quickly between green and red | Initialization phase |
| Blinks red, quickly and for a max. of 10 s | Error initialization phase |
| Blinks green, quickly and for a max. of 5 s | Registration phase |
| Lights up green for approx. 3 s, then turns off | Registration successful |
| Blinks red in short intervals for a max. of 10 s error | Registration |
| Blinks green, quickly every | |
2 s and in cases of a status change, 1x quick red flash Test run
*only with external power supply
Stand-by mode
After commissioning of the device, communication must take place between the device and the alarm control unit Connect within 7 min. After 7 min the device automatically switches to standby mode. If the device does not receive a signal from the alarm control unit Connect within the 7 min period, the standby mode can not be ended automatically. The device must then be reactivated (remove and replace the battery) so that communication can be established with the alarm control unit Connect. Always observe the commissioning order.
Check the signal quality of the wireless connection
Check the wireless connection to the alarm control unit
Check the signal quality of the wireless connection between the alarm control unit Connect and the device.
- Activate the test mode in the GPA under [security system] -> [Diagnosis and test].
- The wireless operating unit automatically sends a signal.
- Check the signal quality in GPA.
Bad signal quality: The use of a wireless repeater to improve the signal is not possible. Reposition the wireless operating unit and recheck the signal quality. Good signal quality: End test mode.
Replacing the battery
Detailed information on changing the battery can be found in the separate operating instructions for the wireless operating unit.
Technical data
| Power supply: | |
| Internal: | Type C: for battery operation only |
| External (additional): | Type B: When connecting to DC 12 V |
| Battery | |
| Type: | Lithium-ion, CR123A |
| Capacity: | 1.4 Ah |
| Voltage: | DC 3 V |
| Quantity: | 4 |
| “Low battery” level at: | 2.5 V |
| Battery life | |
| Under battery operation: | approx. 1.5 years |
| With DC 12 V power supply: | approx. 5 years |
| Power consumption | |
| Transmitting mode (battery): | 110 mA |
| Stand-by mode (battery): | < 20 μA |
| Transmitting mode (12 V): | 60 mA |
| Stand-by mode (12 V): | < 1 mA |
| Wireless | |
| Frequency band: | 868.0 – 868.6 MHz 868.7 – 869.2 MHz |
| Transmission capacity: | max. 10 mW |
| Range: | 100 m (free field) |
| Device – general | |
| Connections: | DC 12 V |
| Optical display: | Display 25 x 75 mm Status LED (red/ green) Info LED (green/ yellow) |
| Mounting height of Display (recommended): | approx. 1.5 m |
| Operating elements: | 20 capacitive buttons |
| Ambient temperature: | 2 |
| Humidity: | 93% |
| Security class: | 2 |
| Environmental class: | II |
| Compliant with: | EN 50131 EN 301489-1 EN 301489-3 EN 61000-6-3 EN 50130-4 EN 300220-1 EN 300220-2 EN 62368-1 EN 50130-5 EN 50131-1 EN 50131-3 EN 50131-6 EN 50131-5-3 |
| Certification body: | Telefication B.V. |
| Dimensions of housing | |
| (H x W x D): | 170 x 95 x 10 mm |
Conformity
Gira Giersiepen GmbH & Co. KG hereby declares that the wireless system type item no. 5212 16 conforms to Directive 2014/53/EU. The item number can be found
on the device. The complete text of the EU Declaration of Conformity can be found either in the download area (gira.de/Konformitaet), or directly via the online catalog at the product (katalog.gira.de).
Disposal
The Gira wireless operating unit is an electric and electronic device in the sense of Directive 2012/19/EU. High-quality materials and components were used in developing and manufacturing the device. These materials and components can be reused and recycled. Please consult the regulations governing the separate collection of electric/electronic waste applicable for your country. These devices may not be disposed of with household waste. The correct disposal of waste can prevent possible negative consequences to the environment and humans.
Warranty
The warranty is provided in accordance with statutory requirements via the retailer. Please submit or send faulty devices postage paid and with an error description to your sales representative (retailer/installation company/electrical contractor). The salesperson will forward the devices to the Gira Service Centre.
Gira
Gira
Giersiepen GmbH & Co KG
Electrical installation systems
P.O. Box 1220
42461 Radevormwald
Phone: +49 2195 602 – 0
Fax: +49 2195 602 – 191
[email protected]
Gira
Giersiepen GmbH & Co KG
Electrical installation systems
P.O. Box 1220
42461 Radevormwald
Phone: +49 2195 602 – 0
Fax: +49 2195 602 – 191
[email protected]
www.gira.de
























