Operating instructions
Wireless outdoor siren
5261 16
10869902 34/22
General safety instructions
Improper installation may result in serious injury, e.g. from electrical shock or fire, as well as equipment damage.
This product contains batteries.
Do not swallow batteries. Risk of burns from hazardous materials. Immediately seek medical attention if batteries have been swallowed or inserted into any part of the body.
Keep new and used batteries away from children. These instructions are part of the product and must remain with the end customer.
Observe the commissioning order
Commissioning order for the security system Alarm Connect:
- Mount the alarm control unit and put it into commission (battery and 230 V connection).
- Configure the project in the GPA and transfer it to the alarm control unit memory.
- Install all other devices, put into commission (insert batteries, etc.) and check the wireless connection to the alarm control unit.
- After successful verification, set the alarm control unit to operation mode.
Failure to observe the commissioning sequence will render commissioning of the safety system unsuccessful.
Product features
The wireless outdoor siren is used to display and sound an optical and acoustic alarm for outdoor use.
Product properties
- Loud signal tone (approx. 110 dB(A)).
- Dual integrated tamper protection (against opening of cover and wrenching out of housing).
- Only for outdoor use.
Sticker with Hardware ID
The device comes with two stickers with the Hardware ID. You can use one of the two stickers for your site map and simply scan the Hardware ID with an appropriate scanner during configuration in GPA.
Included in delivery
- 1 x wireless outdoor siren
- 1 x set of mounting hardware
- 1 x battery pack (item no. 05291 00)
- 1 x operating instructions
- 2 x stickers with Hardware ID
Ensure the package contents are complete and undamaged. Please see “Warranty” in case of any defects.
Required accessories
- Alarm control unit Connect
(item no. 5201 00) - Wireless operation unit
(item no. 5212 16)
Accessories
- Power supply DC 12 V, 2 A (e. g. item no. 5319 00)
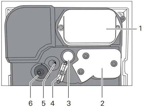
Device description

- Upper housing section
- Lower housing section

- Cover: Battery compartment
- Cover: Cable connection
- Opening: Cable bushing
- Strain relief
- Mounting the fixing screw
- Tamper contact
Selecting the installation site
Selecting the installation site
Please note the following when selecting the installation site:
- Only mount vertically, with the flashlight facing downwards.
- The wireless outdoor siren should be clearly visible and still audible.
- Select the installation site in such a way that the wireless outdoor siren is difficult to access (at a height of at least 3 m), and protected against mechanical influences and impact.
Installing the wireless outdoor siren
Installation with internal power supply
1. Loosen the two screws (A) included in the upper housing section and remove the upper housing section.
1.

2.

2. Align the lower housing section, mark the drilling holes, drill and insert wall plugs.
3. Attach the lower housing section.
4. The disconnecting surface of the tamper contact must be secured with a screw.
5. Mount the cover of the cable connection and the strain relief again.
6. Attach the lower housing section.
Commissioning the wireless outdoor siren
Conditions for device commissioning
The project must first be successfully commissioned in GPA (see “Commissioning order”).
Gira Project Assistant (GPA)
The security system Alarm Connect is configured via GPA. The following settings are made in GPA for the wireless outdoor siren:
- Locate device.
- Assign device name.
- Assign hardware ID.
- Select duration of optical signal.
- Select duration of acoustic signal.
- Starting up the device.
1. Parameterise the wireless outdoor siren in GPA and put the project into commission.
2. Insert the battery pack.
Batteries inserted too early
If the units have been activated before start-up, they are in “sleep mode” and can no longer connect to the alarm centre. In this case, the batteries must be removed and reinserted.
3. Connect the battery pack as shown below and wait for the initialisation phase. The wireless outdoor siren is automatically detected by the alarm control unit Connect.

4. Place the upper housing section on the lower section and screw it into place.
Status LED
| Behaviour | Meaning |
| Lights up continuously red | Tamper alarm |
| Alternates quickly between green and red | Initialisation phase |
| Blinks red, quickly and for a max. of 10 s | Error initialisation phase |
| Blinks green, quickly and for a max. of 5 s | Registration phase |
| Lights up green for approx. 3 s, then turns off | Registration successful |
| Blinks red in short intervals for a max. of 10 s | Registration error |
Blinks green, quickly every 2 s and in cases of a Test run status change, 1x quick red flash
Stand-by mode
After commissioning of the device, communication must take place between the device and the alarm control unit Connect within 7 min. After 7 min, the device automatically switches to stand-by mode. If the device does not receive a signal from the alarm control unit Connect within the 7 min period, the stand-by mode can not be ended automatically.
The device must then be reactivated (remove and replace the battery pack) so that communication can be established with the alarm control unit Connect. Always observe the commissioning order.
Check the signal quality of the wireless connection
Check the wireless connection to the alarm control unit
Check the signal quality of the wireless connection between the alarm control unit Connect and the device.
- Activate the test mode in the GPA under [security system] -> [Diagnosis and test].
- The wireless outdoor siren automatically sends a signal.
- Check the signal quality.
Bad signal quality: Insert a wireless repeater and check the signal quality again.
Good signal quality: End test mode.
Replacing the battery
WARNING
Explosion hazard in case of improper handling of batteries.
Do not throw batteries into the fire, and do not recharge batteries, as this may result in a risk of explosion.
WARNING
Danger of acid burns from bursting or leaking batteries.
Always change an empty battery for a new one of the same type.
Replacing the battery
Replace the battery pack as soon as the “low battery” display appears in the Display of the wireless operating unit.
- Loosen the two screws included in the upper housing section and remove the upper housing section. The tamper alarm is triggered.
- If an external power supply is connected, switch it off.
- Open the battery compartment and remove the old battery pack.
- Return the new battery pack and close the battery compartment.
- If an external power supply is connected, switch it on again.
- Place the upper housing section on the lower section and screw it into place.
- Acknowledge the tamper alarm on the wireless operating unit.
Remove empty batteries immediately and dispose of them in an environmentally-friendly way. Do not dispose of batteries with household waste. Local authorities provide information about environmentally-sound disposal. The end consumer is legally required to return used batteries in accordance with legislative requirements.
Technical data
| Power supply | |
| Internal: | Type C: Internal battery pack |
| External (optional): | Type B: DC 12 V |
| Battery pack | |
| Type: | Lithium, AA |
| Quantity: | 6 |
| Battery life | |
| With battery operation: | approx. 3 years |
| Wireless | |
| Frequency band: | 868.0 – 868.6 MHz 868.7 – 869.2 MHz |
| Transmission capacity: | max. 10 mW |
| Range: | 100 m (free field) |
| Device – general | |
| Optical display: | Status LED (red/ green) Flashing light |
| Acoustic display: | Siren |
| Volume of siren: | approx. 110 dB(A); 1 m distance |
| Mounting height: | at least 3 m |
| Ambient temperature: | -20 °C to +60 °C |
| Storage temperature: | -35 °C to +60 °C |
| Humidity: | -93 % |
| Protection type: | IP 55 |
| Environmental class: | IV |
| Compliant with: | EN 50131 Level 2 EN 62368-1 EN 60950-22 EN 301489-1 EN 301489-3 EN 61000-6-3 EN 50130-4 EN 300220-1 EN 300220-2 EN 50130-5 EN 50131-1 EN 50131-4 EN 50131-5-3 |
| Certification body: | Telefication B.V. |
| Dimensions (H x W x D): | 200 x 200 x 60 mm |
Conformity
Gira Giersiepen GmbH & Co. KG hereby declares that the wireless system type item no. 5261 16 conforms to Directive 2014/53/EU. The complete item number can be found on the device. The complete text of the EU Declaration of Conformity can be found either in the download area (gira.de/Konformitaet), or directly via the online catalogue at the product (katalog.gira.de).
Disposal
The Gira wireless outdoor siren is an electric and electronic device in the sense of Directive 2012/19/EU. High-quality materials and components were used in developing and manufacturing the device. These materials and components can be reused and recycled. Please consult the regulations governing the separate collection of electric/ electronic waste applicable for your country. These devices may not be disposed of with household waste. The correct disposal of waste can prevent possible negative consequences to the environment and humans.
Warranty
The warranty is provided in accordance with statutory requirements via the retailer. Please submit or send faulty devices postage paid and with an error description to your sales representative (retailer / installation company / electrical contractor). The salesperson will forward the devices to the Gira Service Centre.
Gira
Gira
Giersiepen GmbH & Co KG
Electrical installation
systems
P.O. Box 1220
42461 Radevormwald
Phone: +49 2195 602 – 0
Fax: +49 2195 602 – 191
[email protected]
www.gira.de





















