GIRA 5232 16 Wireless Repeater
General safety instructions
Electrical devices may only be installed and connected by a qualified electrician.
Improper installation may result in serious injury, e.g. from electrical shock or fire, as well as equipment damage. This product contains a battery. Keep new and used batteries away from children. These instructions are part of the product and must remain with the end customer.
Observe the commissioning order
Commissioning order for the security system Alarm Connect:
- Mount the alarm control unit and put it into commission (battery and 230 V connection).
- Configure the project in the GPA and transfer it to the alarm control unit memory.
- Install all other devices, put into commission (insert batteries, etc.) andcheck the wireless connection to the alarm control unit.
- After successful verification, set the alarm control unit to the operation mode. Failure to observe the commissioning sequence will render commissioning of the safety system unsuccessful.
Product Features
- The wireless repeater is used to amplify wireless signals in the Alarm Connect security system. A maximum of one wireless repeater may be installed.
Sticker with Hardware ID
The device comes with two stickers with the Hardware ID. You can use one of the two stickers for your site map and simply scan the Hardware ID with an appropriate scanner during configuration in GPA.
Included in delivery
- 1 x wireless repeater
- 1 x battery
- 1 x operating instructions
- 2 x stickers with Hardware ID
Ensure the package contents are complete and undamaged. Please see “Warranty” in case of any defects.
Required accessories
- Alarm control unit Connect (item no. 5201 00)
- Wireless operating unit (item no. 5212 03)
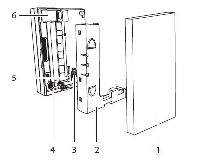
Device description

- Upper housing section
- Cover: Connection terminals
- Port: AC 230 V
- Lower housing section
- Pairing button
- Battery compartment
Selecting the installation site
Installation note
Note the following:

- Mount horizontally.
- Leave an area of at least 50 cm between the wireless repeater and ceilings, metal objects, and other equipment.
- A maximum of one wireless repeater may be used in one Alarm Connect security system.
- The forwarding of signals between the Connect alarm center and the wireless control unit is not possible.
Mounting the wireless repeater
VdS-compliant mounting
- Only mounting with wall plugs and screws is VdS-compliant.
Wall installation
Make sure the wall surface is level. In the case of an uneven wall surface, there is the risk that the lower housing section will move during installation. This means that the upper housing section cannot be plugged in properly.
Socket outlet for power supply
Be sure that the wireless repeater is mounted near a socket outlet that is easily accessible. The socket outlet should have its own fuse circuit.
- Switch off the power supply.
- Detach the upper housing section from the lower housing section using the unlocking tool (included with the alarm control unit Connect).

- Mark the drilling holes, drill and insert the wall plugs (Fischer dowels UX 5 x 30, included). The disconnecting surface of the tamper contact must be secured with a screw.
- Mount the wireless repeater.

- Wire the wireless repeater to the mains voltage.
Connection – Mains voltage
- Use power lines with a cable cross-section of 1.5 to 2.5 mm2. The power line should comply with national electrical requirements.
Commissioning the wireless repeater
Conditions for device commissioning
- The project must first be successfully commissioned in GPA (see “Commissioning order”).
Gira Project Assistant (GPA)
The security system alarm Connect is configured via GPA. The following settings are made in GPA for the wireless repeater:
- Enter the device name.
- Assign device ID.
- Display security area.
- Put the project into commission.
- Configure the project in the GPA and put it into commission.
- Insert the battery (observe polarity!) and wait for initialization phase. The wireless repeater is automatically detected by the wireless alarm control unit Connect.
Batteries inserted too early
If the units have been activated before start-up, they are in “sleep mode” and can no longer connect to the alarm center. In this case, the batteries must be removed and reinserted.

- Attach the upper housing section to the lower section.
- Switch on the power supply.
Status LED

Stand-by mode
After the commissioning of the device, communication must take place between the device and the alarm control unit Connect within 7 min. After 7 min the device[ automatically switches to standby mode. If the device does not receive a signal from the alarm control unit Connect within the 7 min period, the standby mode can not be ended automatically. The device must then be reactivated (remove and replace the battery) so that communication can be established with the alarm control unit Connect. Always observe the commissioning order.
Check the signal quality of the wireless connection
Check the wireless connection to the alarm control unit. Check the signal quality of the wireless connection between the alarm control unit Connect and the device.
- Activate the test mode in the GPA under [security system] – > [Diagnosis and test].
- Check the signal quality. How the] repeater behaves in test mode still needs to be clarified.
Bad signal quality: Reposition the wireless repeater and recheck the signal quality.
Good signal quality: End test mode.
Behavior in case of main failure
In the event of a mains voltage failure, the internal backup battery will supply the wireless repeater with power. When the mains voltage returns, the backup battery does not charge back up on its own.
Replacing the battery
WARNING
- Explosion hazard in case of improper handling of batteries.
- Do not throw batteries into the fire, and do not recharge batteries, as this may result in a risk of explosion.
- The danger of acid burns from bursting or leaking batteries.
- Always change an empty battery for a new one of the same type.
Replacing the battery
Replace the battery as soon as the “low battery” display appears in the Display of the wireless operating unit.
- Detach the upper housing section from the lower housing section using the unlocking tool (included with the alarm control unit Connect). The tamper alarm is triggered.
- Open the battery compartment and] replace the battery with a new battery of the same type (Observe polarity!).
- Close the battery compartment and place the upper housing section on the lower section again.
- Acknowledge the tamper alarm on the wireless operating unit.
Remove empty batteries immediately and dispose of them in an environmentally-friendly way. Donot dispose of batteries with household waste. Local authorities provide information about environmentally-sound disposal. The end consumer is legally required to return used batteries in accordance with legislative requirements.
Technical data

Conformity
Gira Giersiepen GmbH & Co. KG hereby declares that the wireless system type item no. 5232 16 conforms to Directive 2014/53/] EU. The complete item number can be found on the device. The complete text of the EU Declaration of Conformity can be found either in the download area (gira.de/ Konformitaet), or directly via the online catalog at the product (katalog.gira.de).
Disposal
The Gira wireless repeater is an electric or electronic device in the sense of EU Directive 2012/19/EU. High-quality materials and components were used in developing and manufacturing the device. These materials and components can be reused and recycled. Please consult the regulations governing the separate collection of electric/ electronic waste applicable for your country. These devices may not be disposed of with household waste. The correct disposal of waste can prevent possible negative consequences to the environment and humans.
Warranty
The warranty is provided in accordance with statutory requirements via the retailer. Please submit or send faulty devices postage paid and with an error description to your sales representative (retailer/installation company / electrical contractor). The salesperson will forward the devices to the Gira Service Centre.
Gira
Giersiepen GmbH & Co KG
Electrical installation systems
- address: P.O. Box 1220 42461 Radevormwald
- Phone: +49 2195 602 – 0
- Fax: +49 2195 602 – 191
- [email protected]
- www.gira.de






















