MaxLiTe WPC20UT4-CSBPCCR WPC Series Small Full Cutoff Wall Pack
General Safety Information
- To reduce the risk of death, personal injury or property damage from fire, electric shock, falling parts, cuts/abrasions, and other hazards read all warnings and instructions included with and on the fixture box and all fixture labels.
- Before installing, servicing, or performing routine maintenance upon this equipment, follow these general precautions.
- Commercial installation, service and maintenance of luminaires should be performed by a qualified licensed electrician.
- For Residential installation: If you are unsure about the installation or maintenance of the luminaires, consult a qualified licensed electrician and check your local electrical code.
- DO NOT INSTALL DAMAGED PRODUCT!
- This fixture is intended to be connected to a properly installed and grounded UL listed junction box.
WARNING:
RISKOFELECTRICALSHOCK
- Turn off electrical power at fuse or circuit breaker box before wiring fixture to the power supply.
- Turn off the power when you perform any maintenance.
- Verify that supply voltage is correct by comparing it with the luminaire label information.
- Make all electrical and grounded connections in accordance with the National Electrical Code and any applicable local code requirements.
- All wiring connections should be capped with UL approved wire connectors.
- Do not handle energized fixture when hands are wet, when standing on wet or damp surfaces, or in water.
CAUTION:
RISKOFINJURY
- Wear gloves and safety glasses at all times when removing luminaire from carton, installing, servicing or performing maintenance.
- Avoid direct eye exposure to the light source while it is on.
- Account for small parts and destroy packing material, as these may be hazardous to children.
CAUTION:
RISKOFFIRE
- Keep combustible and other materials that can burn away from luminaire and lamp/lens
- MIN 90°C SUPPLY CONDUCTORS.
General Wiring Diagram
CAUTION:Turn off electrical power at fuse or circuit breaker box before wiring fixture to the power supply.
Connecting panels to AC source supply: All units must be individually connected to the AC supply.
Black = Line
White = Neutral
Green = Ground
Emergency Battery Backup Wiring Diagram

Setting Wattage, Color Temperature (CCT) & Photo Control
2 in 1 Controller (Photo Control & CCT):
- Turn the switch to ON to activate the photocell
- Turn the switch to OFF to deactivate the photocell
- Adjust the switch on the right to the desired CCT (3000K, 4000K or 5000K)
Wattage Switch:

- Adjust the switch to the desired wattage. (28W and 100W models only)
c-Max Sensor Installation
- Loosen the two (2) screws with a Phillips-head screwdriver and take out the sensor mounting bracket.

- Remove the rubber plug from the USB-C receptacle. Insert the sensor into the receptacle. Lock the sensor in place with the included hex screw and rubber plug.

- Replace the mounting bracket into it’s original position. The sensor should be in the plastic cover on the bottom of the fixture. Secure the bracket with the two (2) screws removed in step 1. Remove the bronze protective plastic cover.

Note: Add a bead of exterior grade silicone sealant around the perimeter of the wall pack on the wall to inhibit any moisture from attachment bolts.
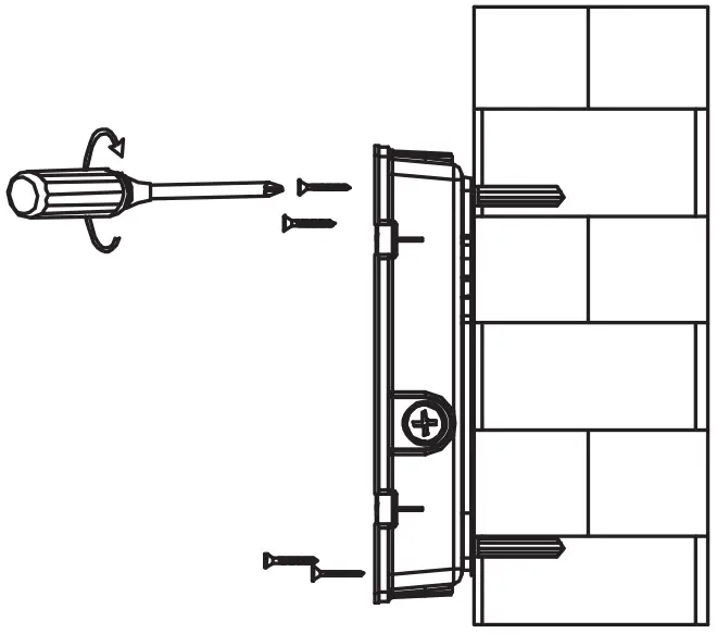
Installation & Operation – Junction Box Mounting:
- Turn off the power before beginning installation.

- Use a Phillips-head screwdriver to loosen the two (2) screws on the right side of the fixture.

- Open the fixture and disconnect the connection terminals between the LED driver and LEDs. Remove the heatsink from the back plate.

- Use screwdriver to remove the ½” NPT KO plug from the back of the fixture.

- Drill through the mounting holes on the j-box template according to the application’s requirements.

- Attach the included EVA foam gasket onto the back plate.

- Drill through the three (3) corner mounting holes on the back plate.

- Drill three (3) holes in the wall that match the locations of the holes drilled in step 7 when mounted.

- Pull the supply conductors through the ½” KO center hole on the back plate.

- Using three (3) anchor bolts (not included), secure the back plate to the wall.

- Secure the back plate to the j-box with screws in the holes drilled in step 5

- Connect the Line, Neutral and Ground wires from the driver to the supply conductors.

- Reinstall the heatsink and reconnect the terminals between the CCT Switch and the LEDs.

- Close the fixture and secure it with the two (2) screws loosened in step 2.

- Make sure the installation is complete before turning the power back on.

Installation & Operation – Conduit Mounting:
- Turn off the power before beginning installation.

- Use a Phillips-head screwdriver to loosen the two (2) screws on the right side of the fixture.

- Open the fixture and disconnect the connection terminals between the LED driver and LEDs. Remove the heatsink from the back plate.

- Drill through the three (3)corner mounting holes on the back plate.

- Drill three (3) holes in the wall that match the locations of the holes drilled in step 4 when mounted.

- Attach the included EVA foam gasket onto the back plate.

- Using three (3) anchor bolts (not included), secure the back plate to the wall

- Use a Flat-head screwdriver to remove one of the side ½” KO plugs that will be used to feed the supply conductors into the fixture

- Pull the supply conductors through the side KO hole. Connect the Line, Neutral and Ground wires from the driver to the supply conductors.

- Reinstall the heatsink and reconnect the terminals between the CCT Switch and the LEDs.

- Close the fixture and secure it with the two (2) screws loosened in step 2.
- Make sure the installation is complete before turning the power back on.

Warranty Information
MaxLite Inc. warrants its products for a minimum period of TEN (10) years from the date of original purchase from MaxLite or its authorized distributor/dealer (the “Warranty Period”), as follows: If a Product fails to operate during the Warranty Period as a result of defects in materials or workmanship, MaxLite will, at its option, repair it, replace it with the same or like Product.
Please refer to Maxlite’s website (at http://maxlite.com/resources/warranties) for the complete terms and conditions of our warranty
Limitation of Liability
THE FOREGOING WARRANTY IS EXCLUSIVE, AND IS THE SOLE REMEDY FOR ANY AND ALL CLAIMS, WHETHER IN CONTRACT, IN TORT OR OTHERWISE ARISING FROM THE FAILURE OF PRODUCT AND IS IN LIEU OF ALL OTHER WARRANTIES, EXPRESS OR IMPLIED, INCLUDING ALL WARRANTIES OF MERCHANTABILITY OR FITNESS FOR A PARTICULAR PURPOSE, WHICH WARRANTIES ARE HEREBY EXPRESSLY DISCLAIMED TO THE EXTENT PERMITTED BY LAW AND, IN ANY EVENT, SHALL BE LIMITED TO THE WARRANTY PERIOD SPECIFIED ABOVE. THE LIABILITY OF MAXLITE SHALL BE LIMITED TO THE TERMS OF THE EXPRESS WARRANTY SET FORTH HEREIN. IN NO EVENT WILL MAXLITE BE LIABLE FOR ANY SPECIAL, INCIDENTAL OR CONSEQUENTIAL DAMAGES INCLUDING, WITHOUT LIMITATION, DAMAGES RESULTING FROM LOSS OF USE, PROFITS, BUSINESS OR GOODWILL, LABOR COSTS, REMOVAL OR INSTALLATION COSTS, DECREASE IN THE LIGHT OUTPUT OF THE LAMP, AND/OR DETERIORATION IN THE LAMP’S PERFORMANCE, WHETHER OR NOT MAXLITE HAS BEEN ADVISED OF THE POSSIBILITY THEREOF. UNDER NO CIRCUMSTANCES SHALL MAXLITE’S ENTIRE LIABILITY FOR A DEFECTIVE PRODUCT EXCEED THE PURCHASE PRICE OF THAT PRODUCT. WARRANTY SERVICES PROVIDED UNDER THESE TERMS AND CONDITIONS DO NOT ENSURE THE UNINTERRUPTED OPERATION OF PRODUCTS; MAXLITE SHALL NOT BE LIABLE FOR DAMAGES CAUSED BY ANY DELAYS INVOLVING WARRANTY SERVICE.
This Limited Warranty gives you specific legal rights and you may also have other rights that may vary from state to state. Because some states or jurisdictions do not allow the exclusion or limitation of liability for consequential or incidental damages, this limitation may not apply to you.












































