HALO MWP20FSUNVDBZ MWP Series Mini Wall Pack

Packaging Contents
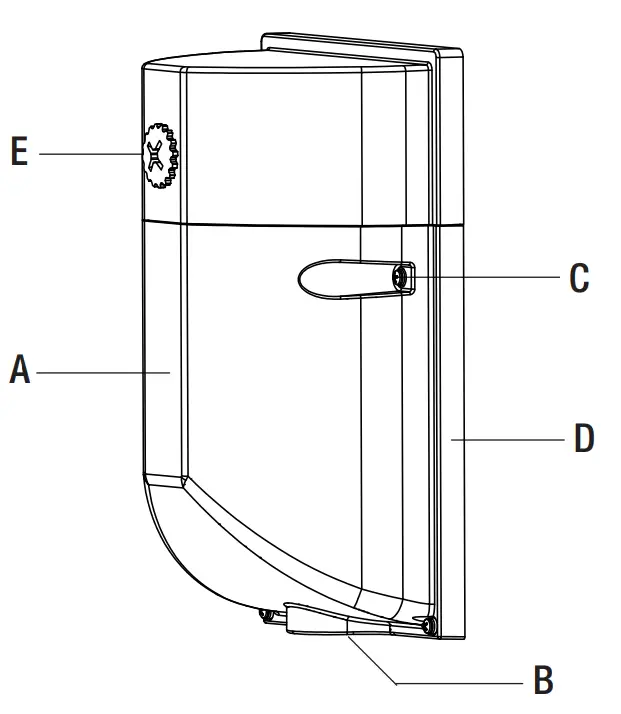
| Part | Description | Quantity |
| A | Light fixture cover | 1 |
| B | Conduit entry plug | 1 |
| C | Light fixture cover screws (pre-installed) | 2 |
| D | Mounting base plate | 1 |
| E | Photo-cell lens | 1 |

Hardware Included
| Part | Description | Quantity |
AA | #8-32×3/4 in. Phillips mounting bracket screw | 2 |
BB | Wire nut P3 | 3 |
CC | Wire nut P2 | 1 |
DD | EVA foam | 1 |
ITEMS REQUIRED
(Purchase separately)
- Philips Screwdriver
- Safety Goggles
- Silicone Sealant
- Wire Strippers / Cutter
- Circuit Tester
- Adjustable Wrench
- Work Gloves
- Ladder
- Power Drill

Before installing the light fixture, ensure that all parts are present. Compare parts with the hardware Included and Package contents sections.
If any part is missing or damaged, do not attempt to assemble, install or operate this light fixture.
Estimated installation time: 20 minutes
IMPORTANT SAFETY INSTRUCTIONS
THIS PRODUCT MUST BE INSTALLED IN ACCORDANCE WITH THE APPLICABLE NATIONAL ELECTRICAL CODE AND LOCAL BUILDING CODES BY A PERSON FAMILIAR WITH THE CONSTRUCTION AND OPERATION OF THE PRODUCT AND THE HAZARDS INVOLVED.
- Please read and understand this entire manual before attempting to assemble, install or operate this light fixture.
- Save these instructions and warnings
- This light fixture requires a 120V AC power source. Any other connection voids the warranty.
- Fixture should be installed by persons with experience in household wiring or by a qualified electrician.
- This light fixture must be properly grounded.
- Make sure connections are secure using wire nuts, crimp-on plugs or other UL approved connecting devices.
- This fixture should be installed outdoors to a wall or a pole. Wet location rated luminaire.
- Disassembling your fixture will void the warranty.
- Always turn OFF the power before adjusting or servicing this light fixture, wear rubber soled shoes and use a wooden or insulated (non-grounded) ladder.
- This product may contain chemicals known to be hazardous. Thoroughly wash hands after installing, handling, cleaning or otherwise touching the product.
READ AND FOLLOW THESE INSTRUCTIONS
WARNING: Before installation or servicing, turn the power OFF at the circuit breaker or fuse. Place tape over the circuit breaker switch and verify power is OFF at the light fixture. |
WARNING: RISK OF FIRE. Keep the lamp heads at least 3 in. (76 mm) from combustible materials. |
CAUTION: BURN HAZARD. Allow the light fixture to cool before touching. |
| NOTICE: Do not connect this fixture to a dimmer switch unless listed on dimmer compatibility list. |
| NOTICE: FCC Regulations state that any unauthorized changes or modifications to this equipment not expressly approved by the manufacturer could void the user’s authorization to operate this equipment. |
IMPORTANT: This device complies with part 15 Class A of the FCC Rules. Operation is subject to the following two conditions: (1) This device may not cause harmful interference, and (2) this device must accept any interference received, including interference that may cause undesired operation. These limits are designed to provide reasonable protection against harmful interference in a residential installation. This equipment generates, uses, and can radiate radio frequency energy and, if not installed and used in accordance with the instructions, may cause harmful interference to radio communications. However, there is no guarantee that interference will not occur in a particular installation. If this equipment does cause harmful interference to radio or television reception, which can be determined by turning the equipment OFF and ON, the user is encouraged to try to correct the interference by one or more of the following measures:
|
PREPARING FOR INSTALLATION
| NOTE: The mounting base (D) mounts to recessed mounted standard junction boxes or to the surface directly. Junction box must be at least 1-1/2 in. in depth for proper installation for a recessed mount application. |
REVIEW THIS INFORMATION TO ENSURE A SUCCESSFUL INSTALLATION:
- . The fixture can be mounted in the following two ways:
• Junction Box Mount: Use a junction box to mount the fixture.
• Surface Conduit Mount: The fixture can also be mounted directly on a wall surface using conduit entry. - To ensure proper dusk-to-dawn operation, ensure the photocell is oriented at the top for a wall mount installation, in an area that receives daylight. Do not place too close to reflective surfaces.
- When installing two fixtures on one switch, make sure the switch is rated for at least a 1A inductive load.
- If dimming, use with 0–10V dimming switch.

INSTALLATION
TURNING OFF THE ELECTRICITY
- Verify the wall switch is in the OFF position.
- Turn off power at the circuit breaker that supplies power to the outlet box you are working on.
- For screw-in type fuses unscrew the fuse that supplies power to the outlet box you are working on.

WARNING: Risk of electric shock. Disconnect power at fuse or circuit breaker before installing or servicing.
REMOVING THE COVER
- Loosen the Light fixture cover screws (C) using a Phillips screwdriver and remove the cover (A). (Fig. 2).

NOTE: The Light fixture cover screws (C) come pre-assembled on the light fixture.
KNOCKING OUT HOLES ON THE MOUNTING BASE PLATE
- Attach the EVA foam (DD) to the back side of the mounting base with aligh holes.
- Measure the distance of the mounting threaded holes on the junction box and find the corresponding knock-out holes in the fixture’s mounting base plate (D).
- Use a hammer and a flat head screwdriver (or power drill with drill bit) to knock out two (or four) holes in the mounting base plate (D) in the desired location to align properly with the junction box.

MAKING THE ELECTRICAL CONNECTIONS
Junction Box
- Follow the wiring instructions given below to make the electrical connections. (Fig. 4A).

Surface Conduit Mount
- Remove the conduit plug (B) from the bottom of the fixture using a drill and thread the wires from the conduit inside the fixture through the hole.
- Make wiring connections inside the fixture as per the instructions given below. (Fig. 4B)

ON/OFF Wiring (Non Dimming) Method
- If necessary, strip 3/8 in. of insulation from the junction box or fixture (A) wires (Fig. 4C).

- Connect the fixture black wire to the supply black wire ((+) line), and fixture white wire to the supply white wire ((-) common) by twisting the exposed wires together and using the wire nuts (BB). Ensure there are no loose wires.
- Connect the supply ground wire to the green fixture ground wire by twisting the exposed wires together and using the wire nuts (BB)
0-10V Dimmable Wiring Method
- Connect the fixture black wire to the supply black wire ((+) line), and fixture white wire to the supply white wire ((-) common) by twisting the exposed wires together and using the wire nuts (BB). Ensure there are no loose wires.
- Connect the supply ground wire to the green fixture ground wire by twisting the exposed wires together and using the wire nuts (BB).
- Connect the purple wire to the (V+) DIM wire and the pink wire with (V-) DIM wire by twisting the exposed wire together.

NOTE: Hold stripped ends near each other and align any frayed strands (do not twist wires). Push the wires into wire nut (BB) and use your fingers to twist the wire nut clockwise until tight. Check for tightness by pulling wires.
INSTALLING THE MOUNTING BASE PLATE
Junction Box Mount
- Align the holes on the mounting base plate (D) with the holes on your junction box. Use two #8 screws (AA), depending on the size of the holes in your junction box, to attach the mounting base plate (D) to your junction box. (Fig. 5A)

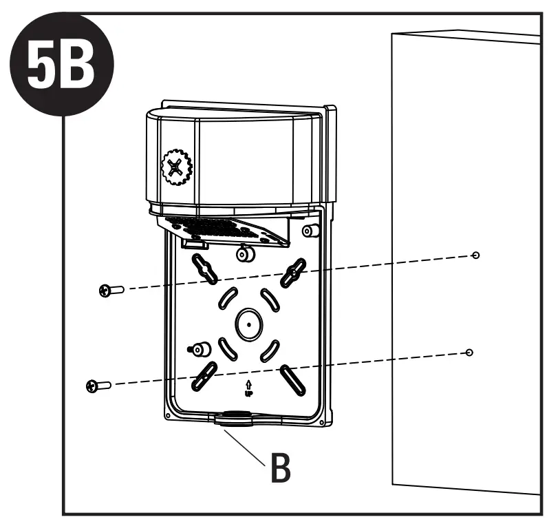
Surface Conduit Mount
- Mark and drill two holes on the wall surface as per the desired location for attaching the mounting base plate (D).
- Use two or more suitable screws (not included) applicable to the mounting surface and attach the mounting base plate (D) on the surface. (Fig. 5B)

- For conduit entry, use a drill to open the conduit plug (B) at the bottom end of the base.
SECURE THE COVER ON THE FUXTURE
- Replace the cover using the two small screws previously removed.

CAULKING AROUND THE LIGHT FIXTUR
- Caulk around the mounting plate (D) and surface with silicone sealant (not included)

NOTICE: Failure to properly caulk around the surface and mounting plate (D) could lead to water damage and is not covered under warranty.
NOTE: When attaching this fixture (A) to an external, surface mount junction box, caulk the inside of the light fixture before attaching to the mounting plate (D).
OPERATION
SELECTING DUSK-TO-DAWN OR SWITCH -ACTIVATED MODE
Option 1: Dusk-to-dawn operation
Dusk-to-dawn operation enables the light fixture to automatically turn ON when dark outside and turn OFF when the sun rises, thus saving you energy.
- To enable dusk-to-dawn operation remove the photocell cap cover (E) and ensure the photocell switch is to ON position and leave it ON at all times and sure it is unobstructed.
- Ensure the switch powering the outlet connected to the light fixture is turned to the ON position and leave it ON at all times to enable dusk-to-dawn functionality to operate automatically.

IMPORTANT: To test if the light fixture (A) and photocell (E) works properly run power to the fixture and cover up the photocell to turn fixture ON. Shine a light into the photocell to see if fixture turns OFF.
NOTE: If photocell (E) is located in an area under heavy shade the photocell may not detect enough light and may turn the light fixture ON.
Option 2: Switch-Activated
- Switch Activated operation enables the light fixture to turn ON and OFF by flipping a switch that controls the electricity to the outlet powering the fixture. The light fixture will not turn ON and OFF automatically, but is manually controlled.
- To enable switch activated operation, leave the photocell switch to OFF position.
SELECTING CCT AND PHOTO-CELL ON/OFF SWITCH
Remove the switch cap (E) and select the DIP switch to set CCT and photo-cell as you desired.
| CCT Selectable Setting |
|
| Photocell Setting |
|
CARE AND CLEANING
- Shut off the main power supply before cleaning the product. To prolong the original appearance, clean the light fixture with clean water and a soft, damp cloth only.
- Do not use abrasive cleaners or cleaners that contain alcohol. Do not apply paints, solvents or any other chemicals on this light fixture. They could cause a premature deterioration of the finish and may void the warranty.
- Do not spray the light fixture with a hose or power washer.
TROUBLESHOOTING
| PROBLEM | POSSIBLE CAUSE | SOLUTION |
| The light does not turn ON. | There is no power to the fixture |
|
| The fixture senses daylight | Cover the photocell. wait a short time until the fixture turns ON. | |
| The light cycles ON and OFF continuously. | The photocell light sensor is sensing reflected light |
|
| The light flickers. | The light fixture wired through a dimmer switch | Do not use a dimmer switch to control the light fixture. Replace the dimmer with a standard ON/OFF switch. |
| The light stays ON. | The light sensor is in a shaded area. |
|
| The light sensor is faulty. | If the light does not turn OFF when a flashlight is shined on the light sensor for a minute, then the sensor may be faulty. Please contact customer service. |
NOTE: Photocell (E) has a short delay in order to reduce its sensitivity to sudden light changes. When testing, shine a light and cover the photocell for a short time to check if the fixture functions properly.
5-YEAR LIMITED WARRANTY
THE FOLLOWING WARRANTY IS EXCLUSIVE AND IN LIEU OF ALL OTHER WARRANTIES, WHETHER EXPRESS, IMPLIED OR STATUTORY INCLUDING, BUT NOT LIMITED TO, ANY WARRANTY OF MERCHANTABILITY OR FITNESS FOR ANY PARTICULAR PURPOSE.
Cooper Lighting Solutions warrants to customers that, for a period of five years from the date of purchase, Cooper Lighting Solutions products will be free from defects in materials and workmanship. The obligation of Cooper Lighting Solutions under this warranty is expressly limited to the provision of replacement products. This warranty is extended only to the original purchaser of the product. A purchaser’s receipt or other proof of date of original purchase acceptable to Cooper Lighting Solutions is required before warranty performance shall be rendered. This warranty does not apply to Cooper Lighting Solutions products that have been altered or repaired, that have been subjected to neglect, abuse, misuse or accident (including shipping damages). This warranty does not apply to products not manufactured by Cooper Lighting Solutions which have been supplied, installed, and/or used in conjunction with Cooper Lighting Solutions products. Damage to the product caused by replacement bulbs or corrosion or discoloration of brass components are not covered by this warranty.
LIMITATION OF LIABILITY: IN NO EVENT SHALL COOPER LIGHTING SOLUTIONS BE LIABLE FOR SPECIAL, INDIRECT, INCIDENTAL, OR CONSEQUENTIAL DAMAGES (REGARDLESS OF THE FORM OF ACTION, WHETHER IN CONTRACT, STRICT LIABILITY, OR IN TORT INCLUDING NEGLIGENCE), NOR FOR LOST PROFITS; NOR SHALL THE LIABILITY OF COOPER LIGHTING SOLUTIONS FOR ANY CLAIMS OR DAMAGE ARISING OUT OF OR CONNECTED WITH THESE TERMS OR THE MANUFACTURE, SALE, DELIVERY, USE, MAINTENANCE, REPAIR OR MODIFICATION OF COOPER LIGHTING PRODUCTS, OR SUPPLY OF ANY REPLACEMENT PARTS THEREFORE, EXCEED THE PURCHASE PRICE OF COOPER LIGHTING SOLUTIONS PRODUCTS GIVING RISE TO A CLAIM. NO LABOR CHARGES WILL BE ACCEPTED TO REMOVE OR INSTALL FIXTURES.
To obtain warranty service, please contact Cooper Lighting Solutions at 1-800-334-6871, press option 2 for Customer Service, or via e-mail [email protected] and include the following information:
- Name, address and telephone number
- Date and place of purchase
- Catalog and quantity purchase
- Detailed description of problem
All returned products must be accompanied by a Return Goods Authorization Number issued by the Company and must be returned freight prepaid. Any product received without a Return Goods Authorization Number from the Company will be refused. Cooper Lighting Solutions is not responsible for merchandise damaged in transit. Repaired or replaced products shall be subject to the terms of this warranty and are inspected when packed. Evident or concealed damage that is made in transit should be reported at once to the carrier making the delivery and a claim filed with them.
Reproductions of this document without prior written approval of Cooper Lighting Solutions are strictly prohibited.
For assistance, call 1-800-334-6871 or e-mail us at [email protected]
Printed in China
Cooper Lighting Solutions is a registered trademark.
All trademarks are property of their respective owners.
CUSTOMER SUPPORT
Cooper Lighting Solutions
1121 Highway 74 South
Peachtree City, GA 30269
P: 770-486-4800
www.cooperlighting.com
© 2020 Cooper Lighting Solutions
All Rights Reserved
Printed in USA
Imprimé aux États-Unis
Impreso en los EE. UU.
Publication No. IL51886022
August 2022






WARNING: RISK OF FIRE. Keep the lamp heads at least 3 in. (76 mm) from combustible materials.
IMPORTANT: This device complies with part 15 Class A of the FCC Rules. Operation is subject to the following two conditions: (1) This device may not cause harmful interference, and (2) this device must accept any interference received, including interference that may cause undesired operation. These limits are designed to provide reasonable protection against harmful interference in a residential installation. This equipment generates, uses, and can radiate radio frequency energy and, if not installed and used in accordance with the instructions, may cause harmful interference to radio communications. However, there is no guarantee that interference will not occur in a particular installation. If this equipment does cause harmful interference to radio or television reception, which can be determined by turning the equipment OFF and ON, the user is encouraged to try to correct the interference by one or more of the following measures:












Note: 4000K is default setting
Note: ON is default setting

















