WP15CTP ML Accessories 15W CCT Wall Pack Complete

Product Information
The WP15CTP is a product that provides lighting through a non-replaceable LED light source and non-replaceable control gear. It contains a light source of energy efficiency class D to Regulation (EU) No. 2019/2015 and (UK) 2021 No. 1095.
Safety Instructions
- Read the installation and maintenance manual carefully and retain it for future reference.
- This product is not suitable for installation in or near a coastal or marine environment.
- If using this luminaire with an external PIR or sensor, confirm with the manufacturer of the sensors that they are compatible with LED luminaires.
- This product must be disconnected from the circuit if subjected to any high voltage or insulation resistance testing. Irreparable damage will occur if this instruction is not followed.
Installation Instructions
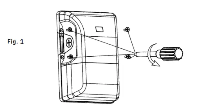
- Refer to Fig. 1, Fig. 2, and Fig. 3 for installation guidance.
- Follow the instructions carefully to aid the installation process.
Maintenance Instructions
Regular maintenance of the WP15CTP is recommended to ensure proper functioning. Refer to the installation and maintenance manual for instructions on maintenance.
Warranty
The WP15CTP comes with a warranty. Refer to the installation and maintenance manual for details on the warranty.
International Contact Details
Refer to the installation and maintenance manual for international contact details in case of any issues with the product.
GENERAL INSTRUCTIONS
These instructions should be read carefully and retained after installation by the end-user for future reference and maintenance.
These instructions should be used to aid the installation of the following product: WP15CTP
SAFETY
- This product must be installed in accordance with the latest edition of the IEE Wiring Regulations (BS7671) and current Building Regulations. If in any doubt, consult a qualified electrician
- Please isolate mains prior to installation or maintenance
- Check the total load on the circuit (including when this luminaire is fitted) does not exceed the rating of the circuit cable, fuse or circuit breaker
- Please note the IP (Ingress Protection) rating of this luminaire when deciding the location for installation
- This product is Class I and must be earthed
- This product is IP65 rated
INSTALLATION
Note – If this luminaire is being used in conjunction with an external PIR or sensor, please confirm with the manufacturer of the sensors that they are compatible with LED luminaires
Attach the EVA pad to the back of the plate (see Fig. 2) 
- Using the backplate as a template, mark the location for, and drill the fixing holes ensuring not to infringe with any gas/water pipes or electrical cables
- Feed the mains cable through the rubber grommet to retain IP rating, and secure the baseplate to the surface. Rubber washers or sealant should be applied around the screw heads to prevent water ingress (see Fig. 3)
For surface mounted wiring, a suitable IP rated gland can be used to feed through the side of the backplate
- Connect the luminaire to the mains supply ensuring that correct polarity is observed: L – Live (Brown), E -Earth (Green/Yellow), N – Neutral (Blue)
Note – Please note this luminaire comes with the photocell not connected. To use the features of the photocell, please plug the photocell plug into the socket - Select the color temperature via the 3-position switch
- Fit the luminaire to the baseplate and secure with the four screws
- Switch on and check for correct operation
WARNING
This product must be disconnected from the circuit if subjected to any high voltage or insulation resistance testing. Irreparable damage will occur if this instruction is not followed.
This product is not suitable for installation in or near a coastal or marine environment.
This product contains a light source of energy efficiency class D to Regulation (EU) No. 2019/2015. and (UK) 2021 No. 1095.
This product contains a non-replaceable LED light source and non-replaceable control gear.
GENERAL
This product contains a light source of energy efficiency class D to Regulation (EU) No. 2019/2015. and (UK) 2021 No. 1095.
This product contains a non-replaceable LED light source and non-replaceable control gear.
Clean the external surfaces with a damp cloth using a mild solution of detergent and warm water only, do not use aggressive cleaning products or solvents which may damage the product.
Do not use any source of high-pressure washers to maintain or clean this luminaire.
This product is non-dimmable.
This product should be dismantled for disposal when it reaches the end of its life. Please see website for dismantling instructions.
This product should be recycled in the correct manner when it reaches the end of its life. Check local authorities for where facilities exist.
WARRANTY
This product has a warranty of 5 years from the date of purchase. Failure to install this product in accordance with the current edition of the IEE Wiring Regulations (BS7671), improper use, or removal of the batch code will invalidate the warranty. If this product should fail within its warranty period, it should be returned to the place of purchase for a free of charge replacement. ML Accessories does not accept responsibility for any installation costs associated with the replacement product. Your statutory rights are not affected. ML Accessories
reserve the right to alter product specification without prior notice. 
ML Accessories Limited LU5 4LT
www.mlaccessories.co.uk



















