Home Decorators Collection HB3699-05 PENDANT LIGHT DESMOND

THANK YOU
We appreciate the trust and confidence you have placed in the Home Decorators Collection through the purchase of this pendant light. We strive to continually create quality products designed to enhance your home. Visit us online to see our full line of products available for your home improvement needs. Thank you for choosing Home Decorators Collection!
Safety Information
- Before starting the installation of this fixture or removal of a previous fixture, disconnect the power by turning off the circuit breaker or by removing the fuse at the fuse box.
- Consult a qualified electrician if you have any electrical questions or need to replace the driver.
- If you have any non-electrical questions about this fixture, please contact our Customer Service Team at 1-800-986-3460 or HOMEDEPOT.COM/HOMEDECORATORS
Warranty
WHAT IS COVERED
The manufacturer warrants this lighting fixture to be free from defects in materials and workmanship for a period of five (5) years from the date of purchase. This warranty applies only to the original consumer purchaser and only to products used in normal use and service. If this product is found to be defective, the manufacturer’s only obligation, and your exclusive remedy, is the repair or replacement of the product at the manufacturer’s discretion, provided that the product has not been damaged through misuse, abuse, accident, modifications, alterations, neglect or mishandling.
WHAT IS NOT COVERED
This warranty shall not apply to any product that is found to have been improperly installed, set up, or used in any way not in accordance with in the product as a result of an accident, misuse, abuse, negligence, alteration, or faulty installation, or any other failure not relating to faulty material or workmanship. This warranty shall not apply to instructions supplied with the product. This warranty shall not apply to a failure of any portion of the product, such as surface and/or weathering, as this is considered normal wear and tear.
The manufacturer does not warrant and specially disclaims any warranty, whether expressed or implied, of fitness for a particular purpose, other than the warranty contained herein. The manufacturer specifically disclaims any liability and shall not be liable for any consequential or incidental loss or damage, including but not limited to any labor/expense costs involved in the replacement or repair of said product.
Contact the Customer Service Team at 1-800-986-3460 or visit: HOMEDEPOT.COM/HOMEDECORATORS.
Pre-Installation
PLANNING THE INSTALLATION
Read all instructions before assembly and installation. Before starting the installation of the fixture or removal of a previous fixture, disconnect the power by turning off the circuit breaker or by removing the fuse at the fuse box. To avoid damaging this product, assemble it on a soft, non-abrasive surface such as carpet or cardboard.
NOTE: Keep your receipt and these instructions for Proof of Purchase.
TOOLS REQUIRED

HARDWARE REQUIRED
NOTE: Hardware not shown to actual size.

| Part | Description | Quantity | Part | Description | Quantity | ||
| AA | Chain Link Connector | 2 | |||||
| FF | Loop with Nipple | 1 | |||||
| BB | Decorative Nut | 2 | |||||
| GG | Mounting Screw | 2 | |||||
| CC | Hex Nut | 2 | HH | Fixture Screw | 2 | ||
| DD | Wire Nut | 3 | II | Mounting Bracket | 1 | ||
| EE | Loop without Nipple | 2 | |||||
PACKAGE CONTENTS
NOTE: The 6-inch rods (B) come pre-assembled. The nipples shown on rods B and C are removable.

| Part | Description | Quantity |
| A | Canopy | 1 |
| B | 6-Inch Rod | 2 |
| C | 12-Inch Rod | 2 |
| D | Lamp Shade | 1 |
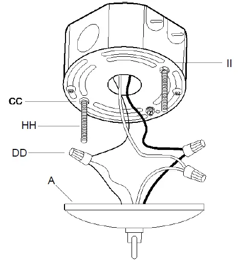
Mounting the hardware
- Thread the fixture screws (HH) into the provided holes of the mounting bracket (II).
- Thread the small hex nuts (CC) onto the fixture screws (HH). Do not tighten the small hex nuts (CC) at this time.
- Pull the supply wires out from the outlet box and mount the mounting bracket (II) tom the outlet box using the mounting screws (GG).
- Place the canopy (A) over the outlet box and onto the fixture screws (HH).
- Adjust the fixture screws (HH) until they protrude out from the canopy (A) 1/4 in.
- Remove the canopy (A) and secure the position of the fixture screws (HH) by tightening the small hex nuts (CC) against the mounting bracket (II).
Adjusting the length
NOTE: This fixture may be configured with a stem length of 6, 12, 18, 24, 30, or 36 inches depending on which rods (B and/or C) are used.
- Determine the desired stem length and select the appropriate rods (B & C) to configure the stem.
- Feed the fixture wires from the lamp shade (D) through the first loop without a nipple (EE). Twist the loop without a nipple (EE) onto the lamp shade (D).
- Connect the first loop without a nipple (EE) to chain link connector (AA).
- Connect the second loop without a nipple (EE) to the chain link connector (AA) and twist onto appropriate rods (B &C).
- Thread the wires through the tubes (B and/or C), the loop with nipple (FF), and through the canopy(A).
- Connect the loop with the nipple (FF) and canopy (A) together using a chain link connector (AA).
- Screw the components together until they secured and do not come loose.
Connecting the wires
NOTE: If you have electrical questions consult your local electrical code for approved grounding methods.
- Connect the black supply wire to the smooth fixture wire using a wire nut (DD).
- Connect the white supply wire to the ribbed fixture wire using a wire nut (DD).
- Connect the fixture ground wire and the supply ground wire to the canopy ground wire using a wire nut (DD).
- Wrap all wire connections with electrical tape for a more secure connection.
Assembling the fixture
NOTE: Do not exceed a 60-watt incandescent light bulb or equivalent CFL or LED bulb.
- Place the canopy (A) onto the fixture screws (HH).
- Secure the canopy (A) into place by using the decorative nuts (BB).
- Screw the bulb into the socket. Do not exceed a 60W bulb or CFL or LED equivalent.
Operation
- Turn on power at the circuit breaker or fuse box.
- Turn the light switch on to activate the fixture.
Care and Cleaning
EXTERIOR MAINTENANCE
- Use a dry or slightly dampened clean cloth and wipe the surface of the fixture.
NOTE: Do not use any cleaners with chemicals, solvents, or harsh abrasives. Use an only dry soft cloth to dust or wipe carefully.
INTERIOR MAINTENANCE
- Disconnect power to the fixture by turning off the circuit breaker or by removing the fuse at the fuse box.
- Use a dry or slightly dampened clean cloth to wipe the interior surface of the fixture.
Troubleshooting
| Problem | Solution |
| The light will not turn on. |
|
| The fuse blows or the circuit breaker trips when the light is turned on. |
|
Questions, problems, missing parts?
Before returning to the store, call Home Decorators Collection Customer Service
- 8 a.m. 7 p.m., EST, Monday Friday
- 9 a.m. 6 p.m., EST, Saturday
- 1-800 986 3460
- HOMEDEPOT.COM/HOMEDECORATORS
Retain this manual for future use.












