WORKSTREAM 21590 Dual Motor Height Adjustable Table Desk Frame Electric White

Preface
This electric height adjustable standing desk consists of a heavy-duty steel desk frame and a motorized height adjustment system. Please read and completely understand this manual before installation in order to make sure the safe and correct use of the system and maintain the longevity of the overall construction and the built-in electronics.
Instructions of Safety and Warnings
Any failure to comply with the safety and installation instructions in this manual may cause serious bodily injury.
- Any incomplete observation of the instructions, warnings and additional information marked with the “Note” and “
” may result in serious damage to the system or its components. - This product can be used by children aged from 8 years and above if they have been given supervision or instruction concerning use of the appliance in a safe way and understand the hazards involved. Children shall not play with the appliance.
Cleaning and user maintenance shall not be made by children without supervision. Unplug the desk when the system isn’t in use, and place the power plug out of children reach. - Persons with reduced physical, mental abilities and or lack of experience and knowledge must not use the product, unless they’re under supervision, understand the hazards involved or they have been thoroughly instructed in the use of the apparatus by a person who is responsible for the safety of these persons.
- Users should make sure that they never sit on the desktop in order to prevent serious bodily injury.
Electrical Safety Instructions
The product is powered by electricity. In order to avoid burns, fire and electric shock, please read the instructions carefully.
- Don’t clean the product with water while the power is still connected.
- Don’t disassemble or replace components while the power is still connected.
- Never operate the system with a damaged cord or plug. Please contact your point of purchase to replace the damaged parts.
- Never operate the system if it’s in moist environment or its electrical components have contact with liquids.
- Don’t operate the system if the control box makes noise or odor.
Alterations of the given power unit and control box aren’t allowed.
Other Safety Instructions
- Clear up all obstacles within the height adjustment range.
- Don’t leave the cords or plug unorganized in order to prevent tripping hazards.
- Any attempts to reconstruct the desk frame aren’t allowed.
- Don’t add anything to the adjustable junctions of the desk frame.
- Outdoor use is prohibited.
Preparation
- What are the specifications you need to know?

- What are the tools you require while installation?

- What’s the thing you’d better have before installation?

- Things you need to know before installation
Please check all of the components shown in the component checklist. If any of the components are missing or damaged, contact your point of purchase for a replacement.
Disposal: The product with this mark indicates that this product shouldn’t be disposed with other household wastes throughout the EU. To prevent possible harm to the environment or human health from uncontrolled waste disposal, recycle it responsibly to promote the sustainable reuse of material resources. To return your used device, please use the local recycle service or contact your point of purchase to withdrawn the product.
Checklist and Installation


Attaching Side Brackets

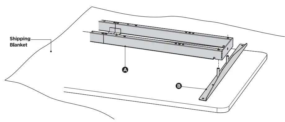
- Please prepare a spacious area for installation, and put a shipping blanket on the area to prevent scratches.
- Carefully place the desktop(not included) upside down on the blanket.
- Place the crossbarOand side bracketsQon the top.
- Attach the side bracketsQto the end of the crossbaro. (This step doesn’t require the use of the screws.)
Note: The drawings of both of the crossbar and side brackets are the backside of the components. Please make sure the crossbar and side brackets keep facing down while installation, which is convenient for the further steps.
Adjusting the Frame

Loosen the hex head screws that fix the adjustable junction, but don’t completely take out the screws.
- Ensure that the frame is placed in the center of the table.
- Then adjust the frame to suit the size of the tabletop.

When adjusting the frame position, please make sure it doesn’t exceed the range of silk screen printing on the inner crossbar.

Retighten all the hex head screws to finish the adjustment.
Drilling Mounting Holes
Use a drlll to make mounting holes on the backside of the tabletop through the 8 mounting holes on the side brackets.
Note: The depth of the mounting holes should be over 70mm and the diameter should be less than :Jmm.

Assembling the Lifting Columns

- Insert one lifting column into one end of the crossbar with the head of the lifting column facing inward. Make sure the mounting holes on the lifting column completely align with the screw holes on the crossbar.
- Fix the lifting column
with crossbar using 4 screws
with the Allen wrench
. - Repeat the same process to assemble the other lifting column.
Assembling the Feet

- Place the foot on the bottom of the lifting column. Align the mounting holes on the foot with the screw holes on the lifting column.
- Fix the foot
)using 4 screws{
with the Allen wrenche
. - Repeat the same process to assemble the other foot.
Assembling the Fixing Plate
- Align the mounting holes on the fixing plate with the screw holes as shown.
- Attach the fixing plate
on the center of the crossbar with 2 screws
using a Phillips screwdriver. Note: The arrow on the fixing plate indicates the direction of sliding in the control box. Follow
the direction of the arrow to mount the control box in the next step.

The fixing plate can be attached to either of the right side and the left side.
Attaching the Control Box
CAUTION
- Turn over the desk frame with the crossbar facing up.
At least two people are required when turning over the desk frame. If only one person turns over the desk frame, serious bodily injuries might occur. - Connect the cords, control box and motors.

Note
- Please make sure the slot on the control box
is facing upward There is no corresponding relation between the motor ports and the lifting columns. - The picture of the controller is for your reference only. Actual product may vary:

- Connect the two motor cords to the two ports marked “Ml” and “M2” (one on each side of the control box).
- Connect the controller
)cord to the port marked “HS”. - Insert the power plug
) in the port marked “AC”.

- The arrow on the fixing plate indicates the direction of sliding in the control box. Follow the direction of the arrow to mount the control box.
- Slide the control box to the center of fixing plate.
Assembling the Cable Management Tray
- Align the mounting holes on the tray hangers
with the screw holes on the cable management tray. - Assemble the tray hangers to the cable management tray
with 4 screws
from below using a Phillips screwdriver.

Hang the cable management tray on the crossbar as shown.

Tighten the knobs on the tray hangers.
Assembling the Desktop
Attach the anti-vibration pad
to the surface of the crossbar on the ten positions as shown.

- Align the previously drilled screw holes with the mounting holes on the crossbar. Insert and tighten the 4 screws
from below. - Repeat the same process to assemble the other side of the desktop.

- Attach the controller to the desktop with 2 screws
) using a driller. - Stick the adhesive cable clip
under desk to organize cords.

Level Adjustment
There are two adjustable foot pads under each foot. If the floor isn’t even, simply turn the pad to adjust the level to make the desk stable.
Tip: Use a bubble level to check if the desktop is even.

Height Adjustment
Connect the desk to power.
You can now use the sit-stand desk.
Note: We have another manual of the digital controller for detailed instruction. Please check the Digital Control Panel For Electric Height Adjustable Desk User Guide.

Digital Control Panel For Electric Height Adjustable Desk
Installation Instruction & User Guide

Operating Control Panel
Note: If the control panel is used for the first time, please reset the system before any normal operation.
Reset the System:
- To reset the system, press and hold the “Up” and “Down” buttons simultaneously.
The unit emits one beep and the display shows “
” and the desk start moving downward and to the lowest position. Never release the buttons until the unit emits one beep again. The desk will move upward a little and the display shows the current desk height. The reset process is finished.
Height Adjustment: Press and hold the “UP” /DOWN” button to lift/lower the desk to your desired height. Press and release the button to lift/lower the desk precisely.

Timer:
- Press the “T” button to set the period of time to inform users to stand up. Each press of the “T” button leads to an 0.5 hour increment. The maximal setting of time is 2 hours.
After setting a period of time, the display will flash for seconds and it will automatically return to show the height of the desk. Then the indicator light on the top right of panel will be on. - The unit emits 5 beeps to remind the users when the set time is up.
- To cancel the timer, repeatedly press the ” T” button until the display shows the current height and the indicator light is off.
Memory Setting:
- To store a memory position, press “M” button and the display will flash “
“. While the “S-” is displayed, press the button 1, 2 or 3. - To call a stored position, press memory button 1, 2 or 3 and the system will start moving to the desired memory position. The display will count the height as it is driving to the memory position. Press any button to stop the motion.
Screen Locking Function:
- For safety reasons this control panel has a locking function. To activate / cancel the locking function, follow the “PART3-Custom Programming Guide: To Change the Screen Lock Function”.
- To lock the control, press “M” for 3 seconds. If the control is locked, only a bar
” is lighting in the display and any operation is invalid. - To unlock the control, press “M” for 3 seconds. The height will be shown in the display. The control will be active for 1 minute but when there are no activations made within 1 minute, the control will go in to locking mode again with the locking function is on.
Switch between CM and INCH: Keep the “T” button pressed for approximately 3 seconds and the reading will change from the current setting.
Power-saving Mode: The system will enter into power-saving mode with display becomes dark when no actions for over 1 O minutes. Touch any button to activate the control panel.
Troubleshooting Guide
This repair guide intends to help you identify and solve the minor problems caused by unusual operation of the electric system of our sit-stand desk.
If the following guides can’t help solve the problems, please contact your point of purchase for service and replace the accessories.
| Error No. | Description |
| E01/E07 | Electrical problem has occurred. Plug out the power and re-plug. |
| HOT | System overheating. Stop operating and allow your desk to remain idle for approximately 18 minutes. |
| E02 | The columns don’t go together. Reset the system. |
| E04 | The control panel is disconnected. Check the connection. Plug out the power and re-plug. |
| E05 | Collision avoidance system has activated. Remove all the objects within the range of motion. |
| E06 | Electrical problem has occurred. Plug out the power and re-plug. If it doesn’t work, replace the control box. |
| EOB | • Collision avoidance system has activated. Remove all the objects within the range of motion. • The control box isn’t placed well. Please make sure the control box is properly attached to the desk frame as the instruction manual or placed well on the even surface. • The power cords have pulled the control box. Manage the cables and keep them from pulling the control box. |
| E11/E21 | The motor cords were disconnected, Check the connection or replace the motor cords. E11 corresponds to M1 connector while E21 corresponds to M2 connector. |
| E12/E22 | Electrical problem has occurred. Plug out the power and re-plug. If it doesn’t work, replace the control box. |
| E13/E23 | Motor wires may be broken. Check the connection or replace the motor cords. E13 corresponds to M1 connector while E23 corresponds to M2 connector. |
| E14/E24 | Hall wires may be broken. Check the connection or replace the motor cords. E14 corresponds to M1 connector while E24 corresponds to M2 connector. |
| E15/E25 | Short circuit. Replace the motors or columns. E15 corresponds to M1 connector while E25 corresponds to M2 connector. |
| E16/E26 | Overload leads to the motor to fail to drive. Remove the items from the desktop then reset the system. |
| E17/E27 | Desk move in wrong direction. Check the connection or replace the motor cords. E17 corresponds to M1 connector while E27 corresponds to M2 connector. |
| E18/E28 | Overload has occurred. Remove the items from the desktop. |
| E42 | Memory can not be read. Plug out the power and re-plug. If it doesn’t work, replace the control box. |
| E43 | Collision avoidance system failure. Replace the control box. |
Custom Programming Guide
Button Function


Note:
- To abort a custom process, press the”T” button or wait approximately 8 seconds until the display automatically returns to show the height of the desk.
- The max.Im in. height limit displayed in the custom mode doesn’t include the thickness of desktop.

















