CASIO DZ-C100 Colpo Camera

Thank you for purchasing this CASIO product.
- Be sure to keep all user documentation handy for future reference.
Operating Principle
Image data captured from the lens is converted to electrical signals by a CMOS imaging element inside the camera and displayed as an image on the camera’s LCD monitor.
The operator composes the image to be photographed while viewing the image shown on the LCD monitor and takes the photograph by pressing the shutter button. The image captured by the CMOS imaging element is converted to electrical signals and the photographed image is saved onto a memory card.
Because the LED light used for illumination is fitted with green and polarizing filters, the operator can use green or polarized lighting as well as normal lighting.
Intended Purpose and Effects
Unlike conventional scopes, this camera allows the user to both observe and photograph the cervix using a single device, without needing to attach a lighting unit or a camera for photography.
The camera uses a lens designed specifically for colposcopic examinations that allows the focus to be adjusted either using auto focus or by using touch focus to focus on the examination site.
A green filter is built into the camera, allowing the filter to be switched with a single touch. This also allows continuous shooting of both normal and a green-filter images that have the same angle of view.
This camera is compact and lightweight, so it is easy to carry and takes up very little space when stored.
Checking the Accessories
When you open the package, check that it contains all the accessories listed below. If any items are missing, contact your original retailer.
- COLPOCAMERA (Model DZ-C100)

- Lithium-ion battery (Model DNP-100M)

- AC adaptor for camera charging

- Lens cap

- Quick Start Guide

Important Information
- The contents of this manual are subject to change without notice.
- The contents of this manual have been checked at each step of the production process. Feel free to contact us if you notice anything that is questionable, erroneous, etc.
- Any copying of the contents of this manual, either in part or its entirety, is forbidden. Except for your own personal use, any other use of the contents of this manual without the permission of CASIO COMPUTER CO., LTD. is forbidden under copyright laws.
- CASIO COMPUTER CO., LTD. shall not be held liable for any damages or lost profits suffered by you or any third party due to the use or malfunction of this product.
- CASIO COMPUTER CO., LTD. shall not be held liable for any damages or lost profits caused by loss of memory contents due to malfunction, repair, or any other reason.
- Note that the example screens and product illustrations shown in this manual may differ somewhat from the screens and configuration of the actual camera.
LCD Panel
The liquid crystal panel of the monitor screen uses high-precision technology that provides a pixel yield in excess of 99.99%. This means that some very small number of pixels may not light or may remain lit at all times. This is due to the characteristics of the liquid crystal panel, and does not indicate malfunction.
Take test shots
Before shooting your final image, shoot a test shot to ensure that the camera is recording correctly.
Disinfection Method
Keep this camera clean by always disinfecting it before and after use. Wearing medical gloves, carefully wipe the camera’s lens and body with a wet wipe soaked in an ethanol solution of at least 70% concentration.
- Because ethanol used for disinfection vaporizes rapidly into a flammable vapor, it may ignite if used near an open flame. Do not use ethanol for disinfection close to an open flame.
Component Names
Numbers in parentheses ( ) indicate the main page on which the component is described.
Front

- Shutter button
- EV button(exposure compensation)
(Power) button/Operation check indicator- Microphone
- Normal light
- Green light
- Polarized light
- Lens
Rear
- Zoom button (pages 28, 30, 38, 44)
- Connector cover
- [DC IN] jack
- [USB] port (page 54)
- [HDMI OUT] port
- [MODE] button
(Playback) button (pages 22, 27, 30)- LCD monitor (pages 8, 10, 27)
Base
- Strap mount
- Speaker
- Battery/Memory card slot (pages 11, 20)
- Battery cover
- Tripod mount
Use when mounting the camera on the CAMERA STAND.
LCD Monitor Display Details and Switching Procedure
The LCD monitor uses icons and numbers to display a wide range of information.
- The screen pictured below is to show where the different information is displayed. The actual LCD monitor will not appear as shown here.
When shooting still images

- Recording mode (page 35)
- Focusing frame (page 29)
- No. of remaining still image shots (page 89)
- Wi-Fi communication status (page 48)
- Battery level indicator (page 15)
- Information display selector icon (page 10)
- Exposure mode selector icon (page 40)
- Photography icon (page 28)
- Light selector icon (page 40)
- Filter selector icon (page 41)
- Image size for a still image
- Date/Time (pages 24, 61)
- Doctor ID (page 62)
- Patient ID (page 62)
- Exposure compensation value (page 37)
- Digital zoom (page 38)
(recall) icon (pages 41, 49, 50, 60)- Settings icon (pages 41, 49, 50, 52, 60)
- Wi-Fi connection selector icon (page 60)
- Self-timer icon (page 41)
When shooting videos

- Recording mode (page 35)
- Video shooting time
- Remaining video shooting time (page 89)
- Recording start icon (page 36)
When playing back still images

- Recording mode (page 35)
- No. of images (current/total images) (page 89)
- Battery level indicator (page 15)
- Thumbnail display selector (page 44)
- Trash icon (pages 31, 63)
- Doctor ID (page 62)
- Recording date (pages 24, 61)
- Patient ID (page 62)
- Exposure compensation value (page 37)
- Shooting scale (page 38)
(recall) icon (pages 41, 49, 50, 60)- Shooting filter (page 41)
- Settings icon (pages 41, 49, 50, 52, 60)
- Wi-Fi connection selector icon (page 60)
When playing back videos

- Playback start icon (page 30)
- Pause icon
- Rewind icon
- Stop video playback icon
- Video volume setting icon (page 45)
- Video playback time (page 89)
Selecting the details displayed on the LCD monitor
Tapping
(information display selector) allows you to toggle between showing and hiding information on the screen. This can be selected in both recording mode and playback mode.
Recording mode
| Normal display | Normal screen display. |
| Clear display mode | No information is displayed. |
| Full display mode | The normal display information and all other information is displayed. |
See page 39 for details.
Playback mode
| Information display ON | Photography settings, date, time and other information are displayed. |
| Information display OFF | The recorded information is not displayed during playback. |
Introduction (Basic Operation)
After unpacking the product, charge the battery
The battery is not fully charged at the time of purchase. Use the procedure below to load the battery into the camera and charge it.
- This camera uses a CASIO dedicated lithium-ion rechargeable battery (DNP-100M) as its power supply. (Batteries other than the DNP-100M cannot be used.)
Inserting the battery
- Open the battery cover.

- Insert the battery.
Hold the battery so that the CASIO logo faces down (towards the lens) and insert the battery so that the side of the battery shifts the stopper in the direction of the arrow. Push the battery in firmly until the stopper engages with the battery.
- Close the battery cover.

Replacing the battery
- Press [p] (Power) to switch the camera off and then open the battery cover.
- Remove the battery and insert a new battery.
- Close the battery cover.

IMPORTANT!
- When you have pressed [p] (Power) to switch the camera off, do not remove the battery while the operation check indicator (page 7) is flashing green. Doing so may cause data to be deleted or corrupted.
NOTE
- The battery can be replaced while the camera is still mounted on the CAMERA STAND. See “Preparing the CAMERA STAND (sold separately)” (page 16) for details.
Charging
Charging using the AC adaptor for camera charging
This method charges the battery while it is in the camera. With the camera switched off, connect the cable in the sequence shown as ➀, ➁. Charging time: Approx. 4 hours 30 minutes
- When disconnecting the adaptor from the camera, always disconnect the camera end of the cable (➁ in the above diagram) first.
IMPORTANT!
- If you press the [
(Power) button when the AC adaptor for camera charging is connected to the camera, the camera starts up. At that point, charging stops. - The AC adaptor for camera charging heats up slightly during charging. This is normal and does not indicate malfunction.
Operation check indicator operation
| Action | Details |
| Lights orange | Charging |
| Flashes red | Abnormal ambient temperature, AC adaptor fault or battery fault (page 81) |
| Off | Charging completed |

Other Important Notes on Charging
- The lithium-ion battery (DNP-100M) should only be charged using the methods specified in this manual.
- If the battery has become hot after being used, it may not be fully charged. Allow the battery to cool down and then recharge it.
- The battery will self-discharge even when it is not being used. Always charge the battery before use.
- Charging may produce interference with a TV or radio. In this event, use a mains power socket that is as far away as possible from the TV or radio.
- Charging times will vary somewhat depending on the battery capacity, its remaining charge and the operating environment.
- For charging, use the device specified in this manual. The use of any other device could make it impossible to correctly charge the battery.
- To cut off power to this camera, unplug the AC adaptor from the mains power socket.
- Do not place this camera in a location that interferes with connecting or disconnecting the AC adaptor.
- Do not operate this product with wet hands when using the AC adaptor.
- In environments where this product is used with patients, charge it using the AC adaptor for camera charging.
Checking the remaining battery charge
As the battery uses up charge, the battery level indicator shown on the LCD monitor changes as shown below.
| Battery level | |
| Battery level indicator | |
| Level indicator color |
Indicates that the battery is low on charge. Recharge the battery soon.
Indicates that the camera cannot take photos. Recharge the battery immediately.
- The battery level indicator status may change if you switch from recording mode to playback mode or vice-versa.
- If the camera is left unused for roughly 20 days without the battery loaded or with a depleted battery, the date/time setting will be reset. Reset the date in the date setting notification screen that appears the next time you switch the camera on (page 61).
- See page 91 for information on the battery life and the number of shots.
- If you switch the camera on during charging with the AC adaptor, the battery level indicator shows
(Under power).
Making your battery last longer
This camera is equipped with Sleep and Auto Power Off functions to reduce its power consumption.
- Sleep function
If the camera is not used for a set time* in recording mode, it switches to Sleep mode and the LCD monitor and LED light switch off. Pressing any button will wake the camera from Sleep mode.
* The default setting is 5 minutes. See page 61 for the procedure for changing the setting. - Auto Power Off function
If the camera is not operated in any way for approximately 10 minutes while in use, it automatically shuts down.
Preparing the CAMERA STAND (sold separately)
The CAMERA STAND (CST-100M, sold separately) can be used for greater convenience during observations and photography.
CAMERA STAND component names

- Camera mount
- Grip
- Arm
- Hook
- Locking band
- Handle
- Balance weight
- Magnets
- Caster (with stopper)
Attaching the camera to the CAMERA STAND
- Attach the camera to the camera mount. Turn the mount screw in the direction of the arrow to fix the camera in place.
Precautions when attaching the camera

- Do not place the CAMERA STAND in an unstable location.
- Always apply the caster stoppers where the stand will be used.
- Attach the camera with the arm in the folded position.
- Check that the mount screw is securely tightened.
- Do not use the CAMERA STAND with products other than the COLPOCAMERA (DZ-C100).
- Check that the camera is attached in the correct orientation.
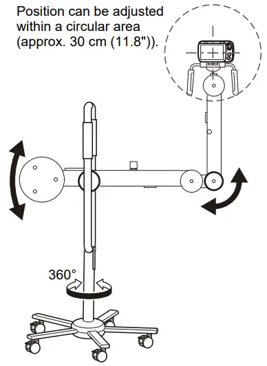
Adjusting the camera position
- Remove the locking band from the hook to open the stand.

- Holding the grip, release the arm from the magnets to open it. Release the arm from the 2 magnets and open out the arm. Move the arm and balance weight slowly and carefully to avoid bumping into surrounding objects.

Extended state and range of movement
- Hold the grips to adjust the camera position.
Watch the image on the LCD monitor to determine the camera position.
Precautions when adjusting the camera position

- The valid range for shooting distances (from the front of the camera to the examination site) is approx. 19-38 cm (7.5″ – 15″).
- If you are charging the camera while it is mounted on the CAMERA STAND, take care not to trip over the AC adaptor cord.
Inserting and removing the battery and SD card when using the CAMERA STAND
The battery and SD card can be inserted and removed when the camera is mounted on the CAMERA STAND.
Precautions when stowing the CAMERA STAND

- Holding the grip, close the arm.
- Take care not to trap your fingers when folding the arm.
- Check that the magnets are in contact with the other end of the arm and then fit the locking band onto the hook.
- The locking band can be fitted onto the hooks on either side (left or right).
Use the procedure below to stow the camera while it is still attached to the camera mount.

- Face the lens surface outwards so that the lens does not touch the arm.
- Fold the arm in towards the side of the CAMERA STAND.
- Hold the stand by the handle when relocating it.
- Always apply the caster stoppers where the stand will be stowed.
Preparing Memory Cards
To store photographed images, use a third-party memory card. (No memory card is provided with this camera.) This camera has built-in memory that allows you to shoot a number of still images and short videos. If a memory card is inserted, the images and videos you shoot are recorded on the memory card. If not, they are recorded in built-in memory.
- See page 89 for information on the number of still images and videos you can store.
Supported memory card types
- SD Memory Card
- SDHC Memory Card
- SDXC Memory Card

- The list of supported memory card types is valid as of January 2022.
- This product supports memory cards that comply with the SD standard. The memory card capacities under that standard are up to 2 GB for SD memory cards, 2 to 32 GB for SDHC memory cards and 32 GB to 2 TB for SDXC memory cards. Note that these capacities and card functioning are not guaranteed for all memory cards, even those listed above.
It is recommended that you use only CASIO-approved memory cards. For specific details such as manufacturers and supported capacities, visit https://dz-image.casio.jp/products/derm/.
Inserting a memory card
- Press
(Power) to switch the camera off and then open the battery cover.
- Insert the memory card.
Hold the memory card with the back side uppermost (towards the LCD monitor) and push it into the memory card slot until you hear a click.
- Close the battery cover

IMPORTANT!
- Do not insert anything other than designated memory cards (page 20) into the memory card slot.
- If any foreign object or moisture gets into the memory card slot, switch the camera off and remove the battery. Then refer to the contact information in “Inquiries Regarding Functioning, Operation or Purchase”.
Replacing the memory card
Pressing the memory card causes it to pop out slightly. Pull it out and insert another memory card.
IMPORTANT!
- Switch the camera off before replacing the memory card.
- When you have pressed [p] (Power) to switch the camera off, do not remove the memory card while the operation check indicator is flashing green. Doing so could result in photographed images not being recorded or the memory card being damaged.
NOTE
- The memory card can be replaced while the camera is still mounted on the CAMERA STAND.
Switching the Camera On/Off
Removing the lens cap Remove the lens cap before taking pictures. To remove the lens cap, grip the handle section of the lens cap and remove slowly. Be sure to fit the lens cap back onto the lens when you have finished shooting.
Switching the camera on
Pressing
(Power) switches the camera on in recording mode so that it is ready to take pictures. Pressing
(Playback) again at this point switches the camera to playback mode and you can view still images or videos shot previously (pages 30, 44).
- Pressing
(Playback) switches the camera on in playback mode. - In playback mode, press
(Playback) or press the shutter button to return to recording mode.
Switching the camera off
Press
(Power).
- If the camera is not used for a set time, the LCD monitor and the camera are automatically switched off by the Sleep function (page 15) and Auto Power Off function (page 15) respectively.
NOTE
- To switch them back on, simply open the LCD monitor.
- You cannot take pictures while the LED is warming up. Wait until the on-screen message disappears.
Using the Touch Panel
The LCD monitor on this camera is a touch panel. This enables you to control various camera operations by touching the panel.
Tap
Briefly touch the screen.
Used to select and specify icons and menu options.
Swipe
Touch the screen and then slide your fingertip up, down, left or right on the screen.
Used for operations such as viewing the previous or next image.
Pinch-out
Touch the screen with two fingers and then slide them apart on the screen.
Zooms in on the displayed image.
Pinch-in
Touch the screen with two spread fingers and then slide them closer together on the screen.
Zooms out from the displayed image or displays the image list.
IMPORTANT!
- Do not press on the screen with pointed or hard objects. Doing so could damage the LCD monitor.
- The touch panel has difficulty recognizing fingernails. Use the pad of your finger.
NOTE
- Applying a third-party LCD protective sheet to the panel will make it more difficult for the panel to recognize gestures.
Setting the Display Language, Date & Time When You First Use the Camera
The first time you switch the camera on after purchasing it
A screen for setting the display language, date & time appears. If you do not set the date & time, the correct date & time will not be recorded on photographed images.
- Press
(Power) to switch the camera on. - Set the display language.
Select the language to be displayed in the screens and tap
.
The explanations in this Guide are with the display language set to “English”.
You can change the display language setting. See page 61. - Set the date & time.
Tap the year, month, day, hour, minute or am (or pm)/ 24h, and then swipe up or down to change the setting.
- Once you have finished setting the date & time, tap
to complete the settings.
If you set the date or time incorrectly, you cannot correct it using the above procedure. Refer to page 61 to correct the settings.
NOTE
- If you set the time and then immediately remove the battery, the set time may be reset. After setting the time, leave the battery in the camera for at least 24 hours.
Opening and Closing the LCD Monitor
The LCD monitor on this camera is hinged at the top so that it opens 180° upwards.
Opening the LCD monitor
As shown in the illustration, place your fingertip at (A) in the center of lower edge of the LCD monitor and lift it upwards so that it rotates and opens.
- The LCD monitor does not open from the top. Always open it from the bottom, as shown in the illustration.

IMPORTANT!
- Opening the LCD monitor switches the camera on.
- When closing the LCD monitor, take care not to trap your finger in the top or bottom of the LCD monitor.
- Do not press on the LCD monitor with excessive force. Doing so could damage the LCD monitor.
NOTE
- Close the LCD monitor when not using the camera.
Closing the LCD monitor
As shown in the illustration, hold (A) in the center of lower edge of the LCD monitor and rotate it downwards so that it closes.
Making Observations and Taking Pictures Correctly
- To make observations and take pictures correctly, you need to set up and operate the camera correctly.
- Use the CAMERA STAND (sold separately).
Installing the camera on the CAMERA STAND (sold separately)
Install the camera on the CAMERA STAND correctly (page 16).
Adjust the arm and set up the camera so that the range of shooting distances (from the front of the camera to the examination site) is approx. 19-38 cm (7.5″ – 15″).
NOTE
- Always apply the CAMERA STAND caster stoppers when making observations or taking pictures.
- When stowing the camera while it is still attached to the camera mount, take care to face the lens surface outwards so that the lens does not touch the arm (page 19).
- See page 16 “Preparing the CAMERA STAND (sold separately)” for further information on the CAMERA STAND.
Observation and Photography
You can take pictures either by pressing the shutter button or by tapping
(Shoot) on the screen. To shoot images that are clear and not affected by camera shake, use the CAMERA STAND to fix the camera in place.
NOTE
- See page 28 for detailed information on taking pictures by pressing the shutter button.
- See “Using the Touch Panel to Take Pictures (Touch Focus)” (page 29) for detailed information on taking pictures by tapping (Shoot) on the screen.
Photography
Setting the recording mode
This camera features 3 recording modes that can be selected according to the purpose of the shooting.
CONT,
SINGLE,
MOVIE
- For detailed information on the modes, see “Setting Recording Modes and Shooting Still Images and Videos” (page 35).
- Press
(Power) to switch the camera on.
The camera switches on in recording mode and is ready to take pictures.- If the camera is in playback mode, press
(Playback) or the shutter button.
- If the camera is in playback mode, press
- Press [MODE] and select the recording mode.
The mode changes in the sequence shown below each time you press [MODE].
CONT→
SINGLE→
MOVIE

Using the Shutter Button to Take Pictures
- Point the camera at the subject.
- You can change the zoom ratio at the center of the focusing frame. See page 29 for information on moving the focusing frame and page 38 for detailed information on zooming.

- You can change the zoom ratio at the center of the focusing frame. See page 29 for information on moving the focusing frame and page 38 for detailed information on zooming.
- Press the shutter button down halfway to focus the image. When the image is focused, the operation check indicator and focusing frame turn green.

When you press the shutter button down halfway, the camera automatically sets the exposure and focus for the subject it is pointed at. Learning just how much pressure will press the shutter button down halfway is one of the secrets to shooting crystal-clear still images.
Press down halfway
Press down gently until it stops
- With the camera fixed in place, press the shutter button down fully.
A still image is photographed.
Press down fully
All the way
To shoot a video
Tap
to start shooting a video.
Tap
to stop shooting. See page 36 for detailed information on shooting videos.
- You can also take photos by tapping . See page 29 for details.
If the image is out of focus
If the focusing frame is red, the image is not in focus. Point the camera at the subject again or try focusing by placing the lens directly onto the affected area.
Using the Touch Panel to Take Pictures (Touch Focus)
- Point the camera at the subject.
- You can change the zoom ratio at the center of the focusing frame. See page 38 for details.

- You can change the zoom ratio at the center of the focusing frame. See page 38 for details.
- . Touch the position on the screen that you want to focus on.
The focusing frame moves to match the touched position. When the image is focused, the focusing frame turns green.
After a set time has elapsed, the focusing frame turns white, but when you take a picture (see step 3), the image is automatically refocused.
- Touch
(shoot) on the screen.
A still image is photographed.
To shoot a video
Tap
to start shooting a video.
Tap
to stop shooting. See page 36 for detailed information on shooting videos.





































