
HFW1500DP Bullet HDCVI Camera
User Manual
HFW1500DP Bullet HDCVI Camera
Welcome
Thank you for purchasing our HDCVI camera!
This user’s manual is designed to be a reference tool for your system.
Please read the following safeguard and warnings carefully before you use this series product!
Please keep this user’s manual well for future reference!
Important Safeguards and Warnings
Electrical safety
- All installation and operation here should conform to your local electrical safety codes.
- The power shall conform to the requirement in the SELV (Safety Extra Low Voltage) and the Limited power source is rated DC 12V or AC24V in the IEC60950-1. (Power supply requirement is subject to the device label).
- Please install the easy-to-use device for power off before installing wiring, which is for emergent power off when necessary.
- Please check if the power supply meets the requirements of the working voltage of the camera before operating the device (The material and length of the power supply cable will influence the terminal voltage value).
- Please prevent the line cord from being trampled or pressed, especially the plug, power socket, and the junction from the device.
Environment
- Please don’t aim the device at strong light (such as lighting, sunlight, and so on) to focus.
- Please transport, use and store the device within the range of allowed humidity and temperature.
- Please do not allow water and other liquid to fall into the camera in case the internal components are damaged.
- Please keep sound ventilation in case of heat accumulation.
- Heavy stress, violent vibration or water splash are not allowed during transportation, storage and installation.
- Please pack the device with standard factory packaging or material of the same quality when transporting the device.
- It is recommended to use the device together with the lightning protection device to enhance the lightning protection effect.
- It is recommended to GND the device to enhance device reliability.
- It is advised to use qualified video transmission cable to improve video quality. It is recommended to use 75-3 coaxial cable or higher standards.
Warning
- Please use the standard accessories provided by the manufacturer and make sure the device is installed and fixed by professional engineers.
- Please prevent the device surface from the radiation of the laser beam when using the laser beam device.
- Please do not provide two or more power supply modes for the device, otherwise, it may cause damage to the device.
Statement
- Please refer to the actual product for more details; the manual is just for reference.
- The manual will be regularly upgraded according to the product update; the upgraded content will be added in the manual without prior announcement.
- Please contact customer service for the latest procedure and supplementary documentation.
- The company is not liable for any loss caused by the operation which is not followed by the manual
- Please refer to the company’s final explanation if there is any doubt or dispute.
General Introduction
Overview
This series HDCVI camera conforms to the HDCVI standard. It supports video signal high-speed long-distance transmission without any delay. It can be controlled by the HCVR conforming to the HDCVI.
Features
- High-performance CMOS image sensor, megapixel definition.
- Support HD video, control signal coaxial transmission.
- For the 720P series, support 75-3 coaxial cable transmission without any loss. The distance is over 800m. For the 1080P series, support 75-3 coaxial cable transmission without any loss. The distance is over 500m.
- Support HDCVI HD/SD output.
- Support ICR switch to realize surveillance both in the daytime and at night.
- Support OSD menu adjustment parameters.
- Support smart IR function.
- Support DWDR function.
- Support High speed, long-distance real-time transmission.
- Support DC12V power supply.
- Support IP67 compliance.
- Support ICR switch to realize surveillance both in the daytime and at night.
- Support photosensor IR control function.
- It can be applied to various scenes such as stores, supermarkets, coffee shop, schools, hotels, offices, restaurants, gardens, parking lots and etc.
Device Framework
Please refer to Figure 2-1 for the dimension information of model A. The unit is mm.
![]() | ![]() |
![]() | ![]() |
![]() | ![]() |
![]() | |
Installation
Important
- Before the installation, please make sure the installation surface can sustain at least 3X the weight of the bracket and the camera.
Model A

Step1
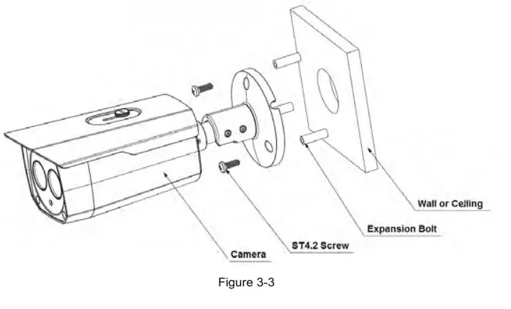
Take out the camera cable through the cable exit of the bracket chassis and install the camera bracket. If it is a cement wall, you need to install an expansion bolt first (the installation hole of the expansion bolt needs to be in accordance with the bracket), then use a self-tapping bolt to install bracket, which is shown in Figure 3-1. If it is a wooden wall, you can skip the first step and use a self-tapping bolt to install the bracket directly.
Step 2
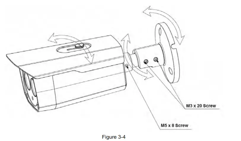
Unscrew the M3×20 and M3×5 screws on the bracket in the direction shown in Figure 3-2, adjust the camera to an exact location that needs to be monitored by rotating the racket and camera body, then secure the bolts.

Step 3
Connect the video output port of the device cable to the HCVR, and connect the power port of the device cable to the power.
Step 4
After the image is shown on the HCVR, open the lower cover of the camera and adjust the lens focal length by focus/zoom lever to make the image clear and secure the lever. Retighten the camera lower cover and complete the installation.
Model B/Model C

Step 1
Install the camera bracket according to your installation mode.
Before you install the bracket, please pull the cable through the cable exit of the installation surface or pull the cable through the cable exit of the bracket.
- Please install the expansion bolt if you want to install in the cement wall (Please make sure the installation holes of the expansion bolts are the same as the bracket.) Then you can install the bracket.
- If you want to install on the wood surface, please skip the first step and then use the self-tapping screws to install the bracket directly.
Step 2
Put the two self-tapping screws to the two expansion blots at the top left and the top right. Secure the bracket on the self-tapping screws.
Important The screw depth shall reserve 8mm-10mm to secure the bracket. Step 3 Fix the other two self-tapping screws and the secure. Now the camera is fixed on the installation surface.
Step 4 Use the L wrench (provided) to loosen the adjusting screw to make the camera can monitor the corresponding surveillance zone. Use the L wrench to adjust the adjusting screw to fix the camera firmly.

Step 5
Connect the video output port of the device cable to the rear-end encode devices such as DVR or NVS. Then connect the power port of the device cable to the corresponding power supplying source. Now you have completed the device installation and cable connection. You can use the terminal encode device to view the monitor video.
Model D
Step 1
Dig three holes in the installation surface of the wall or the ceiling. Insert three expansion bolts to the three holes and then lock firmly. See Figure 3-5.

Step 2
First, prepare the cable according to the cable. Line up the three screw holes at the bottom of the bracket to the three installation holes in the wall or the ceiling, and then insert three screws to the three holes of the chassis of the bracket and fix them firmly. Now secure the bracket on the installation surface of the wall or the ceiling.
Step 1
Install the camera bracket. Please install the expansion bolt if you want to install in the cement wall (Please make sure the installation holes of the expansion bolts are the same as the bracket.) Then you can install the bracket. See Figures 3-7. If you want to install in the wood surface, please skip the first step and then use the self-tapping screws to install the bracket directly.
Step 2 Install the camera. Use the screws to install the camera to the bracket via the installation pedestal of the bottom of the camera.
Step 3
Adjust the camera to the proper monitor area and then secure the button of the bracket to fasten the camera. See Figure 3-8.

Step 1
- Please install the expansion bolt if you want to install in the cement wall (Please make sure the installation holes of the expansion bolts are the same with the bracket.) Then you can install the bracket. See Figures 3-9.
- If you want to install in the wood surface, please skip the first step and then use the self-tapping screws to install the bracket directly.
Step 2
Unscrew the locking screws on the bracket in the direction shown in Figure 3-10, adjust the camera to an exact location that needs to be monitored by rotating the bracket and camera body, and then secure the bolts.

Step 3
Connect the video output port of the device cable to the terminal encode devices, and connect the power port of the device cable to the power.
Model G

Step 1
Install the camera bracket.
Please install the expansion bolt if you want to install in the cement wall (Please make sure the installation holes of the expansion bolts are the same with the bracket.) Then you an install the bracket. See Figure 3-11.
If you want to install in the wood surface, please skip the first step and then use the self-tapping screws to install the bracket directly.
Install the camera. Use the screws to install the camera to the bracket via the installation pedestal of the bottom of the camera.
Step 3 Adjust the camera to the proper monitor area and then secure the button of the bracket to fasten the camera. See Figure 3-12.

HCVR Settings
This HDCVI camera series can adjust OSD menu via coaxial control. After connecting the camera to the HDCVI series HCVR, from Main Menu->Setting->System->PTZ, you need to select the channel number for access and set control mode as HDCVI and the protocol as HDCVI. Click the “Save” button to save current setup. See Figure 4-1.
Menu Operation
Click the right mouse button and select “PTZ Control”, then you will see the “PTZ Setup” menu, which is as shown in Figures 4-2 and Figure 4-3.


See Sheet 4-1 for the details of button functions.
| Button | Function |
| Open menu | |
| Select menu item | |
| Select menu value |
If there is “ ”, click the “Confirm” button in the “Menu Operation” interface to go to the 2nd menu.
Click the “Return” button to go back to the previous menu interface.
Please use a UTC controller or enter the OSD menu to switch over between HD & video output.
Note:
- This manual is for reference only. A slight difference may be found in the user interface.
- All the designs and software here are subject to change without prior written notice.
- All trademarks and registered trademarks mentioned are the properties of their respective owners.
- If there is any uncertainty or controversy, please refer to our final explanation of us.
- Please visit our website or contact your local service engineer for more information.


























