
D0T(C) Series Bullet Camera
User Manual
Thank you for purchasing our product. If there are any questions or requests, do not hesitate to contact the
dealer. This manual applies to the models below:
| Model |
| DS-2CE17D0T-IT1/3/5(C) |
| DS-2CE17D0T-IT1/3/5F(C) |
This manual may contain several technical mistakes or printing errors, and the content is subject to change
without notice. The updates will be added to the new version of this manual. We will readily improve or update the products or procedures described in the manual.
030000210421
Regulatory Information
FCC Information
Please take attention that changes or modifications not expressly approved by the party responsible for compliance could void the user’s authority to operate the equipment.
FCC compliance: This equipment has been tested and found to comply with the limits for a Class A digital
device, pursuant to part 15 of the FCC Rules. These limits are designed to provide reasonable protection against harmful interference when the equipment is operated in a commercial environment. This equipment
generates, uses, and can radiate radio frequency energy and, if not installed and used in accordance with the
instruction manual may cause harmful interference to radio communications. Operation of this equipment in a
residential area is likely to cause harmful interference in which case the user will be required to correct the
interference at his own expense.
FCC Conditions
This device complies with part 15 of the FCC Rules. Operation is subject to the following two conditions:
- This device may not cause harmful interference.
- This device must accept any interference received, including interference that may cause undesired operation.
EU Conformity Statement
This product and – if applicable – the supplied accessories too are marked with “CE” and comply therefore with the applicable harmonized European standards listed under the Low Voltage Directive 2014/35/EU, the EMC Directive 2014/30/EU, the RoHS Directive 2011/65/EU.
2012/19/EU (WEEE directive): Products marked with this symbol cannot be disposed of as unsorted municipal waste in the European Union. For proper recycling, return this product to your local supplier upon the purchase of equivalent new equipment, or dispose of it at designated collection
points. For more information see www.recyclethis.info. 2006/66/EC (battery directive): This product contains a
battery that cannot be disposed of as unsorted municipal waste in the European Union. See the product documentation for specific battery information. The battery is marked with this symbol, which may include lettering to indicate cadmium (Cd), lead (Pb), or mercury (Hg). For proper recycling, return the battery to your supplier or to a designated collection point. For more information, see www.recyclethis.info.
Industry Canada ICES-003 Compliance
This device meets the CAN ICES-3 (A)/NMB-3(A) standards requirements.
Warning
This is a class A product. In a domestic environment, this product may cause radio interference in which case the user may be required to take adequate measures.
Safety Instruction
These instructions are intended to ensure that users can use the product correctly to avoid danger or property
loss. The precaution measure is divided into “Warnings” and “Cautions”.
Warnings: Serious injury or death may occur if any of the warnings are neglected. Cautions: Injury or equipment damage may occur if any of the cautions are neglected.
| Warnings Follow these safeguards to prevent serious injury or death. | Cautions Follow these precautions to prevent potential injury or material damage. |
Warnings- In the use of the device, you must be in strict compliance with the electrical safety regulations of the nation and region.
- Input voltage should meet both the SELV (Safety extra-low Voltage) and the Limited Power Source with 12 VDC according to the IEC60950-1 standard and IEC62368-1 standard. Refer to technical specifications or detailed information.
- Do not connect multiple devices to one power adapter to avoid over-heating or a fire hazard caused by overload.
- Make sure that the plug is firmly connected to the power socket. Make sure that the device is firmly fixed if wall mounting or ceiling mounting is adopted.
- If smoke, odor, or noise rises from the device, turn off the power at once and unplug the power cord, and
then contact the service center. - Never attempt to disassemble the camera by the unprofessional person.
Cautions
- Do not drop the camera or subject it to physical shock.
- Do not touch senor modules with fingers.
- Do not place the camera in extremely hot, cold (the operating temperature shall be -40°C to 60°C), dusty
or damp locations, and do not expose it to high electromagnetic radiation. - If cleaning is necessary, use a clean cloth with a bit of ethanol and wipe it gently.
- Do not aim the camera at the sun or extra bright places.
- The sensor may be burned out by a laser beam, so when any laser equipment is in use, make sure that
the surface of sensor will not be exposed to the laser beam. - Do not expose the device to high electromagnetic radiation or extremely hot, cold, dusty, or damp
environment. - To avoid heat accumulation, good ventilation is required for the operating environment.
- Keep the camera away from the liquid while in use for non-water-proof devices.
- While in delivery, the camera shall be packed in its original packing, or packing of the same texture
Introduction
1.1 Product Features
The main features are as follows:
- High-performance CMOS sensor
- Auto white balance
- Smart IR
- 3-Axis Adjustment
1.2 Overview
Camera models without F refer to TVI cameras and those with F refer to 4 in 1 video output cameras.

Figure 1-1 Overview of Camera Model Without F
Note: This camera is TVI only.

Figure 1-2 Overview of Camera Model with F
Note: Press and hold the switch button for 5 seconds to switch the video output. Four kinds of video outputs are available: TVI, AHD, CVI, and CVBS.
Installation
Before you start
- Make sure that the device in the package is in good condition and all the assembly parts are included.
- Make sure that all the related equipment is power-off during the installation.
- Check the specification of the products for the installation environment.
- Check whether the power supply is matched with your power output to avoid the damage.
- Make sure the wall is strong enough to withstand three times the weight of the camera and the mount.
- If the product does not function properly, contact your dealer or the nearest service center. Do NOT
disassemble the camera for repair or maintenance by yourself.
2.1 Ceiling/Wall Mounting without Junction Box Before you start:
Ceiling mounting and wall mounting are similar. Following steps take ceiling mounting as an example.
Steps:
- (Optional) For cement ceiling, drill the screw holes with a 5.5 mm drill and insert the supplied wall plugs.
- (Optional) Drill the cable hole when the cables are routed through the ceiling.
- Align the screw holes in the bracket to the ceiling, and secure the camera with three PA4 × 25 screws (supplied).

Figure 2-1 Secure the Camera on the Ceiling - Connect the power cord and video cable.
- Power on the camera to check if the image on the monitor is gotten from the optimum angle. If not,
adjust the camera according to the figure below.
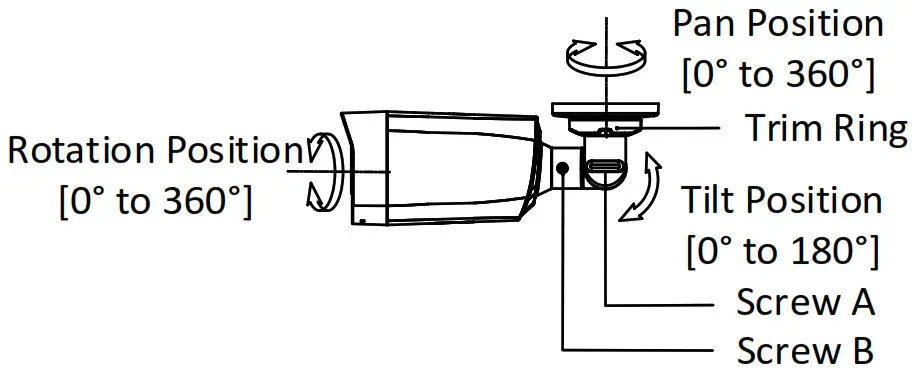
Figure 2-2 3-Axis Adjustment
1). Loosen the trim ring to adjust the pan position [0° to 360°].
2). Loosen screw A to adjust the tilt position [0° to 180°].
3). Loosen screw B to adjust the rotation position [0° to 360°]. - Turn the trim ring clockwise and tighten screws A and B to finish installation.
2.2 Ceiling/Wall Mounting with Junction Box
Before you start:
- You need to purchase a junction box in advance.
- Ceiling mounting and wall mounting are similar.
Following steps take wall mounting as an example.
Steps:
- Paste the drill template for junction box to the place where you want to install the camera.
- (Optional) For cement wall, drill the screw holes with a 5.5 mm drill and insert the supplied wall plugs.

Figure 2-3 Drill Template for Junction Box - (Optional) Drill the cable hole, when the cables are routed through the wall.
- Take apart the junction box.
- Align the screw holes of the camera with those on the junction box cover. Attach the camera to the junction box cover with three PM4 × 10 screws.
Figure 2-4 Attach the Camera to the Junction Box Cover - Secure the junction box body on the wall with three PA4 × 25 screws (supplied).

Figure 2-5 Secure the Junction Box on the Wall - Route the cables through the bottom cable hole or side cable hole of the junction box and connect the
cables. - Fix the junction box cover on its body with three PM3 × 16 L6 screws that come with the junction
box.
Figure 2-6 Fix the Junction Box Cover on Its Body - Repeat steps 5 to 6 of 2.1 Ceiling/Wall Mounting without Junction Box to finish the installation.
Please follow the steps below to call the menu.
Note: The actual display may vary with your camera model.
Steps:
- Connect the camera with the TVI DVR and the monitor, as shown in the figure 3-1.
Figure 3-1 Connection - Power on the camera, TVI DVR, and the monitor to view the image on the monitor.
- Click PTZ Control to enter the PTZ Control interface.
- Call the camera menu by clicking
button or calling the preset No. 95.
Figure 3-2 Main Menu Overview - Click the direction arrow to control the camera.
1). Click the up/down direction button to select the item.
2). Click Iris + to confirm the selection.
3). Click left/right direction button to adjust the value of the selected item.
3.1 VIDEO FORMAT
You can set the video format to 2MP@30fps, 2MP@25fps, PAL, or NTSC.
Note:
When switching the video output to TVI/ CVI/ AHD, you can set the video format to 2MP@30fps or 2MP@25fps; when switching the video output to CVBS, you can set the video format to PAL or NTSC.
3.2 EXPOSURE
EXPOSURE MODE
You can set the EXPOSURE MODE to GLOBAL, BLC, HLC, or DWDR.
- GLOBAL
GLOBAL refers to the normal exposure mode which adjusts lighting distribution, variations, and
non-standard processing. - BLC (Backlight Compensation)
BLC (Backlight Compensation) compensates light to the object in the front to make it clear, but this may cause the over-exposure of the background where the light is strong. - HLC (Highlight Compensation)
HLC stands for highlight compensation. The camera detects the strong spots (the over-exposure portion of image), then reduce the brightness of the strong spots to improve the overall images. - DWDR (Digital Wide Dynamic Range)
Digital wide dynamic range gives the camera the ability to view dark areas of the given image as well as
extremely lighted portions of the image, or areas of high contrast.
AGC (Auto Gain Control)
It optimizes the clarity of the image in poor light conditions. The AGC level can be set to HIGH, MEDIUM,
or LOW.
Note: The noise will be amplified when setting the AGC level.
3.3 DAY/NIGHT
COLOR, BW (Black White), and AUTO are selectable for the DAY/NIGHT switch. COLOR
The image is colorful in day mode all the time.
B&W (Black and White)
The image is black and white all the time, and the IR LIGHT turns on in poor light conditions.
You can turn on/off the IR LIGHT and set the value of SMART IR in this menu.
| DAY/NIGHT | |
| MODE | |
| IR LIGHT | |
| SMART IR | |
| BACK | |
| EXIT | |
| SAVE & EXIT | |
Figure 3-3 B&W
- IR LIGHT
You can turn on/off the IR LIGHT to meet different
circumstances. - SMART IR
The Smart IR function is used to adjust the light to its most suitable intensity, and prevent the image from
over-exposure. The SMART IR value can be adjusted from 0 to 3. The higher the value is, the more obvious
effects are.
AUTO
Automatically switch Color, or BW (Black and White) according to actual scene brightness. You can turn on/off the IR LIGHT, and set the value of SMART IR in this menu.
| DAY/NIGHT | |
| MODE | |
| IR LIGHT | |
| SMART IR | |
| D → N THRESHOLD | |
| N → D THRESHOLD | |
| BACK | |
| EXIT | |
| SAVE & EXIT | |
Figure 3-4 AUTO
- IR LIGHT
You can turn on/off the IR LIGHT to meet the requirements of different circumstances. - SMART IR
The Smart IR function is used to adjust the light to its most suitable intensity, and prevent the image from over-exposure. The SMART IR value can be adjusted from 0 to 3. The higher the value, the more obvious effects. - D→ N Threshold (Day to Night Threshold)
Day to Night Threshold is used to control the sensitivity of switching the day mode to the night mode. You can set the value from 1 to 9. The larger the value is, the more sensitive the camera is. - N→ D Threshold (Night to Day Threshold)
Night to Day Threshold is used to control the sensitivity of switching the night mode to the day mode. You can set the value from 1 to 9. The larger the value is, the more sensitive the camera is.
3.4 VIDEO SETTINGS
Move the cursor to VIDEO SETTINGS and click Iris+ to enter the submenu. IMAGE MODE, WHITE BALANCE, BRIGHTNESS, CONTRAST, SHARPNESS, SATURATION, DNR, and MIRROR are adjustable.
| VIDEO SETTINGS | |
| IMAGE MODE | |
| BRIGHTNESS | |
| CONTRAST | |
| SHARPNESS | |
| SATURATION | |
| DNR | |
| MIRROR | |
| BACK | |
| EXIT | |
| SAVE & EXIT | |
Figure 3-5 VIDEO SETTINGS
IMAGE MODE
IMAGE MODE is used to adjust the image saturation, and you can set it to STD (Standard) or HIGH-SAT (High Saturation).
WHITE BALANCE
White balance, the white rendition function of the camera, is to adjust the color temperature according to
the environment. It can remove unrealistic color casts in the image. You can set WHITE BALANCE mode to AUTO or MANUAL.
- AUTO
Under AUTO mode, the white balance is being adjusted automatically according to the color temperature of the scene illumination. - MANUAL
You can adjust the R-GAIN and B-GAIN values to correct colors manually.
| WHITE BALANCE | |
| MODE | |
| R-GAIN | |
| B-GAIN | |
| BACK | |
| EXIT | |
| SAVE&EXIT | |
Figure 3-6 WHITE BALANCE
BRIGHTNESS
Brightness refers to the brightness of the image. You can set the brightness value from 1 to 9 to darken or
brighten the image. The greater the value is, the brighter the image is.
CONTRAST
This feature enhances the difference in color and light between parts of an image.
SHARPNESS
Sharpness determines the amount of detail an imaging system can reproduce.
SATURATION
Saturation is the proportion of pure chromatic color in the total color sensation. Adjust this feature to change
the saturation of the color.
DNR
DNR reduces noise in video stream.
MIRROR
OFF, H, V, and HV are selectable for mirrors.
OFF: The mirror function is disabled.
H: The image flips 180° horizontally.
V: The image flips 180° vertically.
HV: The image flips 180° both horizontally and vertically.
3.5 FACTORY DEFAULT
Reset all the settings to the factory default.
3.6 EXIT
Move the cursor to EXIT and click Iris+ to exit the menu.
3.7 SAVE & EXIT
Move the cursor to SAVE & EXIT and click Iris+ to save the settings, and exit the menu.
UD18170B-B

Figure 2-2 3-Axis Adjustment
Figure 2-4 Attach the Camera to the Junction Box Cover

Figure 3-1 Connection



















