vetus ILTCONF38 Connection Kit for Fuel Tanks
Introduction
This manual applies to the connection kit ILTCONF38 and for the VETUS (fixed) plastic tanks type ATANK (42 to 390 liters) and type APT100 (100 liters) when used as a fuel tank. These tanks comply with the requirements according to ISO 21487.
When installing a fuel tank, the European Recreational Craft Directive (RCD, 2013/53/EU) and any national legislation must be observed. Use the ISO 10088 standard as a guide. See the drawings for dimensions. Tolerances of + or – 2% apply to all dimensions!
Installation
General
When choosing a location for the tank and a place for the deck filler cap, take the following into account: The filler hose must be kept as short as possible, it must run continuously to the tank and be as straight as possible.
Note: Position the tank (ATANK) in such a way that the plug P is on the top side of the tank. Consult the diagrams for placement of plug P.
Warning: Never fit the filler cap in an enclosed space, spilled fuel could then enter the ship!
Positioning
Install the tank in such a way that it is easily accessible for inspection. The tank should always be installed above the maximum bilge water level. Also ensure that there is sufficient free space at the top of the tank for the hose connection. This connection must be easily reached during installation. For ventilation, the tank should have a free space of about 1 cm (3/8”). from bulkheads or other tanks.

- Make sure the tank has a sufficiently secure foundation on which to install it and secure it properly. The dimensions of the tank will increase a little when it is filled. Take this into account when fixing the tank.
- Fix the tank securely with the fitting straps from the installation kit; these will accommodate the expansion of the tank.
Fitting in sailing boats

When fitting remember that the filler hose must always be positioned on the same side of the boat as the tank. This prevents too high a pressure from possibly occurring in the tank when sailing heeled.
Preparation
- The tank must have a threaded connection. ATANK tanks (42 to 390 liters)
- An inspection cover ILT120 must be fitted to these tanks.
Mounting inspection lid

- Mount the inspection lid ILT120, this is not included in the supply. For installation instructions consult the manual supplied with the inspection lid.
- Do not install the nut with the blind plate. The blind plate is not used.
APT100 tanks
These tanks have already been fitted with a collar with screw thread, remove the nut and remove the blind plate and the gasket.
Sticker

- Apply the red ‘Diesel fuel tank’ sticker on the tank, the text must be readable after installation of the tank and also affix the content sticker.
Fitting the connection cover
Clean the inside of the tank before fitting the connection cover.

- Fuel suction line (1)
- Make the suction pipe to the correct length the bottom must be about 6 mm from the bottom of the tank and place the suction pipe on the connection.
- Fuel return line (2)

- Make the return pipe to the correct length the underside must be about 6 mm from the bottom of the tank – and place the suction pipe on the connection. Make sure the right-angled connections are facing away from each other.
- Connection cover (3)
- Position the connection cover (3) as shown in the drawing and fit the nut (4).
- Connections

- Already installed are the hose connections (connections) for:
- filling (5),
- venting (6),
- fuel supply (7), 10 mm diameter
- fuel return (8) 10 mm diameter.
If desired, the 10 mm hose pillars can be replaced with 8 mm hose pillars (9). Fit the supplied blind plug (10) if the fuel return connection is not used, see A.
Note: Check the tightness of all connections before filling the tank.
Connecting the tank
- Filler cap
- Fit the filler cap (20).
Tip: When filling the tank, fuel can overflow from the filler cap and spill onto the deck. This can be prevented by installing a VETUS Fuel Overflow (18) between filler cap (20) and tank. Consult the relevant manual for installing the VETUS fuel overflow.
- Filler hose
- Fit a filler hose (13) between the filler cap and the tank. Use a fire-resistant hose with an internal diameter of 38 mm (1 1/2”). Install this hose in such a way that neither tank or filler cap are mechanically stressed.
- Breather nipple
- Fit the breather nipple (14) as high as possible above the level of the top of the tank.
Warning: Choose a location for the breather nipple at a place where leaking fuel or vapour cannot get into the ship!
Tip: Unpleasant smells may escape from the air breather nipple. This can be prevented by installing an active charcoal filter (VETUS Odour Filter (17) ) in the vent hose (15). Consult the relevant manual for installing the VETUS odour filter.
- Vent hose
- Fit the vent hose (15). Use a fire-resistant hose with 16 mm (5/8”)internal diameter. When viewed from the tank, the vent hose should be fitted in a continuously upwards slope.
- Fuel supply and return
- Connect the fuel supply (7) and the fuel return pipes (8) to their respective fittings. Fit all hose connections using 2 stainless steel hose clamps!
- Earth connection
- All metal parts in the fuel system must be earthed in order to prevent sparks caused by static electricity. Connect an earth wire to the screw on the inspection lid. Also connect an earth wire to the filler cap. Use yellow/green insulated wire with a core cross-section of at least 1 mm2 ( AWG 16).
Check
Check the system for any leaks. Extraction pressure 20 kPa (0.2 bar)(4.4 psi).
PARTS OVERVIEW

- 1 Fuel supply line
- 2 Fuel return line
- 3 Connection lid
- 4 Lid nut
- 5 Filling connection
- 6 Vent (hose pillar)
- 7 Fuel supply
- 8 Fuel return
- 11 Blind plate, the hole for level indicator
- 12 Blind plug G 1/4”
- 13 Filler hose, ø 38 mm
- 14 Breather nipple
- 15 Vent hose, ø 16 mm (5/8”)
- 16 Gooseneck
- 17 Odour filter
- 18 Fuel overflow
- 19 Breather/overflow pipe, ø 16 mm (5/8”)
- 20 Filler cap
Preparing for winter
It is advisable to fill the fuel tank with fuel completely during the winter period in order to prevent condensation. Water droplets in fuel are the ideal transporters of dirt and rust through narrow pipes. A full-fuel tank prevents the growth of bacteria in the tank.
Maintenance
- Regularly check the air relief nipple and clean the sieve in the nipple if necessary.
- Every year, check the hoses and hose connections for possible leakage and fit new hoses and/or hose clamps as necessary.
- Also check the tank for damage caused by chaffing. Replace a damaged tank immediately.
Technical Data
| Type | ATANK | APT100 | |||||||||
| 42 | 61 | 88 | 110 | 137 | 170 | 215 | 335 | 390 | |||
| Capacity | 42 | 61 | 88 | 110 | 137 | 170 | 215 | 335 | 390 | 100 | liter *) |
| 9.2 | 13.4 | 19.4 | 24.2 | 30.1 | 37.4 | 47.3 | 73.7 | 85.8 | 22 | Imp. Gallon *) | |
| 11.1 | 16.1 | 23.2 | 29 | 36.2 | 44.9 | 56.8 | 88.5 | 103 | 26.4 | US Gallon *) | |
| Weight | 3.0 | 4.0 | 6.7 | 7.5 | 9.25 | 11.4 | 13.6 | 25.8 | 26.6 | 11.8 | kg *) |
| 6.6 | 8.8 | 14.8 | 16.5 | 20.4 | 25.1 | 30 | 56.9 | 58.6 | 25.7 | lbs *) | |
| Max. pressure | 30 kPa (0.3 bar, 4.4 psi) | ||||||||||
| Material | mMPE (Metallocene Medium Density Polyethylene), colour : blue | ||||||||||
- The values stated in the Table are nominal values for capacity and weight. Slight deviation is possible.
Connection for tank level sender: for sender with a 5 hole SAE flange

Service parts

| pos. | qty | part | benaming | description |
| 1 | 1 | VP000014 | Pakkingset voor ILTCON | Gasket kit for ILTCON |
| 2 | 2 | VP000131 | Set slangpilaren voor ILTCON 8 mm G1/4 | Set hose pilars for ILTCON 8 mm G1/4 |
| 3 | 2 | VP000132 | Set slangpilaren voor ILTCON 10 mm G1/4 | Set hose pilars for ILTCON 10 mm G1/4 |
| 4 | 2 | VP000016 | Set slangpilaren voor ILTCON 13 mm G1/4 | Set hose pilars for ILTCON 13 mm G1/4 |
| 5 | 2 | VP000133 | Set slangpilaren voor ILTCON 16 mm G1/2 | Set hose pilars for ILTCON 16 mm G1/2 |
| 6 | 1 | ILTCON18 | Pakking | Gasket |
| 7 | 1 | VP000350 | Set slangen voor ILTCONF38 | Set tubes for ILTCONF38 |
| 8 | 1 | VTSTRAP | Set bevestigingsbanden 25 mm – 300 cm | Set mounting straps 25 mm – 300 cm |
| 9 | 1 | VSAW159 | Gatenzaag ø 159 mm (6 1/4″) | Hole saw ø 159 mm (6 1/4″) |
| 10 | 1 | ILTCON90 | Slangpilaar G 1 1/4 – 38 mm 90° knie | Hose pillar G 1 1/4 – 38 mm 90° elbow |
| 11 | 1 | ILTCON38 | Slangpilaar G 1 1/4 – 38 mm | Hose pillar G 1 1/4 – 38 mm |
| 12 | 1 | CLIPSETF | Draadklem set voor ILTCONF38 | Set wire clip for ILTCONF38 |
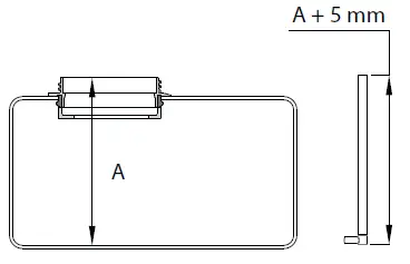
Principal dimensions


CONTACT
- Fokkerstraat 571 – 3125 BD Schiedam – Holland
- Tel: +31 (0)88 4884700
- [email protected]
- www.vetus.com
Printed in the Netherlands
040110.01 2022-06
Copyright © 2022 VETUS Schiedam Holland






















