vetus ILT120B Inspection Port Diesel

Introduction
This manual is applicable to the installation of the inspection lid for rigid tanks. The tank may be made from plastic, GRP or metal and should have a minimum wall thickness of 0.8 mm. ILT120B is suitable for (up to 10% bio) diesel. ILT120X suitable for petrol or (>10% bio) diesel tanks.
Note!
Consult the manual supplied with the tank for instructions on how to connect it.
Installation
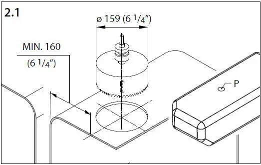
Cutting the hole for the inspection lid

- Position the inspection lid on the top face of the tank. If a VETUS tank is used, then it should be fitted with plug P on the top and the inspection lid should preferably be located so that plug P is removed when the hole is cut.
- Cut the hole in the tank and remove all burrs. Preferably use a hole saw (159 mm, 6 1/4” diam.).
- Clean the inside of the tanks before fitting the inspection lid.
Rubber seal to be applied
Determine the thickness of the wall of the tank and use the indicated rubber seal.
Installation of connector lid
Flange (1)
- Position the flange (1) into the hole of the tank.
- Tighten each of the 4 screws (2) one (-1-) revolution (clockwise) and check if the flange can be rotated easily by hand. Repeat this until the flange can’t be rotated anymore.
- Now all screws have to be tightened four (-4-) turns. Do this by, one after the other, tightening each screw one (-1-) revolution. Repeat this ac-tion three (-3-) times.


Ground connection (3)
- Use the screw to connect the flange to the ground.
Lid (4)
- Screw the lid onto the flange.
NOTE!
Check the tightness of all connections before filling the tank.
| ILT120B | ILT120X | Service onderdelen | Service parts |
| pos. | qty | part | description |
| 1 | 1 | ILTSET1 | Set of rubber seals ILT120B |
| 2 | 1 | ILTVITL | Rubber seal, height 16 mm, for wall thickness 0.8 up to 4 mm for ILT120B/X |
| 3 | 1 | ILTVITH | Rubber seal, height 22 mm, for wall thickness 4 up to 10 mm for ILT120B/X |
| 4 | 1 | ILTSET2 | Cover incl. gasket for inspection lid for ILT120B/X |
| 5 | 1 | ILTCON18 | Gasket |
The blind plate of inspection cover ILT120B can be replaced by ILTCONF38.
Fokkerstraat 571 – 3125 BD Schiedam – Holland
Tel.: +31 (0)88 4884700 – [email protected] – www.vetus.com.





















