Westinghouse WGEN7500DFC 7500 Watt Electric Start Dual Fuel Portable Generator

BEFORE STARTING
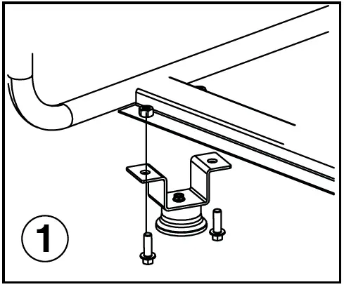
- Install feet to frame.
- Tip the generator onto the muffler side.
- Install the mounting feet to the frame using M8 flange bolts.

- Install wheels
- Install the axle pin, wheel and washer through the axle bracket on the frame.
- Install the hairpin cotter through the axle pin to lock it in place.

- Add engine oil.
- Remove oil fill plug/dipstick
- Using the supplied 4-cycle engine oil and funnel, slowly add engine oil to the engine until full.
- Replace oil fill plug/dipstick.

- Add unleaded gasoline to gas tank.
- Unscrew gas cap on top of tank and insert a clean funnel into the tank.
- Slowly add gasoline into the fuel tank. The gasoline level should NOT be higher than the filler neck.
- Secure gas cap.

- Hook up LPG tank.
- Connect included LPG hose to standard LPG tank and hand tighten.
- Connect other end of LPG hose to regulator on generator and hand tighten.
- Test connections with soapy water to make sure there are no leaks.
STARTING PROCEDURE
- Make sure the generator is OUTSIDE in a well ventilated dry area and FAR AWAY from any doors, windows, or vents.
- Check oil and fuel levels.
- Make sure nothing is plugged into power outlets.
- Connect battery

- Make sure the circuit breakers are properly set to operating.
- Choose fuel source:
- If starting with Gasoline: Turn fuel selector switch to the gasoline position. Move the fuel valve to the ON position.
- If starting with Propane: Turn fuel selector switch to the propane position. Open propane tank valve.

- Switch the engine switch to RUN

- Choose starting method:
- Push-Button Start: Hold for 1 second and release when engine starts.

- Wireless Remote Start: Hold Start button on wireless remote for 1 second and release
- Manual Start: Manually set choke. Pull recoil handle slowly until you feel resistance, then apply rapid pull up and away from generator

- Push-Button Start: Hold for 1 second and release when engine starts.
- Plug in electronic devices.
MAINTENANCE SCHEDULE
Following the maintenance schedule is important to keep the generator in good operating condition. The following is a summary of maintenance items by periodic maintenance intervals.
Refer to the Maintenance section in the Owners Manual to find out how to properly perform maintenance.
| Maintenance Item
| Before Every Use
| After First 25 Hours or First Month of Use
| After 50 Hours of Use or Every 6 Months
| After 100 Hour of Use or Every 6 Months
| After 300 Hours of Use or Every Year
|
| Engine Oil
| Check Level
| Change1 | Change
| – | – |
| Air Filter | – | – | Clean2
| – | Replace
|
| Spark Plug | – | – | – | Check/Clean | Replace |
| Spark Arrestor | – | – | – | Check/Clean | – |
| Fuel Filter | – | – | – | Replace3 | – |
| Valve Clearance | – | – | – | Inspect/Adjust3 | – |
- Change oil every month when operating under heavy load or in high temperatures.
- Clean more often under dirty or dusty conditions.
- Recommended service by authorized Westinghouse dealer.
ENGINE OIL

Only use 4-stroke/cycle engine oil. NEVER USE 2-STROKE/CYCLE OIL.
Synthetic oil is an acceptable substitute for conventional oil.
DANGER: Using a generator indoors
CAN KILL YOU IN MINUTES.
Generator exhaust contains carbon monoxide. This is a poison you cannot see or smell.
- NEVER use inside Only use OUTSIDE a home or garage, even if door and windows are open.
- Only use outside and far away from window, door, and vents.
Avoid other generator hazards.
READ MANUAL BEFORE USE.




























