WGen3600DF 3600 Watt Dual Fuel Electric Start Portable Generator
User Guide
BEFORE STARTING
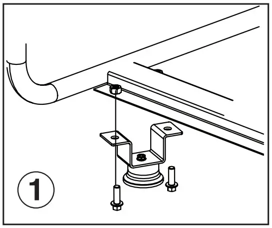
- Install feet to frame.
a. Tip the generator onto the muffler side.
b. Install the mounting feet to the frame using M8 flange bolts. - Install wheels.
a. Install the axle pin, wheel and washer through the axle bracket on the frame.
b. Install the hairpin cotter through the axle pin to lock it in place. - Add engine oil.
a. Remove oil fill plug/dipstick.
b. Using the supplied 4-cycle engine oil and funnel, slowly add engine oil to the engine until full.
c. Replace oil fill plug/dipstick. - Add unleaded gasoline to gas tank.
a. Unscrew gas cap on top of tank and insert a clean funnel into the tank.
b. Slowly add gasoline into the fuel tank. The gasoline level should NOT be higher than the filler neck.
c. Secure gas cap.
STARTING PROCEDURE
- Make sure the generator is OUTSIDE in a well ventilated dry area and FAR AWAY from any doors, windows, or vents.
- Check fuel and oil levels.
- Make sure nothing is plugged into power outlets.
- Connect battery.

- Make sure the circuit breakers are properly set to operating.

- Move the fuel valve to the ON position.

- Switch the engine switch to RUN
.
- Choose starting method:
a. Push-Button Start: Hold for 1 second and release when engine starts.
b. Wireless Remote Start: Hold Start button on wireless remote for 1 second and release.
c. Manual Start: Manually set choke. Pull recoil handle slowly until you feel resistance, then apply rapid pull up and away from generator.
- Plug in electronic devices.
MAINTENANCE SCHEDULE
Following the maintenance schedule is important to keep the generator in good operating condition. The following is a summary of maintenance items by periodic maintenance intervals. Refer to the Maintenance section in the Owner’s Manual to find out how to properly perform maintenance.
| Maintenance Item | Before Every Use | After First 25 Hours or First Month of Use | After 50 Hours of Use or Every 6 Months | After 100 Hour of Use or Every 6 Months | After 300 Hours of Use or Every Year |
| Engine Oil | Check Level | Change¹ | Change | – | – |
| Air Filter | – | – | Clean² | – | Replace |
| Spark Plug | – | – | – | Check/Clean | Replace |
| Spark Arrestor | – | – | – | Check/Clean | – |
| Fuel Filter | – | – | – | Replace³ | – |
| Fuel Valve Maintenance | – | – | – | Clean | – |
| Valve Clearance | – | – | – | Inspect/Adjust³ | – |
¹ Change oil every month when operating under heavy load or in high temperatures.
² Clean more often under dirty or dusty conditions.
³ Recommended service by authorized Westinghouse dealer
ENGINE OIL
Only use 4-stroke/cycle engine oil. NEVER USE 2-STROKE/CYCLE OIL. Synthetic oil is an acceptable substitute for conventional oil.
PREVENT CARBON MONOXIDE (CO) POISONING
- Use outdoors far from occupied buildings and the exhaust pointed away from personnel and buildings.
- Point exhaust away all homes and occupied spaces.
- Install CO alarms in your home.

| Using a generator indoors CAN KILL YOU IN MINUTES. Generator exhaust contains carbon monoxide. This is a poison you cannot see or smell. | |
![]() | ![]() |
| NEVER use inside a home or garage, EVEN IF doors and windows are open. | Only use OUTSIDE and far away from windows, doors, and vents. |
| Avoid other generator hazards. READ MANUAL BEFORE USE. | |
Questions?
Call 855.944.3571 or
email [email protected]
125306 Rev01 4/21
WGen9500DFc
Rev01
b. Install the mounting feet to the frame using M8 flange bolts.
b. Install the hairpin cotter through the axle pin to lock it in place.
b. Using the supplied 4-cycle engine oil and funnel, slowly add engine oil to the engine until full.
b. Slowly add gasoline into the fuel tank. The gasoline level should NOT be higher than the filler neck.



b. Wireless Remote Start: Hold Start button on wireless remote for 1 second and release.
c. Manual Start: Manually set choke. Pull recoil handle slowly until you feel resistance, then apply rapid pull up and away from generator.


















![Westinghouse Wgen5300s Portable Generator [5300 Running Watts, 6600 Peak Watts] User Manual Westinghouse Wgen5300s Portable Generator [5300 Running Watts, 6600 Peak Watts] User Manual](https://static-data1.manualsee.com/1/img/41/61758/2021/02/Westinghouse-WGen5300s-Portable-Generator-5300-Running-Watts-6600-Peak-Watts-User-Manual.jpg)

