TRIPP-LITE DDVD1727AM Precision Placement Dual-Display Desktop Mount

Safety Instructions
NOTE: Read the entire instruction manual before you start assembly and installation.
WARNING
- Do not begin the installation until you have read and understood the instructions and warnings contained in this manual. If you have any questions regarding any of the instructions or warnings, please visit tripplite.com/support.
- This mount was designed to be installed and utilized ONLY as specified in this manual. Improper installation of this product may cause damage or serious injury.
- This product should only be installed by someone of good mechanical ability, with basic building experience and a full understanding of this instruction manual.
- Ensure the mounting surface can safely support the combined load of the equipment and all attached hardware and components.
- Use an assistant or mechanical lifting equipment to safely lift and position equipment.
- Tighten screws firmly, but do not over-tighten. Over-tightening screws can damage the unit and greatly reduce the screws’ holding power.
- This product is intended for indoor use only. Using this product outdoors could lead to product failure and personal injury.
Warranty and Product Registration
5-Year Limited Warranty
Seller warrants this product, if used in accordance with all applicable instructions, to be free from original defects in material and workmanship for a period of 5 years from the date of initial purchase. If the product should prove defective in material or workmanship within that period, Seller will repair or replace the product, at its sole discretion.
THIS WARRANTY DOES NOT APPLY TO NORMAL WEAR OR TO DAMAGE RESULTING FROM ACCIDENT, MISUSE, ABUSE OR NEGLECT. SELLER MAKES NO EXPRESS WARRANTIES OTHER THAN THE WARRANTY EXPRESSLY SET FORTH HEREIN. EXCEPT TO THE EXTENT PROHIBITED BY APPLICABLE LAW, ALL IMPLIED WARRANTIES, INCLUDING ALL WARRANTIES OF MERCHANTABILITY OR FITNESS, ARE LIMITED IN DURATION TO THE WARRANTY PERIOD SET FORTH ABOVE; AND THIS WARRANTY EXPRESSLY EXCLUDES ALL INCIDENTAL AND CONSEQUENTIAL DAMAGES. (Some states do not allow limitations on how long an implied warranty lasts, and some states do not allow the exclusion or limitation of incidental or consequential damages, so the above limitations or exclusions may not apply to you. This warranty gives you specific legal rights, and you may have other rights which vary from jurisdiction to jurisdiction.)
WARNING: The individual user should take care to determine prior to use whether this device is suitable, adequate or safe for the use intended. Since individual applications are subject to great variation, the manufacturer makes no representation or warranty as to the suitability or fitness of these devices for any specific application.
PRODUCT REGISTRATION
Visit tripplite.com/warranty today to register your new Tripp Lite product. You’ll be automatically entered into a drawing for a chance to win a FREE Tripp Lite product!*
* No purchase necessary. Void where prohibited. Some restrictions apply. See website for details. Tripp Lite has a policy of continuous improvement. Specifications are subject to change without notice. Photos and illustrations may differ slightly from actual products.
Component Checklist
IMPORTANT: Ensure you have received all parts according to the component checklist prior to installing. If any parts are missing faulty, visit tripplite.com/support for service.

Package M (x2)

Package p

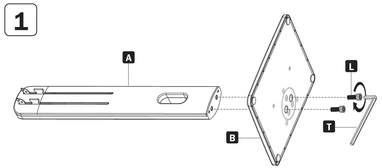
Assembling the Base

Attaching the Top Handle

Assembling the Mounts


Attaching the Mounts to the Base


Attaching the Pull Handle

Mounting Displays
Warning: Please make sure you attach identical monitors to the table stand; otherwise, the table stand might be inverted. Also, while you are installing a monitor on one side, another person should hold the other side of the mount to keep the table stand stable. Use an assistant or mechanical lifting equipment when hooking the display onto the mount and fastening the screws as shown. Firmly secure all screws. Do not over-tighten.

Mounting Displays and Applying Antimicrobial Tape

Warning: Please make sure you attach identical monitors to the table stand; otherwise, the table stand might be inverted. Also, while you are installing a monitor on one side, another person should hold the other side of the mount to keep the table stand stable. Use an assistant or mechanical lifting equipment when hooking the display onto the mount and fastening the screws as shown. Firmly secure all screws. Do not over-tighten.
Adjustment
Maintenance
- Check that the bracket is secure and safe to use at regular intervals (at least every three months).
- Please visit tripplite.com/support if you have any questions.

Maintenance















