40705-6 Single-Dual Display Gas-Spring Desktop Mount
User Manual
Introduction
Thank you for purchasing the Single / Dual Display Gas-Spring Desktop Mount. This product has been designed to provide trouble free, reliable operation. It benefits from both a Lindy 2-year warranty and free lifetime technical support. To ensure correct use, please read this manual carefully and retain it for future reference.
The Lindy Single / Dual Display Gas-Spring Desktop Mount is a flexible, elegant solution for creating additional workspace in any environment. Compatibility is virtually guaranteed with any display, due to standard VESA mounting points, support for up to 27”, 6.5kg screens.
Package Contents

| ▪ A: Single / Dual Display Gas-Spring Desktop Mount ▪ B: Edge Bracket ▪ C: Desk Clamp ▪ D – 2 x M6x10mm Bolt ▪ E – 3 x M6x12mm Bolt ▪ F – Grommet Bracket ▪ G – M8 Wingnut | ▪ H – M8x100mm Bolt ▪ I – Lower Grommet Bracket ▪ J – 4mm Hex Key ▪ K – 5mm Hex Key & Crosshead Screwdriver ▪ M-A: 4 / 8 x M4x12mm Bolt ▪ M-B: 4 / 8 x M6x12mm Bolt ▪ M-C: 4 / 8 x D6 Metal Washer ▪ Lindy Manual |
Features
- Gas-Spring adjustment offers complete freedom of movement, creating an optimum viewing experience.
- Offers complete directional adjustment and positioning, with tilt, rotate and swivel options.
- Integrated cable management helps to create a clean, minimalist workspace.
- Conforms to VESA standards (75mm x 75mm & 100mm x 100mm).
Specification
- Maximum Supported Display: 27”
- Maximum Supported Weight: 6.5kg (14.3lb)
- Minimum / Maximum Surface Thickness: 20-80mm (0.79-3.15in)
- Supported VESA Standards: 75x75mm / 100x100mm
- Tilt Adjustment: -45° – 90°
- Pivot Adjustment: 180°
- Rotational Adjustment: 360°
- Integrated Cable Management: Yes
- Materials: Aluminium & PVC
- Colour: Black
Installation
Please read these instructions thoroughly before installation.
Installation of both the single, and dual versions of this mount is the same. The instructions below will cover the single display version, for the dual display, simply repeat the necessary steps.
Begin by unpacking the Single Display Gas-Spring Mount (A). Be aware, to reduce waste, the gas-spring arm is compressed out of the box and held by a reusable cable tie. To remove the cable tie safely, ask another person to further compress the arm while you carefully release the cable tie. Once clear, slowly release the arm.
This product can be installed in two configurations. To mount this bracket against the edge of a desk, follow the instructions below:
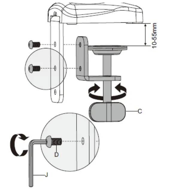
- Fix the edge bracket (B), to the base of the gas-spring arm using 3 x M6x12mm bolts (E) with the included 4mm Hex Key (J).

- Fit the desk clamp (C) to the inside of the edge bracket (B) using 2 x M6x10mm (D) bolts, tighten it with the 4mm Hex Key (J).
For surfaces with a thickness of between 10 – 55mm, fix the clamp to the edge bracket in the two highest holes.
For surfaces with a thickness of between 5085mm, use the two lowest holes.
- Slide the base of the bracket over the edge of the desk and turn the clamp clockwise to secure the bracket. Although a foam pad is fitted to both contact points, overtightening this clamp can cause damage to the desk. While securing, check for any play by trying to move the bracket to the left and right. If there is any play, further tighten the clamp until it requires reasonable force to loosen.
The bracket is now installed.
If you would like to fit the bracket to a grommet, or hole in the desk, use the following steps:
- Place the M8x100mm bolt (H) through the square gap in the centre of the grommet bracket (F) and secure the grommet bracket (F) to the base of the gas-spring arm (A) with 3 x M6x12mm bolts (E) with the 4mm Hex Key (J) (as shown below).

- Place the base of the bracket over the grommet and offer up the lower grommet bracket (I) to the bolt on the underside of the desk. Using the M8 wingnut (G), secure the base of the bracket to the desk by turning clockwise.
The bracket is now installed.
Mounting a display
To mount a display to this bracket, it is strongly advised that the original manufacturers instructions are consulted. Failure to use the correct size fixings could result in the display being damaged beyond repair.
It is recommended that two people are involved in the mounting of the display.
Once you are aware of the required fixing sizes, select the appropriate bolts from M-A, or M-B. If neither of these bolts are appropriate for your display, please seek alternative fixings.
Begin by inserting two of the bolts with washers into the top two VESA mounting points on the back of the display, taking care to leave some thread exposed.
Offer up the display to the mounting bracket, the top two VESA mounting points are open. This ensures the display can be safely rested on the top two mounting bolts, while the bottom two are secured.
Once the display is resting in the top two mounting points, have a second person on hand to brace the weight of the display and keep it in position.
Line up the bottom two mounting points with the display bracket and fasten the remaining two bolts into the VESA points on the display, again taking care to use the included washers.
Tighten all four bolts in a criss-cross pattern to evenly distribute the clamp load.
Positional Adjustments
Out of the box, this bracket will be quite loose, so that you can position the display exactly how you would like. This is another time a second pair of hands are helpful, once you are happy with the position of the display, have the display held in position and begin securing the bracket.
Using the 5mm Hex Key (K), tighten the bolts to directly behind the display bracket, this will prevent the display tilting from the weight of the display, be careful not to overtighten this, ensuring the bolt is touch tight will allow users to tilt the display to a position that is comfortable.
Using the same 5mm Hex Key (K), tighten the bolt on top of the joint between the upper and lower portion of the arm. This will prevent the monitor arm from compressing due to the weight of the display by adding tension. The tension can also be reduced, to help keep lighter displays in their preferred positions.
Cable Management
When the display is set correctly, using the Crosshead Screwdriver (K), undo the two bolts holding the cable management guides. Route any cables between these two housings and behind the monitor arm to create a clean installation.
CE Statement
CE Certification
LINDY declares that this equipment complies with relevant European CE requirements.
UKCA Certification
LINDY declares that this equipment complies with relevant UKCA requirements.
| Hersteller / Manufacturer (EU):. LINDY-Elektronik GmbH Markircher Str. 20 68229 Mannheim Germany Email: [email protected] T: +49 (0)621 470050 | Manufacturer (UK): LINDY Electronics Ltd Sadler Forster Way Stockton-on-Tees, TS17 9JY England [email protected] T: +44 (0)1642 754000 |
© LINDY Group – THIRD EDITION
3rd Edition, August 2022
Lindy.com
No. 40705-6
(August 2022)


The bracket is now installed.
The bracket is now installed.

















