ACT AC8311 Gas Spring Monitor Desk Mount

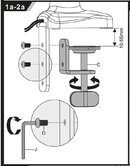
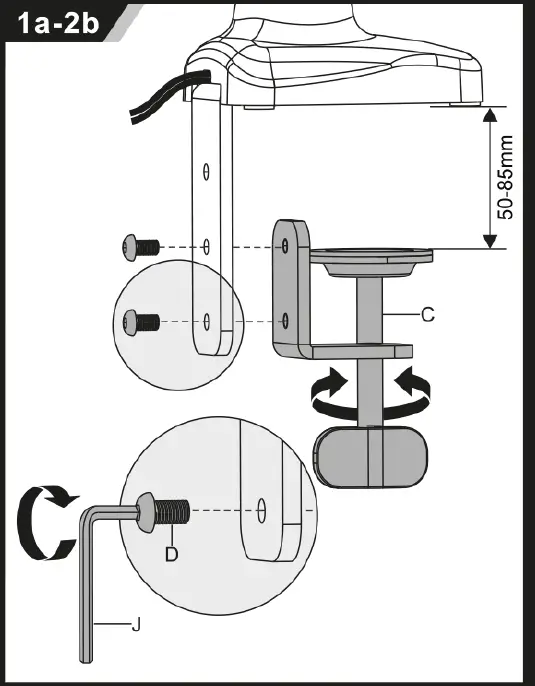
Hardware


Mounting










WARNING: Stored Energy Hazard! Read the warning text on the backside of this guide or on the labels of the product! Read the entire instruction before you continue unpacking and assembling.
Read the entire instruction before you start the installation and assembly.
CAUTION: Use with products heavier than the rated weights indicated may result in instability causing possible injury.
- Mounts must be attached as specified in assembly instructions. Improper installation may result in damage or serious personal injury.
- Make sure that the supporting surface will safely support the combined weight of the equipment and all attached hardware and components
- Use the mounting screws provided and DO NOT OVER TIGHTEN mounting screws.
- This product contains small items that could be a choking hazard if swallowed. Keep these items away from children
- This product is intended for indoor use only. Using this product outdoors could lead to product failure and injury.
IMPORTANT: Ensure that you have received all parts according to the component checklist prior to the installation.
MAINTENANCE
Check that the bracket is secure and safe to use at regular intervals (at least every three months).
WARNING: Stored Energy Hazard! Read this warning text first!
Read the entire instruction before you continue unpacking and assembling.
Before unpacking the product
Warning!
DO NOT remove the cable tie from around the spring arm if you are not holding the two halves of the spring arm together.
Firmly hold the two halves of the spring arm together and have another person remove the cable tie from around the spring arm.
Slowly release the pressure on the spring arm and allow it to gradually stretch to its full extension.
WARNING: When you want to disamble the monitor! Keep the frot arm to its highest point before taking off the monitor. Otherwise it might pop up to hurt your jaw.
For service, manuals, firmware or updates visit www.act-connectivity.com
You can find safety information at www.act-connectivity.com/safety




















