goobay 58530 Monitor Mount with Gas Spring

Product Information: Monitor Mount with Gas Spring
Specifications
- Item No.: 58530
- Screen size: 43 – 81 cm (17 – 32)
- Load capacity: 9 kg
- Distance between threaded holes according to VESA standard (vertical x horizontal): 75×75, 100×100
- Dimensions (width x max. height) / Weight: Not mentioned
- Tilt range: Not mentioned
- Swivel range / Rotation range: Not mentioned
Description and Function
The product is a tiltable, rotatable and swivelling table monitor holder with gas spring for mounting screens up to 9 kg.
Intended Use
The device is intended to be used only in dry interior rooms, and only for mounting screens up to 9 kg using the gas spring.
Safety Instructions
- The spring arm is under pressure and can suddenly extend if it is released too quickly. Always hold the spring arm firmly on both sides and release the pressure slowly to avoid any risk of injury from stored energy.
- Not attending to the regulations and safety instructions might cause fatal accidents, injuries, and damages to persons and property.
Product Usage Instructions
- Unpack the spring arm with monitor mount carefully (refer to Fig. 1).
- To mount the device on a table top, follow the steps given below:
- For preparation, refer to Fig. 2.
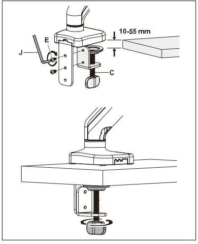
- If the table top is 10-55 mm thick, follow the instructions given in Fig. 3.
- If the table top is 50-85 mm thick, follow the instructions given in Fig. 4.
- Before drilling any holes, make sure to mark the drilling points accurately.
- Use the drill (refer to Tab. 2) to make holes in the table top (refer to Fig. 5).
- Take the screw clamp (C) and screw it tightly on the table top (refer to Fig. 6).
- Attach the spring arm with monitor mount (A) to the screw clamp (C) using the M6x12 screw (D) and M6x10 screw (E).
- Adjust the tilt, swivel or rotation range of the device using the allen key 4 mm (J) and allen key 6 mm (K).
Safety instructions
The user manual is part of the product and contains important information for cor-rect use.
- Read the user manual completely and carefully before use.
The user manual must be available for uncertainties and passing the product.
- Keep this user manual.
- Do not modify product and accessories.
- Use product, product parts and accessories only in perfect condition.
- In case of questions, defects, mechanical damage, trouble and other problems, non-recoverable by the documentation, contact your dealer or producer.
Not suitable for children and persons with physically and/or mentally limited abili-ties.
- Secure packaging, small parts and insulation against accidental use.
- Mounting, dismounting, care, storage, transport and disposal may only be car-ried out by users with basic mechanical knowledge.
- Have maintenance and repair work carried out by qualified personnel only.
- Avoid stresses such as heat and cold, moisture and direct sunlight vibration and mechanical pressure.
- Place, install and transport product, product parts and accessories in a safe way.
- When working with burdens, secure yourself and the working place, let a se-cond person help you.
- Do not install the product to places with direct sunlight or bright light.
This contributes to eye fatigue.
- Do not hold limbs between shear parts during use.
Moving product parts can pinch or squeeze limbs.
- Keep enough space around product and to the whole system to ensure proper ventilation and mobility.
- Compare the specifications of all products used.
The specifications of all used products must match or be within the specified range. The supporting surfaces must be able to safely withstand the weight of the mount and the equipment attached to it.
- Use the mounting screws provided.
- Do not over-tighten the screws.
Threads can be damaged.
Description and Function
Product
The product is a tiltable, rotatable and swivelling table monitor holder with gas spring for mounting screens up to 9 kg.
Scope of Delivery
See Tab. 1.
- Spring arm with monitor mount (A)
- Plate for screw clamp (B)
- Screw clamp (C)
- M6x12 (D)
- M6x10 (E)
- Insert (F)
- Mounting screw (G)
- Insert (H)
- Wing nut (I)
- Allen key 4 mm (J)
- Allen key 6 mm (K)
- M4x12 (M-A)
- M5x12 (M-B)
- Washer D5 (M-C)
- User Manual
Required Tools
See Tab. 2.
- Drill (1)
- Suitable drill bit (Ø 10,0 mm) (2)
Specifications
| Item No. | 58530 |
| Screen size | 43 – 81 cm (17 – 32“) |
| Load capacity | 9 kg |
| Distance between threaded holes according to VESA standard (vertical x horizontal) | 75×75, 100×100 |
| Dimensions (width x max. height) / Weight | 117 x 498 mm / 2.26 kg |
| Tilt range | -45° ~ +70° |
| Swivel range / Rotation range | -180° ~ +180° |
Intended Use
We do not permit using the device in other ways like described in chapter „Description and Function“ or in the „Safety Instructions“. Use the product only in dry interior rooms. Not attending to these regulations and safety instructions might cause fatal accidents, injuries, and damages to persons and property.
Preparation
Check the scope of delivery for completeness and integrity.
Mounting
Unpacking the spring arm with monitor mount
See Fig 1.
WARNING! Risk of injury from stored energy!
The spring arm is under pressure and can suddenly extend if it is released too qui-ckly.
- Hold the spring arm fi rmly together on both sides and have another person cut the cable tie around the spring arm.
- Slowly release the pressure and let the spring arm extend gradually to its full length.
Mounting on a table top
- Preparation: See Fig. 2.

- Table top 10-55 mm: See Fig. 3.

- Table top 50-85 mm: See Fig. 4.
Mounting through a hole in the table
- Preparation: See Fig. 5.

- Tischplatte 10-85 mm: See Fig. 6.
Attaching the monitor mount to the screen
See Fig. 7.
- This step must be carried out by 2 people!
Balancing the spring arm
See Fig. 8.
CAUTION! Material damage!
- Always keep the spring arm in a horizontal position when making adjustments. If necessary, have another person help you.
The spring arm must be properly balanced after the screens have been attached. Hold the spring arm in a horizontal position and adjust the spring tension with the Allen key (K).
Do not overtighten the screws!
- A If the spring arm sinks, turn the adjustment screw counterclockwise until it re- mains in a horizontal position.
- B If the spring arm rises, turn the adjustment screw clockwise until it remains in a horizontal position.
Using the cable glands
See Fig. 9.
Adjusting the screen
See Fig. 10.
Set the desired angle and then tighten the screws alternately.
Maintenance, Care, Storage and Transport
- Let maintenance and repair work only be carried out by qualified personnel.
- Protect the joints from dirt and grease them regularly with light machine oil.
- Only use a dry and soft cloth for cleaning.
Use caution when cleaning to avoid scratches. In case of heavy soiling, the clea-ning cloth can be slightly moistened with water. - Do not use detergents or chemicals.
- Regularly check the tightness of product/screws.
Fixing holes can remain visible when the product is removed. After prolonged use, a stain may remain on the underground. - Store the product out the reach of children and in a dry and dust-protected am-bience when not in use.
- Keep and use the original packaging for transport.
Disposal instructions
This product does not belong into the household waste. At the end of its working life, give it back to the manufacturer, the sales outlet or established for this purpo-se, public collection points for free. Details of disposal are regulated by the respec-tive country‘s law. Recyclables are into the recycle circuit, in order to gain new raw materials. The following recyclable materials are collected in municipal collection: Waste glass, plastics, scrap metal, sheets and much more. With this type of scrap usage you are making an important contribution to protecting our environment.
Warranty
Detailed warranty conditions on www.mygoobay.com.
Symbols used
| For indoor use only | IEC 60417- 5957 | ![]() |
Goobay®
by Wentronic GmbH Pillmannstraße 12 38112 Braunschweig Germany
Made in China
Hotline: +49 (0180) 5005882
E-Mail: [email protected]
Web: www.wentronic.com/content/mygoobay/





















