
TAOTRONICS TT-DL092 LED Light Forward Beam Desk Lamp

Thank you for choosing the TaoTronics LED Desk Lamp. Please read this User Guide carefully and keep it for future reference.
Product Features
- Light forward beam: Reduce writing shadows, protect your eyes
- CRl>96: High color reproduction
- Adjustable illuminated area
- Auto brightness adjustment
- Power-off memory function
Package Contents
- 1 x TaoTronics LED Light Forward Beam Desk Lamp (Model: TT-DL092)
- 1 x Power Adapter
- 1 x User Guide
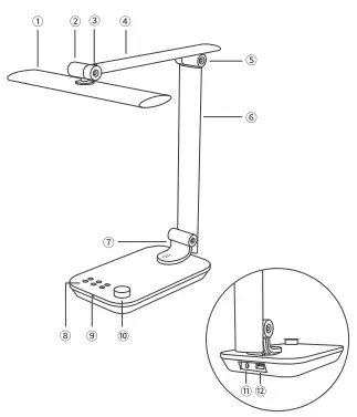
Product Diagram
- Lamp Head
- Lamp Head Rotation Axis
- Lighting Sensor
- Upper Lamp Arm
- Upper Lamp Arm Rotation Axis
- Low Lamp Arm
- Low Lamp Arm Rotation Axis
- Touch Control Panel
- Power Indicator
- Multifunction Rotary Knob
- DC Power Connector
- USB Port
Touch Control Panel
- Auto-Brightness Adjustment
- Night Light
- Brightness
- Timer
- Illuminated Area
- Color Temperature
Use Your Desk Lamp
Multifunction Rotary Knob
- Press the Rotary Knob once to turn on/ off the desk lamp.
- Rotate the knob to increase (in a clockwise direction), or decrease (in an anticlockwise direction)the Brightness, Color Temperature and
Illuminated Area in the corresponding modes.
Power Indicator
- Desk lamp ON: Power indicator stays solid on.
- Desk lamp OFF: Power indicator turns off.
Brightness Adjustment
- Tap the @ once to turn on the Brightness Adjustment mode, then rotate the Multifunction Rotary Knob to adjust the brightness.
- Tap and hold the @ for 1-1.5S to turn on the maximum brightness.
Color Temperature Adjustment
- Tap the @ once to turn on the Color Temperature Adjustment mode, then rotate the Multifunction Rotary Knob to adjust the color temperature.
- Tap and hold the @ for 1-1.5S to turn on the default color temperature ( 4500-S000K).
Timer ON/OFF
- Tap the @ once to turn on the 60-minute Auto OFF timer. You can turn on the Timer under both Normal Light and Night Light modes.
- Tap the @ once again to turn off the timer.
- Timer mode ON: @ stays solid on.
- Timer mode OFF: @ turns off.
Night Light ON/OFF
- Tap the © once to turn on/ off the night light. When the Night Light mode is turned on, tap the Rotary Knob once to switch to Normal Light mode.
- Night Light mode ON: © stays solid on.
- Night Light OFF: @ turns off.
- When the Night Light mode is turned on, the brightness and color temperature cannot be adjusted.
Illuminated Area Adjustment
- Tap the ® once to turn on the Illuminated Area mode, then rotate the Multifunction Rotary Knob to adjust the illuminated area.
- Tap and hold the ® to turn on the default illuminated area (middle).
Auto-Brightness Adjustment
- Tap the @) once to turn on the Auto-Brightness Adjustment. The brightness is adjusted automatically based on the ambient brightness.
- Tap the @) once again to turn it off.
- Tap and hold the @) for 1-1.55 to restore to the brightness of 1000 lux (color temperature remains unchanged).
Power Off Memory Function
- This desk lamp is designed with a power-off memory function. It will always remember your last setting once you turn it on again.
Specifications
- Model TT-DL092
- Power 12W Max.
- USB Power DC 5V ccc 2.1A
- Power Adapter Input: AC 1 00V-240V Output: DC 12V ccc 2A
- CCT 2700-6400K
- Kevin (at 30cm height) >3200 lux
- Brightness 20%-100%
- Lumens 900-950 Im
- CRI Ra>96
- LED Size 2835
- LED Qty 96pcs
Adjust Your Desk Lamp
Troubleshooting
| Problem | Possible Cause | Solution |
|
The lamp does not light up | No power supply | Correctly plug in the power adapter |
| The lamp is not turned on | Refer to the Use Your Lamp section | |
| Thetouch control panel is not responsive | Hands are wet | Tap the panel with dry hands |
| Voltage fluctuation | Disconnect the power adapter to restart the lamp | |
| LED failure | LED component failed | Please contact the TaoTronics Support Team |
|
Bad smell | Power adapter failed | Please contact the TaoTronics Support Team |
|
Short circuit | Please contact the TaoTronics Support Team |
Caution
- Use only the supplied AC power adapter.
- Please do not dismantle the product by yourself, always ask professional electricians or authorized technicians for repair.
- If you smell bad odor or anything unusual, please turn off the unit immediately.
- Please do not remove the power plug with wet hands as it may cause electrical shock.
- It is not a toy. Keep away from children.
- Do not put this unit near extreme heat sources, moisture, or corrosive substances.
- Clean the unit on a regular basis.
- Please store in a dry and cool place if not used for a long period of time.
Warranty
TaoTronics products are covered by a 12-month limited warranty from the date of its original purchase. If any problems occur, please contact our support team. We can only provide after-sales service for products that are sold by TaoTronics orTaoTronics authorized retailers and distributors. If you have purchased your unit from a different place, please contact your seller for return and warranty issues.






















