TAOTRONICS TT-DL11 Dimmable LED Desk Lamp User Guide
![]()

Thank you for choosing TaoTronics Luna L1 LED Desk Lamp. Please read this user manual carefully and keep it for future reference. If you need any further assistance, please contact our customer support team or email us at [email protected].
Product Features
- Contemporary minimalistic design
- 7 levels of brightness × 5 lighting modes
- 360 degrees rotatable arm
- 2nd Generation LED light source, more efficient and better eye-caring
Package Contents

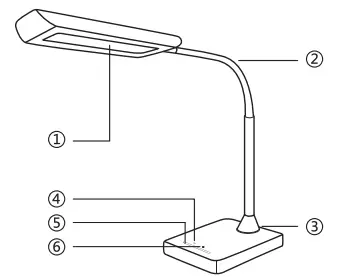
Product Diagram

- Lamp head
- Gooseneck arm
- Power adapter connector
- Power button
- Brightness control
- Mode button
Technical Specifications
| Model | TT-DL11 |
| Light Source | LED |
| Operate Voltage | DC 10V/0.7A |
| Power | 7W |
| Color Temperature | 3000-6500K |
| Lumens | 386lm |
| Operate Temperature | -5°C~40°C |
| CRI | >80 |
| Lifespan | 50,000 Hours |
| Net Weight | 540 g / 19 oz |
Advantages of LED Desk Lamp

Power On/Off
Connect the lamp and power adapter:
- Tap on the power button to turn the lamp on
- The lamp has memory function and will automatically use the brightness setting from the last time it was turned off.
Brightness
Touch or slide your finger anywhere along the brightness control to adjust brightness.
Lighting Modes
Tap the Mode Button to cycle through 5 lighting modes.
Cautions


Warranty
TaoTronics Luna L1 LED Desk Lamp is covered by TaoTronics 1-year limited product warranty. If any problem occurs due to manufacturing defects, please contact TaoTronics by email at [email protected] or call us (US customers only).
The following scenarios are NOT be covered by TaoTronics warranty:
- Damaged caused due to mishandling, abuse or improper operation
- Product has been modified or repaired (by someone other than TaoTronics)
- Damage caused by fires, poison, chemical or by other products
Statement
We can only provide after sale services for products that are sold by TaoTronics or TaoTronics authorized retailer and distributor. If you have purchased your unit from a different seller, please contact the seller for return and warranty issues.
Contact us
Call: 1-888-456-8468 ext: 4 (Mon – Fri, 9am – 5pm, PST) (US Only)
E-mail: [email protected]
Website: www.taotronics.com
TECHNOLOGY ENHANCES LIFE
FCC Compliance
This device complies with Part 15 of the FCC Rules. Operation is subject to the following two conditions: (1) This device may not cause harmful interference, and (2) this device must withstand any interference received, including interference that may cause undesired operation.

WEEE Compliance
Correct Disposal of This Product (Waste Electrical & Electronic Equipment)
(Applicable in countries with separate collection systems)
This marking on the product, accessories or literature indicates that the product and its electronic accessories should not be disposed of with other household waste at the end of their working life. To prevent possible harm to the environment or human health from uncontrolled waste disposal, please separate these items from other types of waste and recycle them responsibly to promote the sustainable reuse of material resources. Household users should contact either the retailer where they purchased this product, or their local government office, for details of where and how they can take these items for environmentally safe recycling. Business users should contact their supplier and check the terms and conditions of the purchase contract. This product and its electronic accessories should not be mixed with other commercial wastes for disposal.
![]()
ASIA PACIFIC
E-mail : [email protected](JP)
Tel:03-5542-0238(10~18時/土日祝除く)
JP Importer: 株式会社SUNVALLEY JAPAN
Address: 〒104-0032 東京都中央区八丁堀3丁目18-6 PMO京橋東9F
EUROPE
E-mail:
[email protected](UK)
[email protected](DE)
[email protected](FR)
[email protected](ES)
[email protected](IT)
EU Importer: ZBT International Trading GmbH
Address: Halstenbeker Weg 98C, 25462 Rellingen, Deutschland
NORTH AMERICA
E-mail : [email protected](US)
[email protected](CA)
Tel : 1-888-456-8468 (Monday-Friday: 9:00 – 17:00 PST)
US Distributor: SUNVALLEYTEK INTERNATIONAL INC.
Address: 46724 Lakeview Blvd, Fremont, CA 94538
MANUFACTURER
Manufacturer: Shenzhen NearbyExpress Technology Development Co.,Ltd.
Address: 333 Bulong Road, Shenzhen, China, 518129
Learn more about the EU Declaration of Conformity:
https://www.taotronics.com/downloads-TT-DL11-CE-Cert.html




















