EXTECH UM200 Micro-Ohmmeter
EXTECH UM200 Micro-Ohmmeter
Additional User Manual Translations available at www.extech.com
Introduction
Thank you for selecting the Extech Model UM200. This device is shipped fully tested and calibrated and, with proper use, will provide years of reliable service. This device is shipped fully tested and calibrated and, with proper use, will provide years of reliable service. Please visit our website
(www.extech.com) to check for the latest version and translations of this User Manual, Product Updates, Product Registration, and Customer Support.
Warning
Do not use the ohmmeter before you read the following instructions.
Do Not Plug in the AC adapter when the ambient temperature exceeds 45°C / 113°F.
Do Not charge the lithium battery when the ambient temperature exceeds 45°C / 113°F.
- Do not attempt to connect to or measure any resistance (object) with voltage present. Electrical potential (voltage) could cause damage to the ohmmeter.
- Do not use the lithium battery to power anything but this instrument.
- Do not soak or immerge the lithium battery in any liquid.
- The lithium battery may explode if disposed of in Fire.
- Recycled or disposed of the battery as directed by local regulations.
- Do not expose the lithium battery to temperature higher than 60°C or 140°F.
- Do not disassemble the lithium battery assembly.
- Do not short circuit the lithium battery
- Do not touch the battery if it is damaged.
Features
- High 1μΩ resolution with a basic accuracy of 0.25%.
- 10A maximum test current.
- Measurement of resistive and inductive materials.
- Four terminal Kelvin measurement.
- Manual or Auto Range. (There are 6 ranges of current measurement and 3 sub-ranges in each current range.)
- Programmable Hi-Lo alarm with memory of 20 sets of limits.
- Hold function.
- Cable length measurement (Feet or Meter).
- Memory of 3,000 measurement data.
- Large LCD (5-digit) with backlight.
- Rechargeable lithium battery (3400mAH) and built-in charging circuit.
- Low battery indication.
- Low power consumption.
- PC interface & software.
Meter Description
Front Panel
- LCD: 6000 count LCD with Backlight.
- ▲ button: In SETUP mode, press the ▲ button to increment value by 1. Press and hold the ▲ button for over 2 seconds to increment value swiftly. In Recall mode, press the ▲ button to display the next stored data location.
- SELECT button: In SETUP mode press the SELECT button to select HI (Limit) or LO (Limit) or display cable resistance per foot or meter
- ▼ button: In SETUP mode, press the ▼ button to decrement value by 1. Press and hold the ▼ button for over 2 seconds to decrement value swiftly. In Recall mode, press the ▼ button to display the previously stored data data location)
- ZERO / RECALL button: In resistance mode, zero the range before making measurements. Connect the test leads together and press the START / STOP button.
Then Press the ZERO / RECALL button to enter Relative mode (the present readings will be reset to zero), or press the ZERO / RECALL button for over 2 seconds to exit the Relative mode. In SETUP mode, use this button to recall the pre-stored sets of HI limits, LO limits and resistance per unit. - START / STOP button: In resistance mode, press the START / STOP button to start measurement. Press the START / STOP button again to stop and hold the reading.
- REC / READ button: In measurement mode, press the REC / READ button to display the number of the present recorded data and have the present reading recorded. In SETUP mode, press the REC / READ button to enter READ data mode. Press it again to exit READ data mode. In the READ mode, users can recall data stored by pressing the ▲ or ▼ button.
- FEET / METERS button: In cable length mode, press the FEET / METERS button to select units of Meter (M) or Feet (FT).
LED: If the light is on, measurements are for both inductive and resistive materials. If the light is off, measurements are for resistive materials only.- Power error LED: If the light is on, measurement errors may be caused by one of the following reasons:
Low battery voltage
Blown fuse
Measuring a device with electrical potential (voltage).
(Note: the electrical potential (voltage) could cause damage to the meter.) - Output error LED: If the light is on, measurement errors may be caused by one of the following reasons:
Test leads or the measured cable is not properly connected. Resistance is too high (higher than the measurement range) Output current is less than needed for the load. - Rotary Switch: The Switch provides selections of: OFF, 6 measurement ranges (6000Ω, 600Ω, 60Ω, 6Ω, 600mΩ and 60mΩ) and SETUP.
button: Press this button to enable/disable the backlight.
button: (for 600mΩ (1A) and 60mΩ (10A) ranges) Press to measure inductive materials when the
LED is off.
button: Press the Beep button to turn on/off the alarm function (HI and LO). When the alarm function is enabled, the
icon will be shown in LCD. If the value of resistance is within the HI-LO range, a “PASS” will be displayed. If the value of resistance is out of HI-LO range, the beeper will sound. But if the value of resistance is out of the measuring range (LCD displays “OL”), the alarm function is disabled.- Range x10 button: In each rotary switch position, three sub-range can be selected by pressing this button. Press the Range x10 button for over 2 seconds to return to Auto Range. In the auto range, a symbol of AUTO will be displayed in LCD.
In the SETUP mode, press this button to move the decimal point of a number. - Ω / LENGTH button: Press Ω / LENGTH button to select measurement mode or length mode. Press Ω / LENGTH button for over 2 seconds to store the present value of resistance as the resistance per foot or meter.
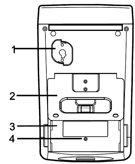
Rear Panel

- Communication port
- Stand.
- Battery cover
- Battery cover screw
Top Panel

- C1 Alligator Clip Terminal or 4-wire Test Leads Terminal.
- P1 Alligator Clip Terminal or 4-wire Test Leads Terminal.
- P2 Alligator Clip Terminal or 4-wire Test Leads Terminal.
- C2 Alligator Clip Terminal or 4-wire Test Leads Terminal.
- – Kelvin Clip Terminal.
- +Kelvin Clip Terminal.
- POWER for the input of AC adaptor.
Operation
Note:
- The battery is charged before shipment, operation when first received is permitted.
- When in Resistance mode, zero the range before making measurements.
- After the START/STOP button is pressed to start measurement, the unit cannot be stopped until the first measurement is completed.
- When the LED light with inductance symbol is on, this indicates the measurement is for both resistive materials and inductive materials. When the LED light with inductance symbol is off, inductive material cannot be measured.
NOTE: The battery will not charge with the rotary switch in the OFF position.
Place the rotary switch in any range position to charge the battery.
Warning:
Do not measure any resistance (object) with electrical potential (voltage). The electrical potential (voltage) could cause damage to the ohmmeter.
4 Wire Connection Methods
Kelvin Clips
Resistance measurements with the
LED ON (6, 60, 600 and 6000Ω ranges)
- Connect the test leads to the meter.
- Turn the switch to a proper measurement range. Five dash lines (—–) will be shown in LCD.
- Zero the range before making measurements. Connect the Kelvin clips together and press the START / STOP button then press the Zero button. The reading should read zero Ohms.
- Connect the test leads to the device under test.
- The LCD will continuously display the value of the resistance. Both resistive and inductive materials can be measured.
- If you need to change ranges, Zero the range before making a measurement.
- To stop the measurement, press the START/STOP button again. The
hold symbol will be shown in LCD and the final result will remain in the display.
Resistance measurements with the
LED OFF (600, 60mΩ ranges)
Resistive Materials:
- Connect the test leads to the meter.
- Turn the switch to a proper measurement range. Five dash lines (—–) will be shown in LCD. The
LED is off. The measurement is for resistive material only. - Zero the range before making measurements. Connect the Kelvin clips together and press the START / STOP button then press the ZERO button. The reading should read zero Ohms.
- Connect the test leads to the device under test.
- The LCD will continuously display the value of the resistance. Only resistive materials can be measured.
- If you need to change ranges, Zero the range before making a measurement.
- To stop the measurement, press the START/STOP button again. The
hold symbol will be shown in LCD and the final result will remain in the display.
Inductive and Resistive Materials:
- If inductive material is to be measured (such as coil of motor or a transformer),
- Press the
button to turn on the
LED. Both resistive and inductive materials can be measured. - Zero the range before making measurements. Connect the Kelvin clips together and press the START / STOP button then press the ZERO button. The reading should read zero Ohms.
- When a stable reading is obtained the measurement will automatically stop, the
hold symbol will be shown in LCD and the final result will remain in the display.
Manual Range (Sub-Ranges)
There are three overlapping sub-ranges in each of the six rotary switch ranges. Each sub-range can be selected by pressing the RANGE button. Refer to the specifications for a list of the sub-ranges. The OL symbol will be shown in the LCD if the value of resistance is out of sub-range. The resolution remains the same for the three sub-ranges. In the manual range, the AUTO symbol will disappear.
Alarm Function
Press the
button to enable the alarm function after the HI and LOW limits are set. The
symbol will be displayed in the LCD.
If the resistance measured falls within the range of HI and LO limits, a symbol of PASS is shown in the LCD. If not, the buzzer will beep to indicate a fail.
If the reading is OL, the alarm function is temporarily disabled until a reading is obtained.
Alarm HI, LO, or Resistance per unit Setup
- Turn the rotary switch to SETUP.
- Press the SELECT button to select HI limit, LO limit or Resistance per unit
- Press the ZERO / RECALL button to step through existing limits (20 available) or to set a new limit.
- Press the SELECT button to select a displayed limit
- To set a new limit, press the ▲ or ▼ button to increment or decrement the displayed value. To increment or decrement value faster, press and hold the ▲ or ▼ button for over 2 seconds.
- Press the RANGE x10 button to move the decimal to the next position.
- To store the modified data, the SELECT button.
NOTE: If the reading of resistance is “OL”, the unit will not indicate PASS or beep. The alarm function works only when the resistance is within measuring range.
NOTE: The limits of HI and LO alarms are 0.001mΩ and 999.99Ω The limits of Resistance per unit are 0.001μΩ/ft (or m), 999.99Ω/m, 304.79Ω/ft
Cable Length Measurement
- Prepare a 1-foot or a 1-meter-long sample from the cable to be measured.
- Select the proper range of resistance and Zero the range before making measurements. Connect the Kelvin leads together and press the START / STOP button and then press the ZERO button. The reading should be zero Ohms.
- Connect the test leads to the sample of cable at the 1 foot or 1 meter length.
- Press the Ω/LENGTH button for over 2 seconds. The meter will beep and the LCD will display units of FT or m. The measured value is stored and used to determine cable length.
- If needed, press the FEET/METERS button to change the units. If the units are changed, press the Ω/LENGTH button for over 2 seconds again.
- Disconnect the sample cable and connect the Kelvin clips to the cable to be measured. The LCD will display the length of the cable.
- If “OL” appears in the display, select a higher range and press START.
Recalling pre-stored Ω/LENGTH data
There are up to 20 pre-stored Resistance per unit values stored into memory. These values can be recalled and used for cable length measurement.
- In SETUP mode, press the RECALL button to recall pre-stored data.
- Press the SELECT button until the resistance per unit values appear.
- Press the RECALL button to step through the stored values.
- Turn the rotary switch to the proper range and press START to measure the cable length.
NOTE:
The range of length is 0.0001 ft or m to 9999K ft or m.
When the cable is disconnected, OL Ω is displayed instead of OL FT or m.
When the resistance is 0, 0 Ω is shown instead of 0 FT or m.
If the length is less than 0.0001 feet or meters but greater than 0, 0.0001 feet or meters is shown.
Memory Record, Read and Clear
Record
- With a reading in the display, press the REC / READ button.
- The memory location number will flash on the display and the data will be stored to that location.
Read
- Turn the rotary switch to SETUP.
- Press the REC / READ button. The memory will flash and then the data in that location will be displayed.
- Press the ▲▼ buttons to scroll through stored data.
Clear
- Turn the meter off.
- Press and Hold the REC / READ button and simultaneously turn the meter on.
NOTE:
The memory capacity is 3000 data records. When 3000 records are exceeded, there will be a long beeping sound and no further data can be recorded.
Backlight
Press the
button to turn the backlight on or off.
Battery Charging
- The battery should be recharged when the
low battery icon appears in the display, after extended use or after a long period of storage. - Connect the AC Adaptor to the meter.
- Turn the rotary switch to an ON position
NOTE: The battery will not charge with the rotary switch in the OFF position
Battery Replacement
The charging circuit is designed only for the lithium battery included with the meter. A Non-approved lithium battery could cause damage to the instrument or hazard to the users.
Replacement battery part# BATT-111V
Never dispose of used batteries or rechargeable batteries in household waste.
As consumers, users are legally required to take used batteries to appropriate collection sites, the retail store where the batteries were purchased, or wherever batteries are sold. Disposal: Do not dispose of this instrument in household waste. The user is obligated to take end-of-life devices to a designated collection point for the disposal of electrical and electronic equipment.
Maintenance & Cleaning
- Servicing not covered in this manual should only be performed by qualified personnel. Repairs should only be performed by qualified personnel.
- Periodically wipe the case and cable with a damp cloth and detergent; do not use abrasives or solvents.
Specifications
General Specifications
LCD Display: 60000 count LCD with Backlight
Power Source: Rechargeable Lithium Battery, 3400mAh (11.1V) (Part # BATT-111V)
Battery Recharge Time: 10 hours
Battery Charge: AC 110V or 220V input, DC 15V / 1 to 3A output Please note the polarity of the DC output
Dimensions: 10.1×6.1×2.25” (257 x 155 x 57mm)
Weight: 40.0oz / 1160g/ (Batteries included)
Operation temperature and humidity: 32°F to 122°F (0°C to 50°C), 85% RH
Storage temperature and humidity: -4°F to 140°F (-20°C to 60°C), 75% RH
Manual Range: Electrical Specifications (23 °C ± 5 °C)
| Range | Resolution | Accuracy (% of Reading) | |
| 10 A | 400μΩ to 4000μΩ | 1 μΩ | ±(0.25%±25μΩ) |
| 1.500mΩ to 16.000mΩ | |||
| 5.000mΩ to 60.000mΩ | |||
| 1 A | 4.00mΩ to 40.00mΩ | 10μΩ | ±(0.25%±250μΩ) |
| 15.00mΩ to 160.00mΩ | |||
| 50.00mΩ to 600.00mΩ | |||
| 100 mA | 0.0400Ω to 0.4000Ω | 100μΩ | ±(0.25%±2.5mΩ) |
| 0.1500Ω to 1.6000Ω | |||
| 0.5000Ω to 6.0000Ω | |||
| 10 mA | 0.400Ω to 4.000Ω | 1 mΩ | ±(0.25%±25mΩ) |
| 1.500Ω to 16.000Ω | |||
| 5.000Ω to 60.000Ω | |||
| 1 mA | 4.00Ω to 40.00Ω | 10 mΩ | ±(0.25%±250mΩ) |
| 15.00Ω to 160.00Ω | |||
| 50.00Ω to 600.00Ω | |||
| 100μA | 0.0400kΩ to 0.4000kΩ | 100 mΩ | ±(0.75%±3Ω) |
| 0.1500kΩ to 1.6000kΩ | |||
| 0.5000kΩ to 6.0000kΩ | |||
Auto Range:
| Range | Resolution | Accuracy (% of Reading) | |
| 10A | 400μΩ to 60.000mΩ | 1μΩ | ±(0.25%±25μΩ) |
| 1 A | 4.00mΩ to 600.00mΩ | 10μΩ | ±(0.25%±250μΩ) |
| 100 mA | 0.0400Ω to 6.0000Ω | 100μΩ | ±(0.25%±2.5mΩ) |
| 10 mA | 0.400Ω to 60.000Ω | 1mΩ | ±(0.25%±25mΩ) |
| 1 mA | 4.00Ω to 600.00Ω | 10mΩ | ±(0.25%±250mΩ) |
| 100μA | 0.0400kΩ to 6.0000kΩ | 100mΩ | ±(0.75%±3Ω) |
Copyright © 2013-2019 FLIR Systems, Inc.
All rights reserved including the right of reproduction in whole or in part in any form ISO-9001 Certified
www.extech.com


button: Press this button to enable/disable the backlight.
















