Defender™ 3000 Series Base
Instruction Manual
INTRODUCTION
This manual covers installation, and maintenance instructions for the OHAUS Defender™ Series Base. Please read this manual completely before installation and operation.
SAFETY PRECAUTIONS
For safe and dependable operation of this product, please comply with the following precautions:
- Operate the base only under ambient conditions specified in these instructions
- Ensure that the load cell cable does not pose an obstruction or tripping hazard
- Do not operate the base in hazardous environments or unstable locations
- Do not drop loads on the base
- Do not lift the base by the top frame; always lift from the bottom frame when moving the base
- Service should only be performed by authorized personnel
INSTALLATION
Unpacking
Unpack and inspect the product to make sure that all components have been included.
The package includes the following:
- Defender™ Series Base
- Weighing Pan
- Instruction Manual
When purchased as a complete Defender Series Scale, the package will also include:
- Indicator
- Column Kit (Front-mount Kit)
ASSEMBLY
Weighing Pan
Remove the shipping spacers, and place the weighing pan securely over the rubber load pads on the top frame of the base.
Note: Not included with some models
Wiring Connections
When connecting the base to an OHAUS indicator equipped with the matching circular connector, push the base connector onto the indicator connector and turn the locking ring clockwise to lock it in place.
When connecting the base to an indicator that does not have the matching connector, install the optional load cell cable adapter (P/N 30429931 sold separately) to the indicator using the wiring codes in Table 1. Then attach the load cell cable to the cable adapter.
Note: As an alternate wiring method, cut off the connector, strip the wires and attach them to the indicator using the wiring codes in Table 1.
The extension cable accessory (P/N: 30429931) cannot be used if the scale will be used in a legal for trade or legally controlled application, because there is no provision to seal the connection between the indicator and platform.
If your base does not support EasyConnect™ , please refer to the indicator’s manual for how to connect load cell connector.
TABLE 1. LOAD CELL CONNECTION
Type1. For model i-DxxxB1R, i-DxxxB1L base
| FUNCTION | WIRE COLOR |
| + Excitation | Red |
| – Excitation | Black |
| + Signal | Blue |
| – Signal | White |
| Shield | Transparent |
Type1. For model i-DxxxB1X, i-DxxxB1V base
| FUNCTION | WIRE COLOR |
| + Excitation | Red |
| – Excitation | Black |
| + Signal | Green |
| – Signal | White |
| + Sense | Blue |
| – Sense | Yellow |
| Shield | Transparent |
Type2. For model i-DxxxC1x base
| FUNCTION | WIRE COLOR |
| + Excitation | Green |
| – Excitation | Black |
| + Signal | Red |
| – Signal | White |
| + Sense | Blue |
| – Sense | Brown |
| Shield | Yellow |
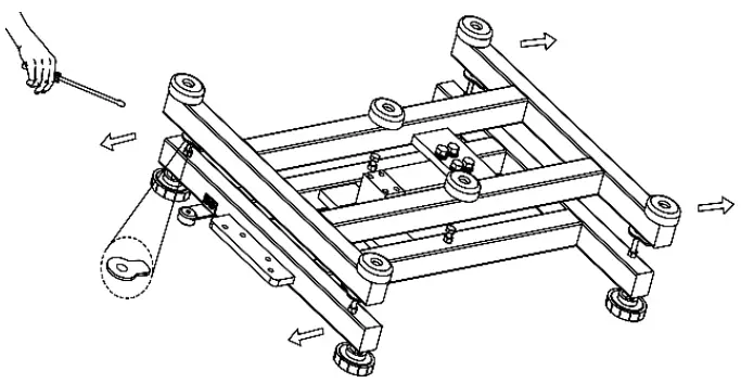
Selecting the Location
To ensure accuracy, proper performance and safety, locate and operate the base on a stable, level surface. Avoid locations with rapid temperature changes or excessive dust, air currents, vibrations, electromagnetic fields or heat.
Level the base by adjusting the four leveling feet until the bubble in the level indicator is centered. A wrench may be needed to loosen the locking nut above each leveling foot. When the base is level, retighten the locking nuts up against the base to lock each foot into place.
Note: Ensure that the base is level each time its location is changed.![]()
MAINTENANCE
Cleaning
The base components should be kept clean and free of excessive material build up.
- A damp cloth with water and a mild detergent may be used to wipe clean the external surfaces – do not use acids, alkalis, strong solvents or abrasive materials.
To maintain surface integrity, do not allow debris to remain on the surface of the painted or stainless steel base frame. - Remove the pan and use fresh water to clean the base frame surface of any debris. Dry the base with a clean cloth or allow to air dry before replacing the pan. Repeat daily for best care.
Troubleshooting
Aside from installing components and leveling adjustments, the Defender Series Base does not require any other adjustments as shipped from the factory.
Operational difficulties that may be encountered can often be traced to simple causes such as:
- Loose or incorrect wiring connections
- Failure to remove the shipping spacers
- Obstructions to the base frame
- Unstable environments
- Incorrect calibration or setup of the indicator
If the troubleshooting section does not resolve or describe your problem, contact your authorized OHAUS service agent. For service assistance or technical support in the United States, call toll-free 1-800-526-0659 between 8:00 AM and 5:00 PM EST. An OHAUS product service specialist will be available to provide assistance. Outside the USA, please visit our web site, www.ohaus.com to locate the OHAUS office nearest you.
TECHNICAL DATA
Technical Specifications
The technical data is valid under the following ambient conditions:
Operating temperature: -10ºC to +40 ºC (14 °F to 104 °F)
Relative humidity: maximum relative humidity 80% for temperatures up to 31 °C decreasing linearly to 50% relative humidity at 40°C.
Altitude: Up to 2,000m
Pollution degree: 2
Note: Not all models may be available in your area. Check with your local OHAUS representative.
TABLE 2.1 SPECIFICATIONS
| Model | i-D15B1R | i-D30B1R | i-D60B1R | i-D60B1L | i-D150B1L | i-D150B1X | i-D300B1X | i-D300B1V | i-D600B1V |
| Capacity | 15 kg | 30 kg | 60 kg | 60 kg | 150 kg | 150kg | 300 kg | 300 kg | 600 kg |
| Approved Resolution | OIML 3000e | ||||||||
| Safe Overload Capacity | 150% of capacity | ||||||||
| Pan Dimensions | 305 x 355 mm | 420 x 550 mm | 500 x 650 mm | 600 x 800 mm | |||||
| Base Construction | Stainless Steel platform with carbon steel frame and rubber leveling feet | ||||||||
| Load Cell Capacity | 30 kg | 50 kg | 100 kg | 100 kg | 250 kg | 250kg | 500 kg | 500kg | 750kg |
| Load Cell Cable | 2 m L x 4-wire | 3 m L x 6-wire | |||||||
| Load Cell Type | 350 Ohm aluminum single point | ||||||||
| Load Cell Excitation | 5-12V DC/AC | ||||||||
| Load Cell Rated Output | 2 mV/V | ||||||||
| Net Weight | 7 kg / 15.9 lb | 13 kg / 28.8 lb | 23 kg / 51.2 lb | 41 kg / 90.6 lb | |||||
| Shipping Weight | 10 kg / 22.5 lb | 17 kg / 37.8 lb | 27 kg / 58.9 lb | 45 kg / 99.4 lb | |||||
| Load Cell Protection | IP65 | ||||||||
TABLE 2.2 SPECIFICATIONS
| Model | i-D15C1R | i-D30C1R | i-D60C1R | i-D60C1L | i-D150C1L | i-D150C1X | i-D300C1X |
| Capacity | 15 kg | 30 kg | 60 kg | 60 kg | 150 kg | 150 kg | 300 kg |
| Approved Resolution | OIML 3000e | ||||||
| Safe Overload Capacity | 150% of capacity | ||||||
| Pan Dimensions | 305 x 355 mm | 420 x 550 mm | 500 x 650 mm | ||||
| Base Construction | Stainless Steel platform with stainless steel frame and rubber leveling feet | ||||||
| Load Cell Capacity | 30 kg | 50 kg | 100 kg | 100 kg | 300 kg | 300 kg | 500 kg |
| Load Cell Cable | 2 m L x 6-wire | ||||||
| Load Cell Type | 350 Ohm Stainess steel single point | ||||||
| Load Cell Excitation | 5-15V DC/AC | ||||||
| Load Cell Rated Output | 2 mV/V | ||||||
| Net Weight | 8 kg / 17.1 lb | 14 kg / 30.7 lb | 27 kg / 58.5 lb | ||||
| Shipping Weight | 11 kg / 23.7 lb | 18 kg / 39.6 lb | 30 kg / 66.2 lb | ||||
| Load Cell Protection | IP67 | ||||||
TABLE 2.3 SPECIFICATIONS
| Model | i-D15B1R | i-D30B1R | i-D75B1R | i-D75B1L | i-D150B1L | i-D150B1X | i-D300B1X | i-D300B1V | i-D600B1V |
| Capacity | 30 lb / | 60 lb / | 150 lb / | 150 lb / | 300 lb / 150 | 300 lb / | 600 lb / | 600 lb / | 1200 lb / |
| 15 kg | 30 kg | 75 kg | 75 kg | kg | 150kg | 300 kg | 300 kg | 600 kg | |
| Approved | NTEP and measurement Canada 3000e | ||||||||
| Resolution | |||||||||
| Safe Overload | 150% of capacity | ||||||||
| Capacity | |||||||||
| Pan Dimensions | 305 x 355 mm | 420 x 550 mm | 500 x 650 mm | 600 x 800 mm | |||||
| Base Construction | Stainless Steel platform with carbon steel frame and rubber leveling feet | ||||||||
| Load Cell Capacity | 30 kg | 50 kg | 100 kg | 100 kg | 250 kg | 250kg | 500 kg | 500kg | 750kg |
| Load Cell Cable | 2 m L x 4-wire | 3 m L x 6-wire | |||||||
| Load Cell Type | 350 Ohm aluminum single point | ||||||||
| Load Cell Excitation | 5-12V DC/AC | ||||||||
| Load Cell Rated Output | 2 mV/V | ||||||||
| Net Weight | 7 kg / 15.9 lb | 13 kg / 28.8 lb | 23 kg / 51.2 lb | 41 kg / 90.6 lb | |||||
| Shipping Weight | 10 kg / 22.5 lb | 17 kg / 37.8 lb | 27 kg / 58.9 lb | 45 kg / 99.4 lb | |||||
| Load Cell Protection | IP65 | ||||||||
TABLE 2.4 SPECIFICATIONS
| Model | i-D15C1R | i-D30C1R | i-D75C1R | i-D75C1L | i-D150C1L | i-D150C1X | i-D300C1X |
| Capacity | 30 lb / 15 kg | 60 lb / 30 kg | 150 lb / 75 kg | 150 lb / 75 kg | 300 lb / 150 kg | 300 lb / 150 kg | 600 lb / 300 kg |
| Approved Resolution | NTEP and measurement Canada 3000e | ||||||
| Safe Overload Capacity | 150% of capacity | ||||||
| Pan Dimensions | 305 x 355 mm | 420 x 550 mm | 500 x 650 mm | ||||
| Base Construction | Stainless Steel platform with stainless steel frame and rubber leveling feet | ||||||
| Load Cell Capacity | 30 kg | 50 kg | 100 kg | 100 kg | 300 kg | 300 kg | 500 kg |
| Load Cell Cable | 2 m L x 6-wire | ||||||
| Load Cell Type | 350 Ohm Stainess steel single point | ||||||
| Load Cell Excitation | 5-15V DC/AC | ||||||
| Load Cell Rated Output | 2 mV/V | ||||||
| Net Weight | 8 kg / 17.1 lb | 14 kg / 30.7 lb | 27 kg / 58.5 lb | ||||
| Shipping Weight | 11 kg / 23.7 lb | 18 kg / 39.6 lb | 30 kg / 66.2 lb | ||||
| Load Cell Protection | IP67 | ||||||
Drawings
TABLE 3. DIMENSIONS
| Base | A | B | C | D |
| Pan Depth | Pan Width | Height of Pan to Surface of Table | Height of Pan | |
| i-DxxxB1R | 355 mm / 14.0 in | 305 mm / 12.0 in | 128 mm / 5.3 in | 75mm / 3.0 in |
| i-DxxxB1L | 550 mm / 21.7 in | 420 mm / 16.5 in | 140 mm / 5.5 in | 80 mm / 3.1in |
| i-DxxxB1X | 650 mm / 25.6 in | 500 mm / 19.7 in | 150 mm / 5.9 in | 90 mm / 3.5 in |
| i-DxxxB1V | 800 mm / 31.5 in | 600 mm / 23.6 in | 154 mm / 6.1 in | 90 mm / 3.5 in |
| i-DxxxC1R | 355 mm / 14.0 in | 305 mm / 12.0 in | 128 mm / 5.0 in | 75mm / 3.0 in |
| i-DxxxC1L | 550 mm / 21.7 in | 420 mm / 16.5 in | 140 mm / 5.5 in | 80 mm / 3.1in |
| i-DxxxC1X | 650 mm / 25.6 in | 500 mm / 19.7 in | 150 mm / 5.9 in | 90 mm / 3.5 in |
*For leveling purposes, the feet may be extended up to an additional 15 mm.
COMPLIANCE
Compliance to the following standards is indicated by the corresponding mark on the product.
Mark | Standard |
| This product complies with the applicable harmonized standards of EU Directives 2011/65/EU (RoHS). The EU Declaration of Conformity is available online at www.ohaus.com/ce. | |
| This product complies with the applicable statutory standards of the Restriction of the Use of Certain Hazardous Substances in Electrical and Electronic Equipment Regulations 2012. The UK Declaration of Conformity is available online at www.ohaus.com/uk- declarations. | |
| This product complies with the EU Directive 2012/19/EU (WEEE). Please dispose of this product in accordance with local regulations at the collecting point specified for electrical and electronic equipment. For disposal instructions in Europe, refer to www.ohaus.com/weee. |
ISO 9001 Registration
The management system governing the production of this product is ISO 9001 certified.
ACCESSORIES
TABLE 4. ACCESSORIES
| Part Number | Description |
| 30616409 | Wheel Kit Defender Series SST |
| 30372146 | Wheel Kit Defender Series CS |
| 30696595 | Column Assembly 330mm SST i-D33 |
| 30696596 | Column Assembly 680mm SST i-D33 |
| 30696597 | Column Assembly 330mm CS i-D33 |
| 30696598 | Column Assembly 680mm CS i-D33 |
| 30696599 | Column Assembly 980mm CS i-D33 |
| 30696600 | Front Mount Kit i-D33 |
LIMITED WARRANTY
OHAUS products are warranted against defects in materials and workmanship from the date of delivery through the duration of the warranty period. During the warranty period OHAUS will repair, or, at its option, replace any component(s) that proves to be defective at no charge, provided that the product is returned, freight prepaid, to OHAUS. This warranty does not apply if the product has been damaged by accident or misuse, exposed to radioactive or corrosive materials, has foreign material penetrating to the inside of the product, or as a result of service or modification by other than OHAUS. In lieu of a properly returned warranty registration card, the warranty period shall begin on the date of shipment to the authorized dealer. No other express or implied warranty is given by OHAUS Corporation. OHAUS Corporation shall not be liable for any consequential damages.
As warranty legislation differs from state to state and country to country, please contact OHAUS or your local OHAUS dealer for further details
OHAUS Corporation
7 Campus Drive
Suite 310
Parsippany, NJ 07054, USA
Tel: (973) 377-9000
Fax: (973) 944-7177
With offices worldwide: www.ohaus.com
P/N 30696555A © 2021 OHAUS Corporation, all rights reserved


















