GWN7832 Layer 3 Aggregation Managed Switch

Product Information: GWN7832 Layer 3 Aggregation Managed Switch
The GWN7832 is a Layer 3 Aggregation Managed Switch manufactured by Grandstream Networks Inc. It has 12x 10Gbps SFP+ ports and supports external RPS (Redundant Power Supply) which is sold separately. The switch also has LED indicators for various functions such as power, port status, and system status.
Package Contents
- 1x GWN7832 Switch
- 4x Rubber Footpads
- 1x 25cm Ground Cable
- 1x Quick Installation Guide
- 1x 1.2m (10A) AC Cable
- 1x Power Cord Anti-Trip
- 2x Rack Mounting Kits
- 8x Screws (KM 3*6)
Ports & LED Indicators:
The switch has the following ports and LED indicators:
| No. | Port & LED | Description |
|---|---|---|
| 1 | SFP+ 1-12 | 12x 10Gbps SFP+ ports |
| 2 | SFP+ ports’ LED indicators 1-12 | LED indicators for SFP+ ports |
| 3 | CONSOLE | 1x Console port, used for connecting managing PC |
| 4 | RST | Factory Reset pinhole. Press for 5 seconds to reset factory default settings |
| 5 | PWR | Internal power supply LED indicator |
| 6 | RPS | Secondary external power supply LED indicator |
| 7 | SYS | System LED indicator |
| 8 | Grounding terminal | |
| 9 | 100-240VAC 50-60Hz | Power socket |
| 10 | Power cord anti-trip hole | |
| 11 | External RPS power outlet | |
| 12 | External RPS power cord anti-trip hole | |
| 13 | External power supply rubber plug | |
| 14 | Fan | 2x Fans |
LED Indicator:
The switch has LED indicators for various functions as shown below:
| LED Indicator | Status | Description |
|---|---|---|
| PWR/RPS Indicator | Off | Power off |
| Solid green | Booting | |
| Flashing green | Upgrade | |
| Solid blue | Normal use | |
| Flashing blue | Provisioning | |
| Solid red | Upgrade failed | |
| Flashing red | Factory reset | |
| Port off | ||
| Port Indicator | Solid green | Port with 10Gbps connected and there is no activity |
| Flashing green | Port with 10Gbps connected and data is transferring | |
| Solid yellow | Port with 1Gbps connected and there is no activity | |
| Flashing yellow | Port with 1Gbps connected and data is transferring | |
| Off | Unused or failure | |
| System Indicator | Solid green | In use |
| Solid red | Overvoltage or undervoltage |
Product Usage Instructions
Grounding the Switch:
- Remove the ground screw from the back of switch, and connect one end of the ground cable to the wiring terminal of switch.
- Put the ground screw back into the screw hole, and tighten it with a screwdriver.
- Connect the other end of the ground cable to other device that has been grounded or directly to the terminal of the ground bar in the equipment room.
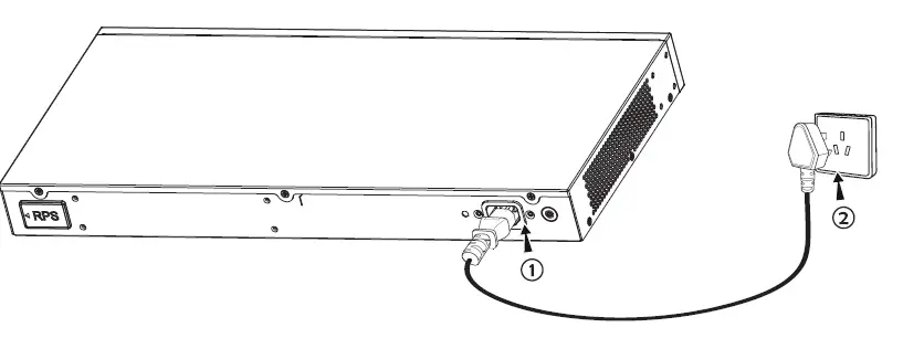
Powering on the Switch:
Connect the power cable and the switch first, then connect the power cable to the power supply system of the equipment room.
Connecting Power Cord Anti-Trip:
- Force the head of the fixing strap tightly into the hole next to the power socket until it’s buckled on the shell without falling off.
- After plugging the power cord into the power outlet, slide the protector over the remaining strap until it slides over the end of the power cord.
- Wrap the strap of the protective cord around the power cord and lock it tightly. Fasten the straps until the power cord is securely fastened.
Port Connecting:
To connect to SFP+ port, follow the installation process of the fiber module as follows:
- Insert the fiber module into the SFP+ port.
- Connect one end of the fiber cable to the fiber module and the other end to another network device.
Ports & LED Indicators:
The switch has the following ports and LED indicators:
Front Panel
Back Panel 
Side Panel 
| No. | Port & LED | Description |
| 1 | SFP+ 1-12 | 12x 10Gbps SFP+ ports |
| 2 | 1-12 | SFP+ ports’ LED indicators |
| 3 | CONSOLE | 1x Console port, used for connecting managing PC |
| 4 | RST | Factory Reset pinhole. Press for 5 seconds to reset factory default settings |
| 5 | PWR | Internal power supply LED indicator |
| 6 | RPS | Secondary external power supply LED indicator |
| 7 | SYS | System LED indicator |
| 8 | ![]() | Grounding terminal |
| 9 | 100-240VAC 50-60Hz | Power socket |
| 10 | ![]() | Power cord anti-trip hole |
| 11 | ![]() | External RPS power outlet |
| 12 | ![]() | External RPS power cord anti-trip hole |
| 13 | ![]() | External power supply rubber plug |
| 14 | Fan | 2x Fans |
Note: External RPS (Redundant Power Supply) is sold separately.
LED Indicator
| LED Indicator | Status | Description |
| System Indicator | Off | Power off |
| Solid green | Booting | |
| Flashing green | Upgrade | |
| Solid blue | Normal use | |
| Flashing blue | Provisioning | |
| Solid red | Upgrade failed | |
| Flashing red | Factory reset | |
| Port Indicator | Off | Port off |
| Solid green | Port with 10Gbps connected and there is no activity | |
| Flashing green | Port with 10Gbps connected and data is transferring | |
| Solid yellow | Port with 1Gbps connected and there is no activity | |
| Flashing yellow | Port with 1Gbps connected and data is transferring | |
| PWR/RPS Indicator | Off | Unused or failure |
| Solid green | In use | |
| Solid red | Overvoltage or under voltage |
POWERING & CONNECTING
Grounding the Switch
- Remove the ground screw from the back of switch, and connect one end of the ground cable to the wiring terminal of switch.
- Put the ground screw back into the screw hole, and tighten it with a screwdriver.
- Connect the other end of the ground cable to other device that has been grounded or directly to the terminal of the ground bar in the equipment room.

Powering on the Switch
Connect the power cable and the switch first, then connect the power cable to the power supply system of the equipment room.
Connecting Power Cord Anti-Trip
In order to protect the power supply from accidental disconnection, it’s recommended to use a power cord anti-trip for installation.


- Force the head of the fixing strap tightly into the hole next to the power socket until it’s buckled on the shell without falling off.
- After plugging the power cord into the power outlet, slide the protector over the remaining strap until it slides over the end of the power cord.
- Wrap the strap of the protective cord around the power cord and lock it tightly. Fasten the straps until the power cord is securely fastened.
PORT CONNECTING
Connect to SFP+ Port
The installation process of the fiber module is as follows:
- Grasp the fiber module from the side and insert it smoothly along the switch SFP+ port slot until the module is in close contact with the switch.
- When connecting, pay attention to confirm the Rx and Tx ports of SFP+ fiber module. Insert one end of the fiber into the Rx and Tx ports correspondingly, and connect the other end to another device.
- After powered on, check the status of the port indicator. If on, it means that the link is connected normally; if off, it means the link is disconnected, please check the cable and the peer device whether is enabled.

Notes:
- Please select the optical fiber cable according to the module type. The multi-mode module corresponds to the multi-mode optical fiber, and the single-mode module corresponds to the single-mode optical fiber.
Please select the same wavelength optical fiber cable for connection. - Please select an appropriate optical module according to the actual networking situation to meet different transmission distance requirements.
- The laser of the first-class laser products is harmful to eyes. Do not look directly at the optical fiber connector.
Connect to Console Port
- Connect the console cable (prepared by yourself) to the DB9 male connector or USB port to the PC.
- Connect the other end of the RJ45 end of the console cable to the console port of switch.

Notes:
- To connect, the steps order (1 -> 2) must be respected.
- To disconnect, the steps order is reversed (2 -> 1).
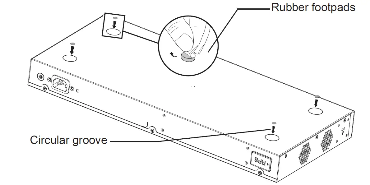
INSTALLATION Install on the Desktop
- Place the bottom of switch on a sufficiently large and stable table.
- Peel off the rubber protective paper of the four footpads one by one, and stick them in the corresponding circular grooves at the four corners of the bottom of the case.
- Flip the switch over and place it smoothly on the table.

Install on a 19” Standard Rack
- Check the grounding and stability of the rack.
- Install the two L-shaped rack-mounting in the accessories on both sides of switch, and fix them with the screws provided (KM 3*6).
- Place the switch in a proper position in the rack and support it by the bracket.
- Fix the L-shaped rack-mounting to the guide grooves at both ends of the rack with screws (prepared by yourself) to ensure that the switch is stable and horizontally installed on the rack.

Note
To avoid high temperatures and keep the device cool, sufficient space should be left around the switch for heat dissipation. The air inlet of the switch cannot face or be close to the air outlet of other devices. 
ACCESS & CONFIGURE
Note: If no DHCP server is available, the GWN7832 default IP address is 192.168.0.254.
Method 1: Login using the Web UI
- A PC uses a network cable to correctly connect any RJ45 port of the switch.
- Set the Ethernet (or local connection) IP address of the PC to 192.168.0.x (“x” is any value between 1-253), and the subnet mask to 255.255.255.0, so that it is in the same network segment with switch IP address. If DHCP is used, this step could be skipped.
- Type the switch’s management IP address http://<gwn7832_IP> in the browser, and enter username and password to login. (The default administrator username is “admin” and the default random password can be found at the sticker on the GWN7832 switch).

Method 2: Login using the Console port
- Use the console cable to connect the console port of switch and the serial port of PC.
- Open the terminal emulation program of PC (e.g. SecureCRT), enter the default username and password to login. (The default administrator username is “admin” and the default random password can be found at the sticker on the GWN7832 switch).
Method 3: Login Remotely using SSH/Telnet
- Turn on the Telnet of the switch.
- Enter “cmd” in PC/Start.
- Enter telnet <gwn7832_IP> in the cmd window.
- Enter the default username and password to login. (The default administrator username is “admin” and the default random password can be found at the sticker on the GWN7832 switch).
Method 4: Configure using GWN.Cloud / GWN Manager
Type https://www.gwn.cloud (https://<gwn_manager_IP> for GWN Manager) in the browser, and enter the account and password to login the cloud platform. If you don’t have an account, please register first or ask the administrator to assign one for you.
The GNU GPL license terms are incorporated into the device firmware and can be accessed via the Web user interface of the device at my_device_ip/gpl_license. It can also be accessed here: https://www.grandstream.com/legal/open-source-software To obtain a CD with GPL source code information please submit a written request to: [email protected]
Refer to online documents and FAQ for more detailed information: https://www.grandstream.com/our-products
























