GRANDSTREAM GWN7806 Enterprise Layer 2 Plus Stackable Managed Network Switch Instruction Manual

OVERVIEW
The GWN7806(P) is layer 2+ stackable managed switch that allows small-to-medium enterprises to build scalable, secure, high performance and smart business networks that are fully manageable. It supports advanced VLAN for flexible and sophisticated traffic segmentation, advanced QoS for priori- tization of network traffic, IGMP/MLD Snooping for network performance optimization, and compre- hensive security capabilities against potential attacks. The GWN7806P provides smart dynamic PoE output to power IP phones, IP cameras, Wi-Fi access points and other PoE endpoints. GWN7806(P) is easy to deploy and manage, including managed by the local Web user interface of the GWN7806(P) switch and CLI, the command-line interface. The switch is also supported by GWN.Cloud and GWN Manager, Grandstream’s cloud and on-premise network management platform. The GWN7806(P) is the best value enterprise-grade managed network switch for small-to-medium businesses.
PRECAUTIONS
- Do not attempt to open, disassemble, or modify the
- Do not expose this device to temperature outside range of 0 °C to 45 °C for operation and -10 °C to 60 °C for storage.
- Do not expose this device to environments outside of the following humidity range: 10-90% RH (non- condensing) for operation and 10-90% RH (non-condensing) for storage.
- Do not power cycle your GWN7806(P) during system boot up or firmware You may corrupt firmware images and cause the unit to malfunction.
PACKAGE CONTENTS
PORTS & LED INDICATORS
| No. | Port & LED | Description |
| 1 | Port 1-48 | 48x Ethernet RJ45(10/100/1000Mbps), used for connecting terminals Note: GWN7806P Ethernet ports support PoE/PoE+ |
| 2 | 1-48 | Ethernet ports’ LED indicators |
| 3 | Port SFP+ 49-54 | 6x 10Gbps SFP+ ports |
| 4 | SFP+ 49-54 | SFP+ ports’ LED indicators |
| 5 | Console | 1x Console port, used to connect a PC directly to the switch and manage it. |
| 6 | RST | Factory Reset pinhole Press for 5 seconds to reset factory default settings |
| 7 | SYS | System LED indicator |
| 8 | Power cord anti-trip hole | |
| 9 | 100-240VAC 50-60Hz | Power socket |
| 10 | Grounding terminal | |
| 11 | Fan | 3x Fans |
LED Indicator
| LED Indicator | Status | Description |
|
System Indicator | Off | Power off |
| Solid green | Booting | |
| Flashing green | Upgrade | |
| Solid blue | Normal use | |
| Flashing blue | Provisioning | |
| Solid red | Upgrade failed | |
| Flashing red | Factory reset | |
|
Port Indicator | Off | For all ports, port off & For SFP+ ports, port failure |
| Solid green | Port connected and there is no activity | |
| Flashing green | Port connected and data is transferring | |
| Solid yellow | Ethernet port connected and PoE powered | |
| Flashing yellow | Ethernet port connected, data is transferring and PoE powered | |
| Alternately flashing yellow and green | Ethernet port failure |
POWERING & CONNECTING
Grounding the Switch
- Remove the ground screw from the back of switch, and connect one end of the ground cable to the wiring terminal of
- Put the ground screw back into the screw hole, and tighten it with a screwdriver.

Notes:
- Please select the optical fiber cable according to the module The multi-mode module corresponds to the multi-mode optical fiber, and the single-mode module corresponds to the single-mode optical fiber.
- Please select the same wavelength optical fiber cable for
- Please select an appropriate optical module according to the actual networking situation to meet different transmission distance
- Connect the other end of the ground cable to other device Ground Bar that has been grounded or directly to the terminal of the ground bar in the equipment room.
Powering on the Switch
Connect the power cable and the switch first, then connect the power cable to the power supply system of the equipment room.
Connecting Power Cord Anti-Trip
In order to protect the power supply from accidental disconnection, it’s recommended to use a power cord anti-trip for installation.
- Force the head of the fixing strap tightly into the hole next to the power socket until it’s buckled on the shell without falling
- After plugging the power cord into the power outlet, slide the protector over the remaining strap until it slides over the end of the power
- Wrap the strap of the protective cord around the power cord and lock it tightly. Fasten the straps until the power cord is securely fastened.
PORT CONNECTING
In order to protect the power supply from accidental disconnection, it’s recommended to use a power cord anti-trip for installation.
- Force the head of the fixing strap tightly into the hole next to the power socket until it’s buckled on the shell without falling
- After plugging the power cord into the power outlet, slide the protector over the remaining strap until it slides over the end of the power
- Wrap the strap of the protective cord around the power cord and lock it tightly. Fasten the straps until the power cord is securely fastened.
Connect to RJ45 Port
- Connect one end of the network cable to the switch, and the other end to the peer
- After powered on, check the status of the

Connect to SFP+ Port
In order to protect the power supply from accidental disconnection, it’s recommended to use a power cord anti-trip for installation.
- Force the head of the fixing strap tightly into the hole next to the power socket until it’s buckled on the shell without falling
- After plugging the power cord into the power outlet, slide the protector over the remaining strap until it slides over the end of the power
- Wrap the strap of the protective cord around the power cord and lock it tightly. Fasten the straps until the power cord is securely fastened.

Notes:
- Please select the optical fiber cable according to the module The multi-mode module corresponds to the multi-mode optical fiber, and the single-mode module corresponds to the single-mode optical fiber.
- Please select the same wavelength optical fiber cable for
- Please select an appropriate optical module according to the actual networking situation to meet different transmission distance
Connect to Console Port
- Connect the console cable (prepared by yourself) to the DB9 male connector or USB port to the PC.
Connect the other end of the RJ45 end of the console cable to the console port of switch
Notes:
- To connect, the steps order (1 -> 2) must be
- To disconnect, the steps order is reversed (2 -> 1).
INSTALLATION
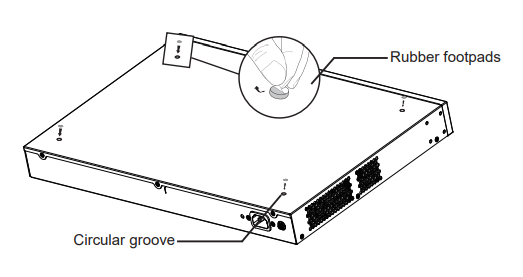
Install on the Desktop
- Place the bottom of switch on a sufficiently large and stable table.
- Peel off the rubber protective paper of the four footpads one by one, and stick them in the corresponding circular grooves at the four corners of the bottom of the
- Flip the switch over and place it smoothly on the table.

Install on a 19” Standard Rack
- Check the grounding and stability of the rack.
- Install the two L-shaped rack-mounting in the accessories on both sides of switch, and fix them with the screws provided (KM 3*6).
- Place the switch in a proper position in the rack and support it by the bracket
- Fix the L-shaped rack-mounting to the guide grooves at both ends of the rack with screws (prepared by yourself) to ensure that the switch is stable and horizontally installed on the

ACCESS & CONFIGURE
Note: If no DHCP server is available, the GWN7806(P) default IP address is 192.168.0.254.
Method 1: Login using the Web UI
- A PC uses a network cable to correctly connect any RJ45 port of the
- Set the Ethernet (or local connection) IP address of the PC to 192.168.0.x (“x” is any value between 1-253), and the subnet mask to 255.255.255.0, so that it is in the same network segment with switch IP address. If DHCP is used, this step could be

- Type the switch’s management IP address http://<gwn7806(P)_IP> in the browser, and enter username and password to (The default administrator username is “admin” and the default random password can be found at the sticker on the GWN7806(P) switch).
Method 2: Login using the Console port
- Use the console cable to connect the console port of switch and the serial port of
- Open the terminal emulation program of PC (e.g. SecureCRT), enter the default username and password to (The default administrator username is “admin” and the default random password can be found at the sticker on the GWN7806(P) switch).
Method 3: Login Remotely using SSH/Telnet
- Turn on the Telnet of the
- Enter “cmd” in PC/Start.
- Enter telnet <gwn7806(P)_IP> in the cmd
- Enter the default username and password to (The default administrator username is “admin” and the default random password can be found at the sticker on the GWN7806(P) switch).
Method 4: Configure using GWN.Cloud / GWN Manager
Type https://www.gwn.cloud (https://<gwn_manager_IP> for GWN Manager) in the browser, and enter the account and password to login the cloud platform. If you don’t have an account, please register first or ask the administrator to assign one for you.
The GNU GPL license terms are incorporated into the device firmware and can be accessed via the Web user interface of the device at my_device_ip/gpl_license. It can also be accessed here: https://www.grandstream.com/legal/open-source-software To obtain a CD with GPL source code information please submit a written request to: [email protected]Refer to online documents and FAQ for more detailed information: https://www.grandstream.com/our-product





























